技术说明:
文中涉及的汇编代码采用AT&T汇编语法
本文内容基于32位x86架构,其他架构可能存在差异
适合有一定汇编和操作系统基础的读者
引言
操作系统的内存管理是计算机系统最核心的组成部分之一,它直接影响着系统的性能、稳定性和安全性。从早期8080处理器的简单线性寻址,到现代x86架构复杂的段页式混合管理,内存管理技术经历了深刻的变革。
本文将带你深入探索这一演进过程,理解每个阶段的设计思想、技术特点以及历史局限性,帮助你构建完整的内存管理知识体系。
地址空间基础概念
在深入探讨具体的内存管理机制之前,我们需要明确几个核心概念:
关键地址类型
物理地址(Physical Address)
处理器地址总线上实际产生的地址
直接对应物理内存或I/O设备的位置
重要提醒:物理地址空间不仅包含内存,还包括ROM、存储控制器、网络设备等
线性地址/虚拟地址(Linear/Virtual Address)
处理器可寻址的连续地址空间
在未启用分页时,线性地址等同于物理地址
启用分页后,需要通过页表转换为物理地址
逻辑地址(Logical Address)
程序执行时使用的地址格式
由段选择器和偏移量组成(段:偏移)
需要通过段机制转换为线性地址
虚拟内存(Virtual Memory)
基于分页技术的内存管理抽象
支持按需调页,数据可存储在外部存储设备
显著提高内存利用效率和系统并发能力
内存管理技术演进历程
第一阶段:线性地址模式(8080时代)
技术特点:
地址空间:16位地址,最大64KB寻址能力
寻址方式:直接物理地址访问,无地址转换
内存管理:无保护机制,程序直接操作物理内存
适用场景:单任务系统,内存需求简单
这种简单直接的方式虽然效率高,但缺乏保护机制,无法支持多任务操作系统。
第二阶段:段寄存器寻址(8086实模式)
8086处理器(1978年)首次引入段机制,标志着内存管理技术的重要突破。
核心创新
引入地址转换机制
使用”段寄存器 + 偏移量”的二维寻址方式
将20位物理地址空间划分为可重叠的段
扩展寻址能力
从64KB扩展到1MB(20位地址线)
单个段仍限制在64KB内
段寄存器体系
| 段寄存器 | 全称 | 主要用途 | 典型应用场景 |
|---|---|---|---|
| CS | Code Segment | 代码段 | 存储当前执行的程序代码 |
| DS | Data Segment | 数据段 | 访问程序的全局变量和静态数据 |
| ES | Extra Segment | 附加段 | 字符串操作、数据复制等 |
| SS | Stack Segment | 堆栈段 | 函数调用、局部变量存储 |
地址转换机制
转换公式:
物理地址 = 段寄存器值 × 16 + 偏移地址
实际应用示例:
# 设置数据段寄存器
mov $0x1000, %ax
mov %ax, %ds
# 访问数据段内的数据(偏移0x0234)
# 实际物理地址 = 0x1000 × 16 + 0x0234 = 0x10234
movw $0x1234, 0x0234
段重叠现象
由于段地址左移4位的机制,不同的段:偏移组合可能指向相同物理地址:
0x1000:0x0234 → 0x10234
0x1023:0x0004 → 0x10234 # 相同的物理地址
这种设计虽然提供了灵活性,但也带来了地址管理的复杂性。
实模式内存布局
| 地址范围 | 大小 | 用途 | 重要性 |
|---|---|---|---|
0x00000-0x003FF |
1KB | 中断向量表(IVT) | ⭐⭐⭐ |
0x00400-0x004FF |
256B | BIOS数据区 | ⭐⭐ |
0x00500-0x07BFF |
~30KB | 可用内存区域 | ⭐⭐⭐ |
0x07C00-0x07DFF |
512B | 引导扇区加载区 | ⭐⭐⭐ |
0x07E00-0x9FFFF |
~608KB | 主要可用内存 | ⭐⭐⭐ |
0xA0000-0xBFFFF |
128KB | 视频内存 | ⭐⭐ |
0xC0000-0xFFFFF |
256KB | ROM BIOS | ⭐ |
编程实例:
# 文本模式视频内存访问示例
video_display:
mov $0xB800, %ax # 文本模式视频内存段地址
mov %ax, %es # 设置附加段寄存器
mov $0, %di # 屏幕左上角位置
mov $0x0741, %ax # 属性字节(07h) + 字符'A'(41h)
mov %ax, %es:(%di) # 在屏幕上显示红色字符'A'
第三阶段:段描述符表寻址(80286保护模式)
80286处理器引入保护模式,实现了质的飞跃:
关于保护模式,请参考上一篇文章:揭秘保护模式:CPU如何筑起操作系统的安全防线
重大改进
内存保护机制
引入特权级概念(4级权限:0-3)
防止不同进程间的非法内存访问
提供系统调用的安全机制
寻址能力提升
从1MB扩展到16MB(24位地址总线)
为虚拟内存奠定基础
A20地址线:向上兼容的关键
你可能会疑惑,怎么突然蹦出来一个A20地址线,因为这是我们能访问1M以上内存的关键点,所以,我希望为你解释清楚;
历史背景:
8086/8088只有20根地址线(A0-A19),最大寻址1MB
当计算地址超过1MB时会发生地址环绕,例如:对于FFFF:FFFF这个地址,理论上对应的物理地址是0x10FFEF(0xFFFF * 16 + 0xFFFF),但是由于只有20根地址线,实际访问的地址是0xFFEF(高位被截断)
80286为了向后兼容,引入A20 Gate控制机制
启用方式:
A20地址线通过A20 Gate进行控制
最初使用8042键盘控制器的空闲引脚来控制A20线
A20 Gate可以开启或禁用第20位地址线
开启A20地址线后,我们就可以访问超过1M的内存,当前有多种方法可以开启A20地址线,我们这里只讲通过8042键盘控制器开启的方法,虽然这种方法需要复杂的握手协议,处理速度较慢,但是兼容性好,有兴趣的可以自行了解其他开启方法;
enable_a20:
call a20wait
mov $0xD1, %al # 向键盘控制器发送命令
out %al, $0x64
call a20wait
mov $0xDF, %al # 启用A20线
out %al, $0x60
call a20wait
ret
a20wait:
in $0x64, %al # 等待键盘控制器就绪
test $2, %al
jnz a20wait
ret
GDT(全局描述符表)机制
GDT(Global Descriptor Table)的作用:
存储段信息的核心数据结构
替代实模式下的简单段寄存器机制
提供详细的访问控制和权限管理
段描述符结构:

关键字段解析:
limit:段的大小 – 1,总共 20bit;
base:段的起始物理地址,总共 32bit;
Access Byte:访问权限定义;
flags:标志位。
说明:
limit 0:15表示 limit 的低 16 位;
base 0:15表示 base 的低 16 位;
base 16:23表示 base 的中间 8 位;
limit 16:19表示 limit 的高 4 位;
base 24:31表示 base 的高 8 位。
Access Byte 与 Flags 的结构如下图所示:

P(Present):段是否存在(1 为可用);
DPL(Descriptor Privilege Level):2bit 特权级,0 最高,3 最低;
S:描述符类型(1 为代码段/数据段,0 为系统段);
Ex(Executable):1 表示代码段,0 表示数据段;
DC:
对数据段:0 为向上增长,1 为向下增长;
对代码段:1 表示 CPL ≥ DPL 可执行,0 表示 CPL == DPL 才可执行;
RW(Readable/Writable):
数据段:1 为可写;
代码段:永远不可写;
Ac(Accessed):初始为 0,CPU 访问后置为 1;
Gr(Granularity):limit 单位,0 为字节,1 为 4KB;
Sz(Size):0 表示 16 位,1 表示 32 位保护模式
GDTR寄存器:
当我们在内存中定义好GDT后,需要告诉CPU去哪里找GDT,CPU提供了一个GDTR寄存器,用来让我们告诉CPU去哪里找GDT,GDTR寄存器定义如下:
| bit | name | description |
|---|---|---|
| 0-15 | size | 定义GDT的大小,单位byte,比实际大小减去了1byte,因为16bit的最大值是65535 byte(8192个 entry),而gdt表的最大值是65536 byte |
| 16-47 | offset | GDT的起始位置(注意,是物理地址) |
段选择子结构:
在进入保护模式,使用段描述符表寻址机制后,原来的段寄存器就变成了段选择子,定义如下:

| 字段 | 位数 | 含义 |
|---|---|---|
| Index | 13位 | GDT表项索引(最多8192项) |
| TI | 1位 | 表指示器(0=GDT,1=LDT) |
| RPL | 2位 | 请求特权级 |
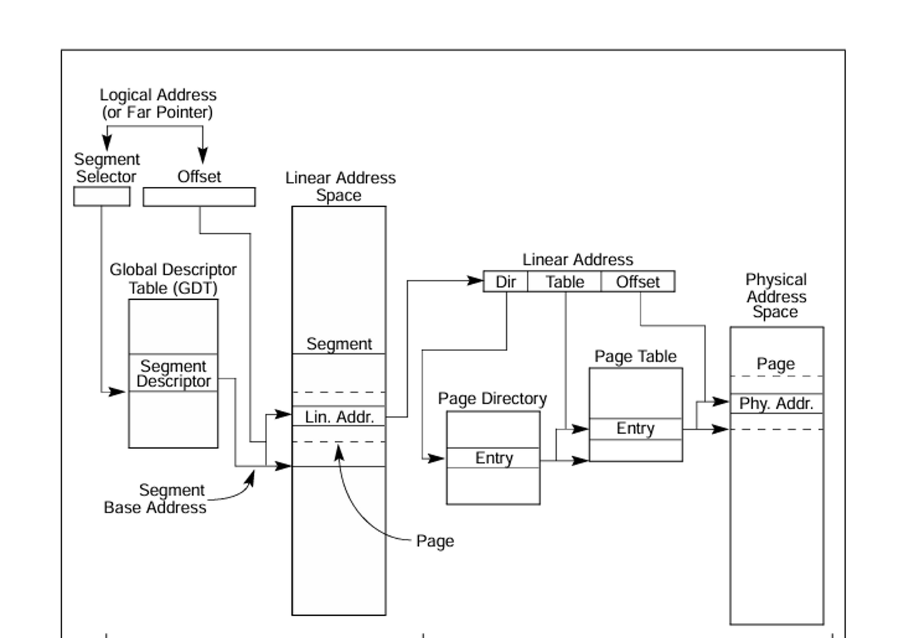
地址转换流程:
逻辑地址(段选择子:偏移)
↓
段选择子解析
↓
查找GDT获取段描述符
↓
权限检查与验证
↓
线性地址 = 段基址 + 偏移
↓ 此时线性地址实际上就是物理地址(未启用分页时)
物理地址
第四阶段:段页式混合寻址(80386及以后)
注意,在32位x86架构下,可以使用2级页表或者3级页表,64位x86-64架构下用的是4级页表或者5级页表, 下面我们讲的都是32位x86架构下的2级页表,其他思想类似,感兴趣的可以自行了解;
80386引入了32位架构和分页机制,形成了现代操作系统内存管理的基础。
分页机制概述
设计目标:
实现真正的虚拟内存管理
支持按需调页和内存保护
提高内存利用效率
核心组件:
页目录(Page Directory):1024个条目,每个4字节
页表(Page Table):1024个条目,每个4字节
页框(Page Frame):4KB物理内存块
页目录中的每个条目指向一个页表,而页表中的每个条目指向一个页框。地址转换通过页目录内的偏移加上页表中的偏移来计算得出。
二级页表结构详解
为什么选择二级页表?
对比一级页表的优势:
| 方面 | 一级页表 | 二级页表 |
|---|---|---|
| 内存占用 | 每进程固定4MB | 最小8KB,按需分配 |
| 内存利用 | 大量空间浪费 | 高效利用,适合稀疏地址空间 |
| 碎片问题 | 需要大块连续内存 | 4KB对齐即可,降低碎片 |
页目录结构

关键字段说明:
| 字段 | 作用 | 重要性 |
|---|---|---|
| Address | 页表物理基址(4KB对齐) | ⭐⭐⭐ |
| P (Present) | 存在标志,表示页面是否在物理内存中,虚拟内存实现的基础 | ⭐⭐⭐ |
| R/W | 读写权限控制 | ⭐⭐⭐ |
| U/S | 用户/内核访问权限 | ⭐⭐⭐ |
| A (Accessed) | 访问标志,用于页面置换算法 | ⭐⭐ |
| S (Size) | 页面大小(0=4KB,1=4MB) | ⭐⭐ |
| D (Cache Disable) | 缓存禁用标志,设置后不缓存该页 | ⭐⭐ |
页表结构

特殊字段:
| 字段 | 作用 |
|---|---|
| Address | 4KB对齐的物理地址,也页目录不同的是,这里的地址指向的是4KB的物理块 |
| C (cached) | 来自前一个表的D位 |
| G (Global) | 全局页标志,TLB管理,防止在CR3更新时TLB刷新缓存 |
| D (Dirty) | 脏页标志,设置该标志标识页面已经被写入,该标志不会被CPU更新,一旦设置将不会自行取消设置;只对file backed的page有意义,当page被写入时硬件将该位置为1,表明该page的内容比外部(disk/flash)对应的部分要新,当系统内存不足需要回收内存时如果该位为1需要将该page对应的内存的内容刷新到disk/flash,然后将该位清0,之后改page对应的内存就可以释放了(可能还有其他操作,例如设置P位) |
这里你有没有疑惑,32位系统支持4G内存,但是这里的地址字段只有20位,岂不是只能访问1M内存吗?不要忘了,这里的地址指向的是4K页框,而不是物理地址,所以最终页表能管理的内存就是4G,而不是1M;
分页整体结构如下

地址转换完整流程
虚拟地址分解:
位31-22:页目录索引(10位,1024项)
位21-12:页表索引(10位,1024项)
位11-0:页内偏移(12位,4096字节)
正是这个机制,限制页目录最大只能有1024项,每个页目录的页表最大只能有1024项,一个页只能有4K,因为页目录索引和页表索引只有10位,地址位(页内偏移)只有12位;
转换步骤:
1. 从CR3寄存器获取页目录物理地址
2. 用虚拟地址[31:22]索引页目录,获取页表地址
3. 用虚拟地址[21:12]索引页表,获取物理页框地址
4. 物理地址 = 页框地址 + 虚拟地址[11:0]
完整转换流程图:

分页机制启用
启用步骤:
# 1. 初始化页目录和页表(需要预先准备)
# 2. 设置CR3寄存器
mov page_directory, %eax # page_directory为页目录物理地址
mov %eax, %cr3
# 3. 启用分页和保护模式
mov %cr0, %eax
or $0x80000001, %eax # 设置PG位(31)和PE位(0)
mov %eax, %cr0
# 注意:必须同时启用PE和PG,否则会产生异常
TLB:地址转换的性能优化
TLB工作原理
Translation Lookaside Buffer(地址转换旁路缓存) 是CPU内置的硬件缓存,专门用于加速虚拟地址到物理地址的转换。
关键特性:
容量:通常8-4096个页表项
命中率:由于程序局部性原理,通常可达95%以上
访问速度:1个CPU周期 vs 内存访问的几十个周期
TLB管理策略
x86架构的简单策略:
CR3寄存器更新时强制刷新整个TLB
进程切换成本较高,但实现简单
其他架构的优化:
基于进程ID的标记机制
选择性TLB刷新
软件管理的TLB
实际应用与性能考量
内存管理的性能影响
地址转换开销:
TLB命中: ~1 CPU周期
TLB未命中: ~20-100 CPU周期(需访问页表)
缺页异常: ~100,000+ CPU周期(需磁盘I/O)
优化策略:
提高TLB命中率(数据局部性)
合理的页面大小选择
高效的页面置换算法
现代操作系统的扩展
64位架构的演进:
4级或5级页表结构
更大的虚拟地址空间
NUMA感知的内存管理
新技术的应用:
大页(Huge Pages)支持
内存去重和压缩
容器化的内存隔离
总结与展望
操作系统内存管理的演进历程体现了计算机系统不断追求性能、安全性和灵活性平衡的过程:
技术演进的驱动力
硬件能力提升:从16位到64位,地址空间持续扩展
应用需求变化:从单任务到多任务,从简单到复杂
安全要求增强:从无保护到细粒度权限控制
核心设计原则
抽象与隔离:虚拟内存为每个进程提供独立的地址空间
按需分配:分页机制实现内存的高效利用
性能优化:TLB缓存和多级页表的精妙平衡
向后兼容:每一代技术都保持对历史软件的支持
现代意义
这些经典的内存管理机制不仅是操作系统的基础,也为云计算、虚拟化、容器等现代技术提供了理论基础。理解这些机制有助于:
系统性能调优:了解内存访问模式对性能的影响
安全漏洞分析:理解内存保护机制的工作原理
新技术学习:为学习现代内存管理技术打下基础
内存管理技术的发展远未停止,随着新的计算范式和硬件技术的出现,我们还将见证更多创新的出现。
联系方式
微信:JoeKerouac
微信公众号:代码深度研究院(如搜不到可添加微信获取)
GitHub:https://github.com/JoeKerouac















暂无评论内容