
导读:本文将从入驻企业智慧管理系统的开发目的、开发背景、目标用户、系统设计、系统架构、主要功能模块等方面进行分析,软件主要功能包括:采购管理、财务管理、合同管理、会议管理、机构管理、计划任务管理、考勤管理、客户管理、库存管理、权限管理、日程管理、数据分析、统计报表、文档管理、项目管理、用户管理、员工考核管理、知识管理、组织架构管理,全文约5458字,需要10分钟左右。感谢阅读,如有建议和意见欢迎评论交流。
一、引言
1.1、开发目的和背景

随着信息技术的快速发展和企业管理的日益复杂化,传统的管理模式已经无法满足现代企业的高效运营需求。为此,我们设计并开发了这款名为“入驻企业智慧管理系统”的软件,旨在为企业提供全方位、一体化的数字化管理解决方案。
我们的开发初衷是为了帮助企业简化繁琐的行政事务,提升运营效率,降低管理成本。在信息化的大背景下,这款系统将采购、财务、合同、会议、员工管理等各个业务板块进行深度融合,通过智能化的方式实现信息共享、流程优化和决策支持。
在采购管理模块,企业可以实时追踪采购进度,节约时间和资源;财务管理模块则实现了全程电子化,提高财务透明度,防范风险;合同管理模块则有助于规范合同流程,降低法律风险。此外,系统还包含了数据可视化分析和智能报告生成,帮助企业快速洞察业务状况,做出科学决策。
用户管理、权限管理、文档管理和知识管理等功能则确保了数据安全和合规性,而项目管理和组织架构管理则有助于企业清晰地理解和调整组织结构,推动协作与沟通。
“入驻企业智慧管理系统”以用户为中心,充分考虑企业日常运营的实际需求,旨在打造一个操作简便、功能强大的企业管理工具,助力企业在激烈的市场竞争中保持领先地位。我们坚信,这款系统的广泛应用将极大地推动企业数字化转型,实现企业管理的现代化和智能化。
1.2、软件的目标用户

入驻企业智慧管理系统是一款专为各类中大型企业设计的智能化综合管理工具。在日常运营中,它如同企业的大脑和心脏,将各个业务部门紧密连接起来。例如,采购管理模块可以帮助企业实时监控供应商信息,自动化下单流程,提高采购效率;财务模块则能进行预算控制、费用报销审批,实现财务数据的一键查询与分析;合同管理模块有助于规范化合同签署和跟踪,降低法律风险。
在会议管理部分,无论线上还是线下,都能提供便捷的预约和记录功能,确保信息传递的准确性和及时性。员工考勤、项目管理和知识管理等功能则便于追踪工作进度,促进团队协作,提升整体生产力。此外,系统还支持权限管理,保证敏感信息的安全。
入驻企业智慧管理系统的首要目标用户是中大型企业的中高层管理人员,如行政总监、财务总监、项目经理等。他们需要处理复杂的日常运营事务,对数据的精准分析和决策支持有高需求。此外,该系统也非常适合企业的HR部门,用于员工考勤、绩效评估以及培训发展管理。一线员工,如销售、客服、技术等部门,可以通过客户管理和文档管理模块提升工作效率,同时也能通过权限管理了解自己的工作权限和职责范围。
总的来说,任何希望通过数字化手段提升管理水平,优化内部流程,实现信息化办公的企业,都可以从入驻企业智慧管理系统中获益。
二、软件总体设计
2.1、系统概述

入驻企业智慧管理系统是一款全面集成的业务管理工具,专为各类企业设计,采用先进的Java技术与SpringMVC框架开发,旨在提升企业的运营效率和管理水平。系统以MySQL作为稳定的数据存储平台,提供高效且安全的数据处理能力。
核心功能模块涵盖企业日常运营的各个方面:
1. 采购管理:自动化处理采购流程,包括供应商管理、采购订单生成与追踪。
2. 财务管理:实现预算控制、财务报告生成,支持发票管理和账单支付管理。
3. 合同管理:合同起草、审批、执行和归档全程跟踪,降低法律风险。
4. 会议管理:预约、通知及纪要记录,确保信息流通和决策效率。
5. 机构管理:设置组织架构,明确各部门职责与权限。
6. 计划任务管理:任务分配、进度跟踪与提醒,提升团队协作效率。
7. 考勤管理:数字化的打卡、请假、加班等考勤记录。
8. 客户管理:客户信息整合,便于维护关系和市场营销。
9. 库存管理:实时库存监控,预警低库存,避免缺货风险。
10. 权限管理:根据角色定制访问权限,保证数据安全。
11. 日程管理:个人和团队的日程安排,提升时间管理效能。
12. 数据分析与统计报表:为企业决策提供数据支持,直观展现业务状况。
13. 文档管理:统一的文件存储与分享,方便查找和协作。
14. 项目管理:全程项目跟踪,从立项到结束,清晰可见。
15. 用户与员工考核管理:管理员工绩效评估,促进人才成长。
16. 知识管理:构建企业知识库,共享最佳实践和经验。
17. 组织架构管理:可视化展示企业组织结构,利于内部沟通。
通过这款智慧管理系统,企业可以实现业务流程的数字化和智能化,降低运营成本,提高工作效率,为企业的持续发展提供强大支持。
2.2、系统架构

我们的软件“入驻企业智慧管理系统”基于先进的B/S(Browser/Server)架构设计,这种架构模式显著提高了系统的可扩展性和易用性。该系统主要由以下几个核心组件构成:
1. 前端界面:采用HTML5、CSS3和JavaScript技术构建,用户界面简洁明了,响应式设计适应各种设备,包括桌面电脑、平板和移动设备。所有的功能模块如采购、财务、会议等均通过浏览器访问,无需安装额外软件。
2. 后端服务:由Java语言驱动,借助Spring MVC框架进行开发。这提供了强大的业务逻辑处理能力,支持数据持久化和事务管理,确保系统的稳定性和安全性。同时,通过RESTful API与前端进行交互,实现数据的实时同步。
3. 数据库管理:使用关系型数据库如MySQL或Oracle存储所有业务数据,包括但不限于用户信息、合同文档、库存记录等,保证数据的一致性和完整性。
4. 分布式服务:系统采用了微服务架构,各个功能模块独立运行,可以根据需求水平扩展,提高了系统的灵活性和可靠性。
5. 权限管理:内置的角色和权限控制系统,确保每个用户只能访问与其工作职责相关的部分,增强了数据的安全性。
6. 数据分析与报表:集成大数据处理和分析组件,能够实时生成各类统计报表,帮助企业进行决策支持。
7. 知识管理和文档管理:提供文档版本控制和协同编辑功能,方便团队协作,同时也支持企业内部的知识共享。
8. 项目与任务管理:通过甘特图或其他工具,协助企业规划和跟踪项目进度,提升工作效率。
9. 组织架构管理:清晰展示企业的组织结构,便于团队沟通和协作。
整体上,这个系统是一个全面的企业管理解决方案,旨在通过现代化的技术手段,为企业提供高效、安全、易用的日常运营和决策支持。
三、软件功能演示
3.1、系统登录
在浏览器中输入系统网址,打开登录界面后输入登录账号、登录密码、验证码即可登录。

3.2、工作台
工作台包含:采购管理、财务管理、合同管理、会议管理、机构管理、计划任务管理、考勤管理、客户管理、库存管理、权限管理、日程管理、数据分析、统计报表、文档管理、项目管理、用户管理、员工考核管理、知识管理、组织架构管理,根据不同角色权限菜单展示会有所区别。
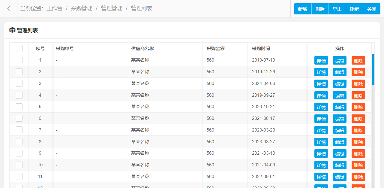
3.2.1、采购管理

管理功能主要字段信息包含:管理编码、采购单号、供应商名称、采购金额、采购时间等。使用表格形式展示数据信息,方便用户查看和编辑。
管理设置新增、编辑、删除、条件搜索、查看详情等操作,可按照页面提示进行操作执行,界面结构设计简单,操作流程简洁明了,可提升用户操作体验。
3.2.2、财务管理

管理功能主要字段信息包含:管理编码、收支明细、费用报销、发票管理、财务报表等。使用表格形式展示数据信息,方便用户查看和编辑。
管理设置新增、编辑、删除、条件搜索、查看详情等操作,可按照页面提示进行操作执行,界面结构设计简单,操作流程简洁明了,可提升用户操作体验。
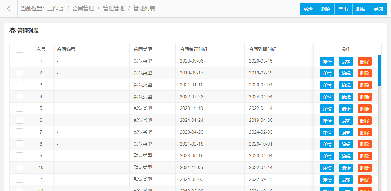
3.2.3、合同管理

管理功能主要字段信息包含:管理编码、合同编号、合同类型、合同签订时间、合同到期时间、合同金额等。使用表格形式展示数据信息,方便用户查看和编辑。
管理设置新增、编辑、删除、条件搜索、查看详情等操作,可按照页面提示进行操作执行,界面结构设计简单,操作流程简洁明了,可提升用户操作体验。
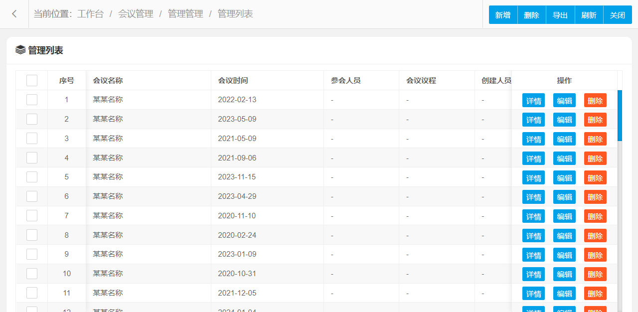
3.2.4、会议管理

管理功能主要字段信息包含:管理编码、会议名称、会议时间、参会人员、会议议程等。使用表格形式展示数据信息,方便用户查看和编辑。
管理设置新增、编辑、删除、条件搜索、查看详情等操作,可按照页面提示进行操作执行,界面结构设计简单,操作流程简洁明了,可提升用户操作体验。
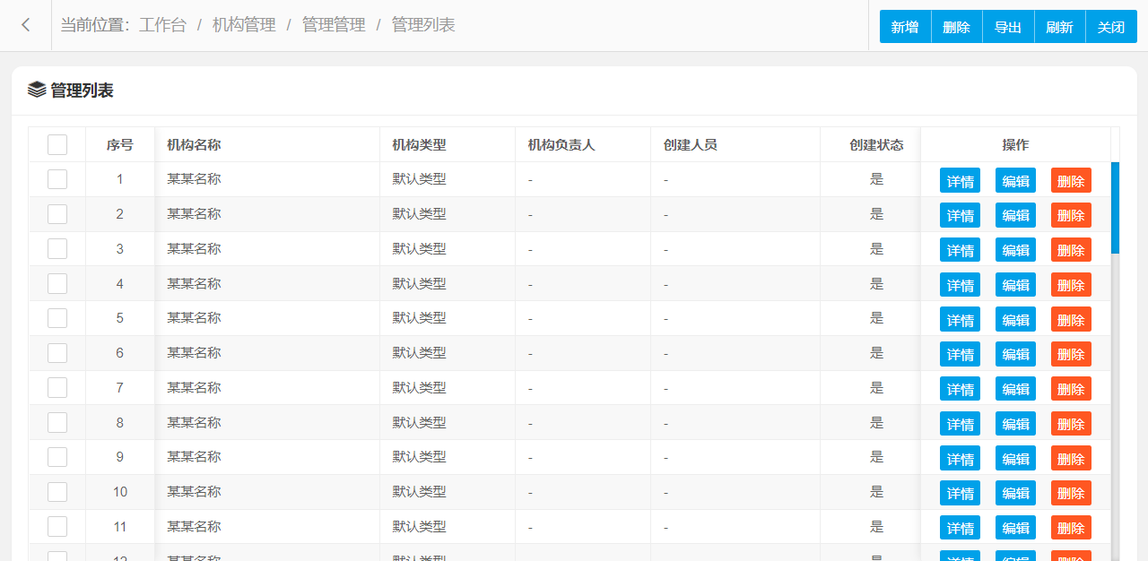
3.2.5、机构管理

管理功能主要字段信息包含:管理编码、机构名称、机构类型、机构负责人等。使用表格形式展示数据信息,方便用户查看和编辑。
管理设置新增、编辑、删除、条件搜索、查看详情等操作,可按照页面提示进行操作执行,界面结构设计简单,操作流程简洁明了,可提升用户操作体验。
3.2.6、计划任务管理

管理功能主要字段信息包含:管理编码、任务名称、任务类型、任务描述、负责人、计划时间等。使用表格形式展示数据信息,方便用户查看和编辑。
管理设置新增、编辑、删除、条件搜索、查看详情等操作,可按照页面提示进行操作执行,界面结构设计简单,操作流程简洁明了,可提升用户操作体验。
3.2.7、考勤管理

管理功能主要字段信息包含:管理编码、打卡时间、迟到早退记录、请假调休记录、加班记录等。使用表格形式展示数据信息,方便用户查看和编辑。
管理设置新增、编辑、删除、条件搜索、查看详情等操作,可按照页面提示进行操作执行,界面结构设计简单,操作流程简洁明了,可提升用户操作体验。
3.2.8、客户管理

管理功能主要字段信息包含:管理编码、客户名称、联系人、联系电话、客户地址等。使用表格形式展示数据信息,方便用户查看和编辑。
管理设置新增、编辑、删除、条件搜索、查看详情等操作,可按照页面提示进行操作执行,界面结构设计简单,操作流程简洁明了,可提升用户操作体验。
3.2.9、库存管理

管理功能主要字段信息包含:管理编码、物品名称、物品编号、库存数量、存放位置等。使用表格形式展示数据信息,方便用户查看和编辑。
管理设置新增、编辑、删除、条件搜索、查看详情等操作,可按照页面提示进行操作执行,界面结构设计简单,操作流程简洁明了,可提升用户操作体验。
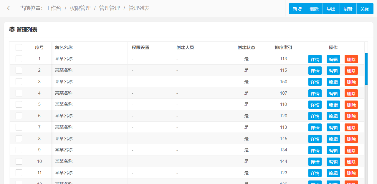
3.2.10、权限管理

管理功能主要字段信息包含:管理编码、角色名称、角色描述、权限设置等。使用表格形式展示数据信息,方便用户查看和编辑。
管理设置新增、编辑、删除、条件搜索、查看详情等操作,可按照页面提示进行操作执行,界面结构设计简单,操作流程简洁明了,可提升用户操作体验。
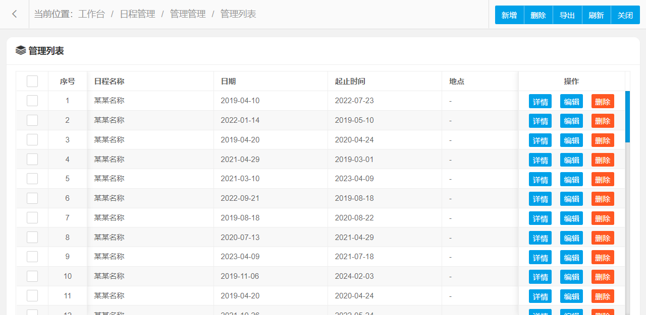
3.2.11、日程管理

管理功能主要字段信息包含:管理编码、日程名称、日期、起止时间、地点、日程描述等。使用表格形式展示数据信息,方便用户查看和编辑。
管理设置新增、编辑、删除、条件搜索、查看详情等操作,可按照页面提示进行操作执行,界面结构设计简单,操作流程简洁明了,可提升用户操作体验。
3.2.12、数据分析

数据分析管理功能主要字段信息包含:编码、业务量、用户量、转化率、人均收入等。使用表格形式展示数据信息,方便用户查看和编辑。
数据分析管理设置新增、编辑、删除、条件搜索、查看详情等操作,可按照页面提示进行操作执行,界面结构设计简单,操作流程简洁明了,可提升用户操作体验。
3.2.13、统计报表

统计报表管理功能主要字段信息包含:编码、员工人数、项目进度、财务情况等。使用表格形式展示数据信息,方便用户查看和编辑。
统计报表管理设置新增、编辑、删除、条件搜索、查看详情等操作,可按照页面提示进行操作执行,界面结构设计简单,操作流程简洁明了,可提升用户操作体验。
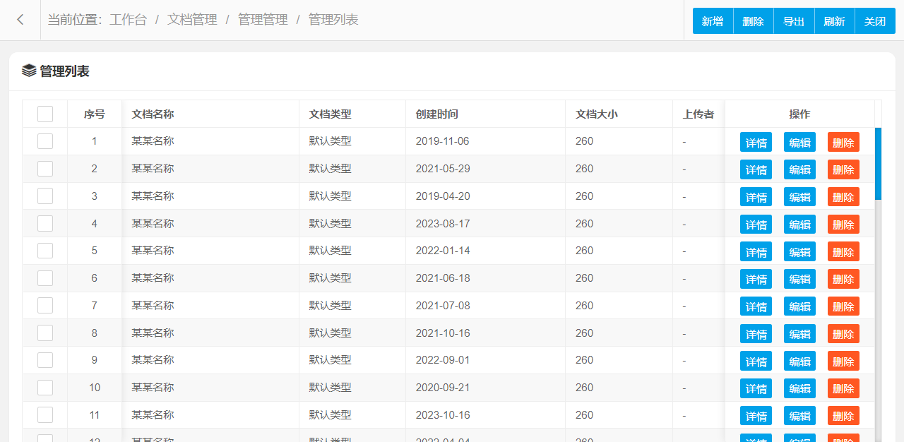
3.2.14、文档管理

管理功能主要字段信息包含:管理编码、文档名称、文档类型、创建时间、文档大小、上传者等。使用表格形式展示数据信息,方便用户查看和编辑。
管理设置新增、编辑、删除、条件搜索、查看详情等操作,可按照页面提示进行操作执行,界面结构设计简单,操作流程简洁明了,可提升用户操作体验。
3.2.15、项目管理

管理功能主要字段信息包含:管理编码、项目名称、项目负责人、参与人员、进度、预算等。使用表格形式展示数据信息,方便用户查看和编辑。
管理设置新增、编辑、删除、条件搜索、查看详情等操作,可按照页面提示进行操作执行,界面结构设计简单,操作流程简洁明了,可提升用户操作体验。
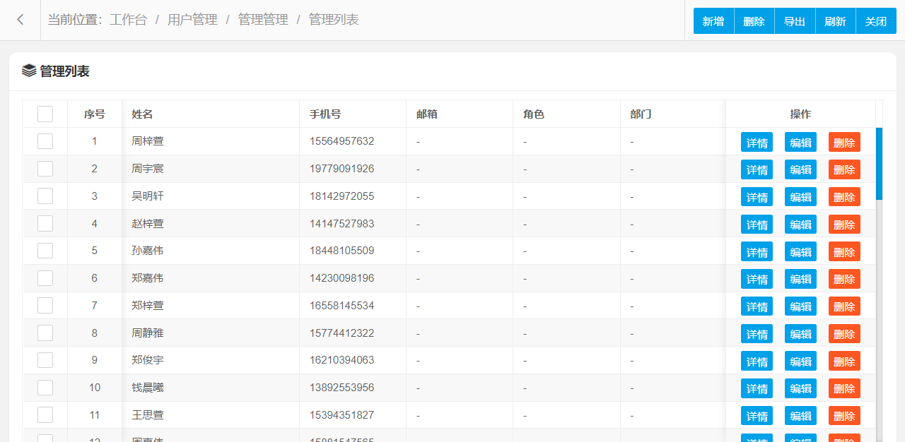
3.2.16、用户管理

管理功能主要字段信息包含:管理编码、姓名、手机号、邮箱、角色、部门、密码等。使用表格形式展示数据信息,方便用户查看和编辑。
管理设置新增、编辑、删除、条件搜索、查看详情等操作,可按照页面提示进行操作执行,界面结构设计简单,操作流程简洁明了,可提升用户操作体验。
3.2.17、员工考核管理

管理功能主要字段信息包含:管理编码、考核名称、考核周期、考核内容、考核报告等。使用表格形式展示数据信息,方便用户查看和编辑。
管理设置新增、编辑、删除、条件搜索、查看详情等操作,可按照页面提示进行操作执行,界面结构设计简单,操作流程简洁明了,可提升用户操作体验。
3.2.18、知识管理

管理功能主要字段信息包含:管理编码、知识主题、知识分类、上传时间、下载次数等。使用表格形式展示数据信息,方便用户查看和编辑。
管理设置新增、编辑、删除、条件搜索、查看详情等操作,可按照页面提示进行操作执行,界面结构设计简单,操作流程简洁明了,可提升用户操作体验。
3.2.19、组织架构管理

管理功能主要字段信息包含:管理编码、部门名称、上级部门、员工数量等。使用表格形式展示数据信息,方便用户查看和编辑。
管理设置新增、编辑、删除、条件搜索、查看详情等操作,可按照页面提示进行操作执行,界面结构设计简单,操作流程简洁明了,可提升用户操作体验。















暂无评论内容