
导读:本文将从公共卫生知识及法律法规培训合格证书智慧管理系统的开发目的、开发背景、目标用户、系统设计、系统架构、主要功能模块等方面进行分析,软件主要功能包括:按单位类别统计、按发证时间段查询、按复训时间段查询1、按复训专业统计、按工种岗位统计、按培训时间段查询、按培训专业统计、按卫生管理员统计、按文化程度统计、按性别统计、按职务统计、从业单位变更记录、公共卫生从业单位变更记录、公共卫生培训教育记录、公共卫生知识及法律法规复训记录、证书打印管理、证书发放情况、证书录入、按复训时间段-姓名查询,全文约6263字,需要12分钟左右。感谢阅读,如有建议和意见欢迎评论交流。
一、引言
1.1、开发目的和背景

公共卫生知识及法律法规培训合格证书智慧管理系统是一个专为公共卫生行业设计的信息化解决方案,其核心目标在于提升健康管理行业的规范化操作和效率,同时确保从业人员的专业素养与法律法规的合规性。在当前数字化转型的大潮中,传统的人工管理和纸质证书管理方式已无法满足日益增长的数据需求和管理复杂性。
随着公共卫生领域的工作量剧增,以及对专业知识和法规培训的严格要求,我们意识到,迫切需要一个智能化的系统来整合、跟踪和分析所有相关的培训数据,以实现对从业者的动态管理和考核。该软件旨在帮助管理部门实时掌握各岗位人员的培训状态、复训情况、文化程度、性别分布等多维度信息,从而进行科学决策,优化资源配置。
通过按单位类别、发证时间段、复训时间段、专业、工种等灵活的查询功能,不仅能够快速定位到特定人员的信息,还能为管理者提供丰富的报表和统计分析,以便于制定更精准的培训计划和政策。此外,证书打印管理、发放情况以及录入功能的集成,极大地简化了证书的生命周期管理,降低了工作繁琐度。
对于从业单位变更记录和公共卫生培训教育记录的实时更新,保证了信息的准确性,有助于预防和解决潜在的法律风险。同时,系统的安全性与隐私保护机制也得到了充分考虑,确保所有个人信息的合法使用和保护。
综上所述,公共卫生知识及法律法规培训合格证书智慧管理系统旨在构建一个高效、安全、易用的信息化平台,以推动公共卫生行业的现代化进程,提高行业整体素质,保障公众健康权益。
1.2、软件的目标用户

应用场景与
公共卫生知识及法律法规培训合格证书智慧管理系统是一款专为各级公共卫生管理部门、医疗机构、教育培训机构以及从业人员设计的高效管理工具。该系统的核心功能围绕着公共卫生从业者的资格认证、培训记录、复训管理以及证书发放等环节,旨在简化操作流程,提升信息管理效率。
目标用户主要包括:
1. 公共卫生部门:负责统筹和监督全国公共卫生从业资格的管理工作,他们可以利用此系统进行大规模的数据分析,如按单位类别、发证时间等维度对证书发放情况进行实时监控。
2. 医疗机构:需要定期组织员工进行公共卫生知识和法律法规的培训,系统提供的按培训时间段和专业查询功能可以帮助他们追踪培训进度,确保所有人员达到复训要求。
3. 从业人员:包括各类公共卫生工作者、卫生管理员、医疗管理人员等,他们可以通过系统查看自己的培训记录、复训安排以及证书状态,便于个人职业发展管理。
4. 教育培训机构:提供公共卫生培训服务的机构可使用系统记录学员信息,便于跟踪教学效果,同时也方便了证书的管理和发放。
5. 管理者与决策者:通过系统中的统计图表和报表,高层管理者能够获取到关于公共卫生培训的全面、深入洞察,以便做出更科学的决策。
总的来说,公共卫生知识及法律法规培训合格证书智慧管理系统旨在打造一个智能化、一体化的管理平台,帮助各个相关方实现数据驱动的高效管理,促进公共卫生行业的发展和从业人员的专业能力提升。
二、软件总体架构
2.1、系统概述

软件的主要功能模块涵盖了各个关键环节。首先,它具备按单位类别、发证时间段、复训时间段以及具体专业、工种岗位的统计功能,方便管理人员实时了解各类培训的分布和进展。此外,通过姓名和复训时间段的精确搜索,可以快速找到特定人员的相关信息,提高查找效率。
系统还支持证书的全面管理,包括证书的录入、发放、打印以及变更记录,确保证书管理的严谨性和准确性。针对公共卫生从业单位的变化,专门设有相应的记录功能,便于跟踪和调整管理策略。同时,培训教育记录和复训记录模块记录了每个员工的学习历程,有助于评估个人成长和整体培训效果。
在性别、文化程度、职务等个人信息方面,系统同样提供了统计分析功能,帮助管理者更好地理解和满足不同群体的需求。通过这些细致入微的功能设计,我们的目标是为公共卫生行业的规范化管理和人才发展提供强大而便捷的支持。
总结来说,《公共卫生知识及法律法规培训合格证书智慧管理系统》不仅是一个功能强大的管理平台,更是推动行业持续改进和发展的重要工具。它旨在简化工作流程,提升工作效率,以保障公共卫生事业的健康发展。
2.2、系统架构

我们的系统采用先进的B/S(Browser/Server)架构,这是一种基于网络的软件开发模式,使得用户可以通过任何支持Web浏览器的设备访问系统,极大地提高了系统的灵活性和便捷性。这种架构的核心在于将处理复杂业务逻辑和数据操作的任务分配给服务器端,而客户端则专注于提供直观的用户界面和数据展示。
系统的核心开发技术选用了Java,这是由于Java语言的跨平台特性、稳定性以及丰富的类库支持,非常适合构建大型、高性能的企业级应用。Spring MVC框架作为后端开发的基础,提供了模型-视图-控制器(MVC)的设计模式,使得代码组织清晰,职责明确,易于维护和扩展。
系统模块分为多个部分:
1. 数据访问层:通过JPA或MyBatis等ORM工具,与数据库交互,负责读取和存储各类证书信息,如证书录入、变更记录、培训教育和复训记录等。
2. 业务逻辑层:借助Spring的依赖注入和事务管理,实现对数据的操作逻辑,如统计分析、查询筛选等功能,按单位类别、时间段、专业、工种等条件进行智能分析。
3. 控制器层:接收用户的请求,调用业务逻辑层处理,然后将结果返回给前端,确保用户界面的实时更新。
4. 前端界面:采用现代前端技术如HTML5、CSS3和JavaScript,配合Bootstrap等框架,构建响应式、用户友好的界面,使用户能够直观地进行证书管理、查询和报表生成。
5. 安全管理:系统集成身份验证和授权机制,确保数据的安全性和合规性,如用户登录、权限控制和审计日志。
整体而言,我们的软件架构设计旨在提供高效、稳定和易用的服务,同时保持良好的可扩展性和维护性,以满足公共卫生领域对培训证书管理的多样化需求。
三、软件功能操作
3.1、系统登录
在浏览器中输入系统网址,打开登录界面后输入登录账号、登录密码、验证码即可登录。

3.2、工作台
工作台包含:按单位类别统计、按发证时间段查询、按复训时间段查询1、按复训专业统计、按工种岗位统计、按培训时间段查询、按培训专业统计、按卫生管理员统计、按文化程度统计、按性别统计、按职务统计、从业单位变更记录、公共卫生从业单位变更记录、公共卫生培训教育记录、公共卫生知识及法律法规复训记录、证书打印管理、证书发放情况、证书录入、按复训时间段-姓名查询,根据不同角色权限菜单展示会有所区别。
3.2.1、按单位类别统计

按单位类别统计管理功能主要字段信息包含:编码、单位类别、人数、开始日期、截止日期等。使用表格形式展示数据信息,方便用户查看和编辑。
按单位类别统计管理设置新增、编辑、删除、条件搜索、查看详情等操作,可按照页面提示进行操作执行,界面结构设计简单,操作流程简洁明了,可提升用户操作体验。
3.2.2、按发证时间段查询

按发证时间段查询管理功能主要字段信息包含:编码、序号、姓名、性别、出生日期、身份证号、文化程度、从业单位、单位类别、工种岗位、职务、卫生管理员、手机号码、办公电话、电子邮箱、QQ号码、培训专业、培训时间、发证时间、证书编号、证书第字号、有效时间、备注、开始日期、截止日期等。使用表格形式展示数据信息,方便用户查看和编辑。
按发证时间段查询管理设置新增、编辑、删除、条件搜索、查看详情等操作,可按照页面提示进行操作执行,界面结构设计简单,操作流程简洁明了,可提升用户操作体验。
3.2.3、按复训时间段查询1

按复训时间段查询1管理功能主要字段信息包含:编码、复训专业、经办人、复训日期、姓名、开始日期、截止日期等。使用表格形式展示数据信息,方便用户查看和编辑。
按复训时间段查询1管理设置新增、编辑、删除、条件搜索、查看详情等操作,可按照页面提示进行操作执行,界面结构设计简单,操作流程简洁明了,可提升用户操作体验。
3.2.4、按复训专业统计

按复训专业统计管理功能主要字段信息包含:编码、复训专业、人数、开始日期、截止日期等。使用表格形式展示数据信息,方便用户查看和编辑。
按复训专业统计管理设置新增、编辑、删除、条件搜索、查看详情等操作,可按照页面提示进行操作执行,界面结构设计简单,操作流程简洁明了,可提升用户操作体验。
3.2.5、按工种岗位统计

按工种岗位统计管理功能主要字段信息包含:编码、工种岗位、人数、开始日期、截止日期等。使用表格形式展示数据信息,方便用户查看和编辑。
按工种岗位统计管理设置新增、编辑、删除、条件搜索、查看详情等操作,可按照页面提示进行操作执行,界面结构设计简单,操作流程简洁明了,可提升用户操作体验。
3.2.6、按培训时间段查询

按培训时间段查询管理功能主要字段信息包含:编码、序号、姓名、性别、出生日期、身份证号、文化程度、从业单位、单位类别、工种岗位、职务、卫生管理员、手机号码、办公电话、电子邮箱、QQ号码、培训专业、培训时间、发证时间、证书编号、证书第字号、有效时间、备注、开始日期、截止日期等。使用表格形式展示数据信息,方便用户查看和编辑。
按培训时间段查询管理设置新增、编辑、删除、条件搜索、查看详情等操作,可按照页面提示进行操作执行,界面结构设计简单,操作流程简洁明了,可提升用户操作体验。
3.2.7、按培训专业统计

按培训专业统计管理功能主要字段信息包含:编码、培训专业、人数、开始日期、截止日期等。使用表格形式展示数据信息,方便用户查看和编辑。
按培训专业统计管理设置新增、编辑、删除、条件搜索、查看详情等操作,可按照页面提示进行操作执行,界面结构设计简单,操作流程简洁明了,可提升用户操作体验。
3.2.8、按卫生管理员统计

按卫生管理员统计管理功能主要字段信息包含:按卫生管理员统计编码、卫生管理员、人数、开始日期、截止日期等。使用表格形式展示数据信息,方便用户查看和编辑。
按卫生管理员统计管理设置新增、编辑、删除、条件搜索、查看详情等操作,可按照页面提示进行操作执行,界面结构设计简单,操作流程简洁明了,可提升用户操作体验。
3.2.9、按文化程度统计

按文化程度统计管理功能主要字段信息包含:编码、文化程度、人数、开始日期、截止日期等。使用表格形式展示数据信息,方便用户查看和编辑。
按文化程度统计管理设置新增、编辑、删除、条件搜索、查看详情等操作,可按照页面提示进行操作执行,界面结构设计简单,操作流程简洁明了,可提升用户操作体验。
3.2.10、按性别统计

按性别统计管理功能主要字段信息包含:编码、性别、人数、开始日期、截止日期等。使用表格形式展示数据信息,方便用户查看和编辑。
按性别统计管理设置新增、编辑、删除、条件搜索、查看详情等操作,可按照页面提示进行操作执行,界面结构设计简单,操作流程简洁明了,可提升用户操作体验。
3.2.11、按职务统计

按职务统计管理功能主要字段信息包含:编码、职务、人数、开始日期、截止日期等。使用表格形式展示数据信息,方便用户查看和编辑。
按职务统计管理设置新增、编辑、删除、条件搜索、查看详情等操作,可按照页面提示进行操作执行,界面结构设计简单,操作流程简洁明了,可提升用户操作体验。
3.2.12、从业单位变更记录

从业单位变更记录管理功能主要字段信息包含:编码、从业单位、从业开始年、从业开始月、从业开始年1、从业开始月1、序号、标识、姓名等。使用表格形式展示数据信息,方便用户查看和编辑。
从业单位变更记录管理设置新增、编辑、删除、条件搜索、查看详情等操作,可按照页面提示进行操作执行,界面结构设计简单,操作流程简洁明了,可提升用户操作体验。
3.2.13、公共卫生从业单位变更记录

公共卫生从业单位变更记录管理功能主要字段信息包含:编码、从业单位、从业开始年、从业开始月、从业开始年1、从业开始月1、序号、标识、姓名等。使用表格形式展示数据信息,方便用户查看和编辑。
公共卫生从业单位变更记录管理设置新增、编辑、删除、条件搜索、查看详情等操作,可按照页面提示进行操作执行,界面结构设计简单,操作流程简洁明了,可提升用户操作体验。
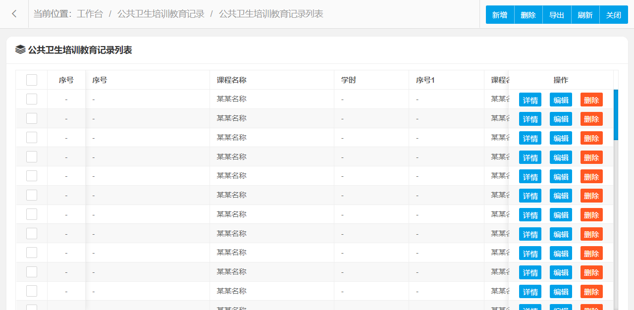
3.2.14、公共卫生培训教育记录

公共卫生培训教育记录管理功能主要字段信息包含:编码、序号、课程名称、学时、备注、序号1、课程名称1、学时1、备注1、序号2、课程名称2、学时2、备注2、序号3、课程名称3、学时3、备注3、序号4、课程名称4、学时4、备注4、序号5、课程名称5、学时5、备注5、考核结果、盖章日期、姓名等。使用表格形式展示数据信息,方便用户查看和编辑。
公共卫生培训教育记录管理设置新增、编辑、删除、条件搜索、查看详情等操作,可按照页面提示进行操作执行,界面结构设计简单,操作流程简洁明了,可提升用户操作体验。
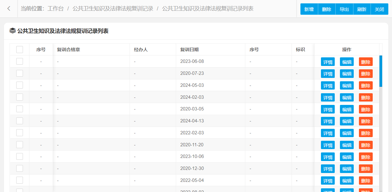
3.2.15、公共卫生知识及法律法规复训记录

公共卫生知识及法律法规复训记录管理功能主要字段信息包含:编码、复训合格章、经办人、复训日期、序号、标识、姓名等。使用表格形式展示数据信息,方便用户查看和编辑。
公共卫生知识及法律法规复训记录管理设置新增、编辑、删除、条件搜索、查看详情等操作,可按照页面提示进行操作执行,界面结构设计简单,操作流程简洁明了,可提升用户操作体验。
3.2.16、证书打印管理

管理功能主要字段信息包含:管理编码、序号、姓名、性别、出生日期、身份证号、文化程度、从业单位、单位类别、工种岗位、职务、卫生管理员、手机号码、办公电话、电子邮箱、QQ号码、培训专业、培训时间、发证时间、证书编号、证书第字号、有效时间、备注等。使用表格形式展示数据信息,方便用户查看和编辑。
管理设置新增、编辑、删除、条件搜索、查看详情等操作,可按照页面提示进行操作执行,界面结构设计简单,操作流程简洁明了,可提升用户操作体验。
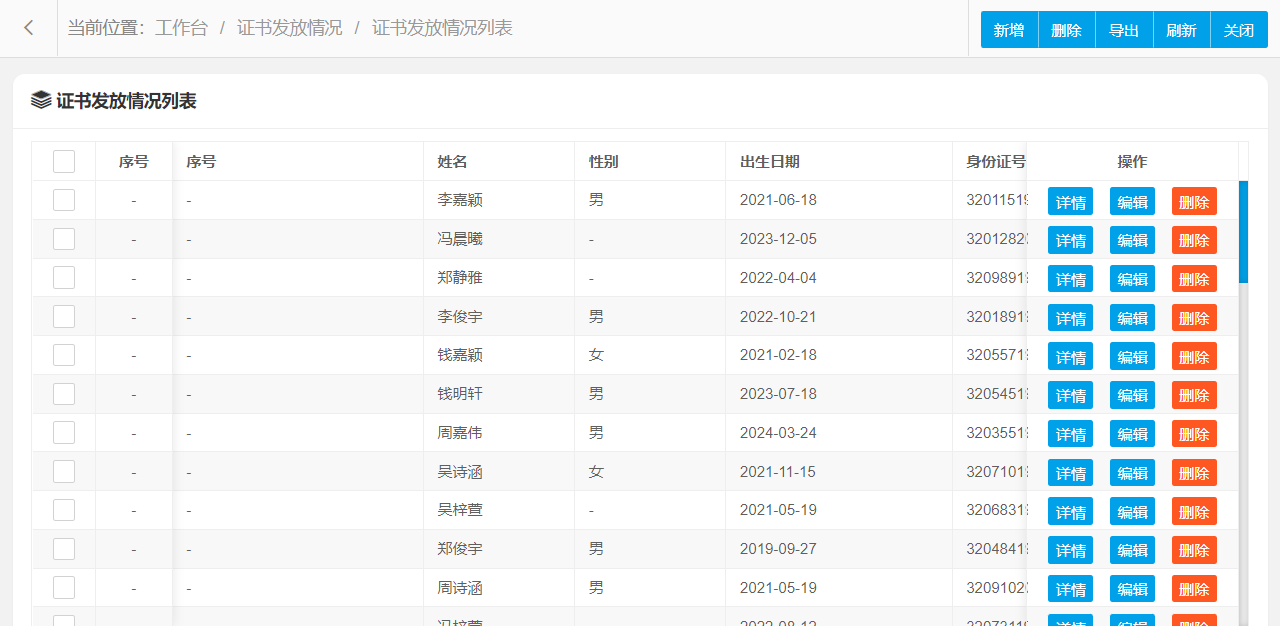
3.2.17、证书发放情况

证书发放情况管理功能主要字段信息包含:编码、序号、姓名、性别、出生日期、身份证号、文化程度、从业单位、单位类别、工种岗位、职务、卫生管理员、手机号码、办公电话、电子邮箱、QQ号码、培训专业、培训时间、发证时间、证书编号、证书第字号、有效时间、备注等。使用表格形式展示数据信息,方便用户查看和编辑。
证书发放情况管理设置新增、编辑、删除、条件搜索、查看详情等操作,可按照页面提示进行操作执行,界面结构设计简单,操作流程简洁明了,可提升用户操作体验。
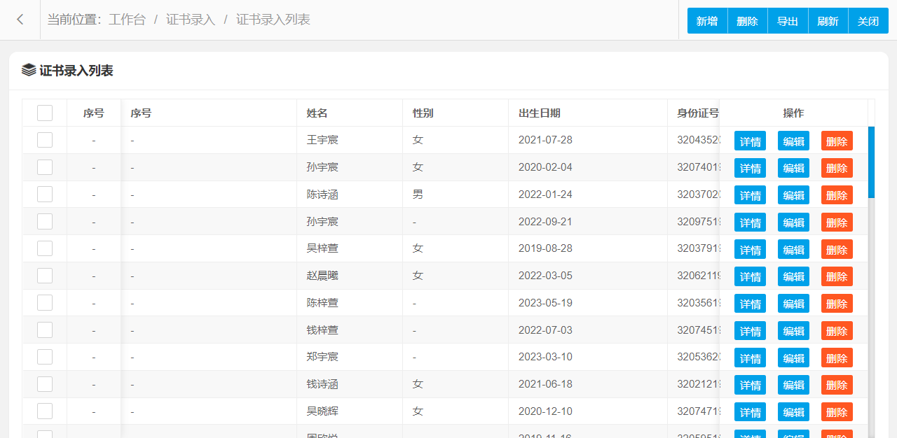
3.2.18、证书录入

证书录入管理功能主要字段信息包含:编码、序号、姓名、性别、出生日期、身份证号、文化程度、从业单位、单位类别、工种岗位、职务、卫生管理员、手机号码、办公电话、电子邮箱、QQ号码、培训专业、培训时间、发证时间、证书编号、证书第字号、有效时间、备注等。使用表格形式展示数据信息,方便用户查看和编辑。
证书录入管理设置新增、编辑、删除、条件搜索、查看详情等操作,可按照页面提示进行操作执行,界面结构设计简单,操作流程简洁明了,可提升用户操作体验。
3.2.19、按复训时间段-姓名查询

按复训时间段管理功能主要字段信息包含:按复训时间段编码、姓名、性别、出生日期、身份证号、文化程度、从业单位、单位类别、工种岗位、职务、卫生管理员、手机号码、办公电话、电子邮箱、QQ号码、培训专业、培训时间、发证时间、证书编号、证书第字号、有效时间、备注、复训专业、经办人、复训日期、开始日期、截止日期等。使用表格形式展示数据信息,方便用户查看和编辑。
按复训时间段管理设置新增、编辑、删除、条件搜索、查看详情等操作,可按照页面提示进行操作执行,界面结构设计简单,操作流程简洁明了,可提升用户操作体验。

















暂无评论内容