
导读:本文将从公安行政法律文书智慧管理系统的开发目的、开发背景、目标用户、系统设计、系统架构、主要功能模块等方面进行分析,软件主要功能包括:案由、不予处理决定书、不予受理听证通知书、承办人、抽样取证证据、抽样取证证据清单、传唤证、担保人保证书、当场处罚决定书、登记簿、登记物品、电话查询记录、调查报告、封面目录、公安行政处罚决定书、公安行政告知笔录、检查证、解除戒毒通知书、解除收容教育证明书、举行听证通知书、扣押物品、扣押物品登记簿、扣押物品文件清单、没收保证决定书、没收违法所得、非法财物清单、没收物品、目录、审批表、审批人、申请回避审批表、受案登记表、收缴物品、收缴物品登记簿、收缴物品清单、收取保证金通知书、收容教育决定书、送达回执、听证报告书、听证笔录、提前解除收容教育决定书、统计、退还保证金通知书、违法嫌疑人信息、限期戒毒通知书、先行登记保存证据清单、先行登记物品、行政处罚、询问笔录、移送案件通知书、暂缓执行行政拘留、证据登记清单、治安调解书、执行通知书、终止案件调查决定书,全文约14392字,需要28分钟左右。感谢阅读,如有建议和意见欢迎评论交流。
一、简介
1.1、开发目的和背景

公安行政法律文书智慧管理系统,作为一款专为公安机关设计的信息化工具,其核心目标是通过高效整合和智能化管理各种行政法律文书流程,以提升执法效率,规范执法行为,同时减轻工作人员的负担。在当前数字化转型的大背景下,传统的纸质文书管理方式已无法满足公安工作的实时性、准确性以及合规性需求。
该系统的开发源于我国公安部门对现代化警务技术的迫切需求,旨在解决在处理行政案件过程中,从案由登记、受案处理到证据收集、处罚决定等各个环节中,因文书制作繁琐、查阅不便、易出错等问题。系统通过自动化生成和管理各类法律文书,实现了信息的集中化和标准化,减少了人工操作的出错几率,节省了大量的人力物力。
此外,软件还集成了电子签名、时间戳等安全技术,确保了法律文书的完整性和有效性。对抽样取证证据、执行通知书等关键文件的跟踪和管理,有助于保障程序公正透明,增强公众对执法的信任。同时,系统的统计功能可以提供案件处理的实时数据分析,为决策提供有力支持。
综上所述,公安行政法律文书智慧管理系统的开发,是为了适应公安工作向科技驱动、数据赋能转变的趋势,旨在通过科技手段优化司法行政服务,提高执法效能,以实现公共安全和社会治理的现代化目标。
1.2、软件的目标用户

公安行政法律文书智慧管理系统是一款专为公安机关及其相关执法机构设计的高效办公工具。在日常工作中,执法人员需要处理各种行政法律文书,如受案登记、调查取证、处罚决定、告知通知等。该系统整合了这些文书的生成、管理、审批和送达全过程,大大提升了工作效率并确保了法律程序的合规性。
例如,执法人员可以在系统中快速创建并填写案由,自动生成不予处理决定书或不予受理听证通知书,同时准确记录承办人信息。系统中的抽样取证证据清单和检查证等功能支持详细记录和追踪证据采集过程。此外,对于常见的文书类型,如行政处罚决定书、听证报告书和询问笔录等,只需根据预设模板填入相关信息,系统即能自动生成规范格式的文书,减少了人工操作的错误和繁琐。
本系统的目标用户主要包括各级公安机关的法制部门、派出所、治安大队、交警队等一线执法单位的工作人员,以及与之有业务往来的律师、司法人员和行政管理人员。他们需要处理大量的行政法律文书,对文书的规范化、标准化要求高,通过使用此系统,他们能够显著提高文书处理的效率,降低出错率,同时也能更好地履行职责,维护公共秩序和社会安全。
总结,公安行政法律文书智慧管理系统旨在简化行政管理工作流程,提升执法效能,保障执法公正和透明,从而更好地服务于我国的公共安全管理。
二、软件总体架构
2.1、系统概述

公安行政法律文书智慧管理系统是一款专为公安机关设计的高效、智能的信息化工具,其核心功能模块涵盖了公an行政管理的多个关键环节。该系统采用Java作为开发语言,依托SpringMVC框架构建,数据库选用成熟的MySQL,确保了系统的稳定性和性能。
系统主要包括以下功能:
1. 文书生成与管理:涵盖了案由、不予处理决定书、不予受理听证通知书等各类法律文书的自动生成和管理,简化了文书制作流程。
2. 人员信息管理:包括承办人、担保人等关键角色的信息录入与追踪,方便工作分配和责任追溯。
3. 执法流程控制:如抽样取证证据清单、传唤证、检查证等,支持全程电子化操作,提高执法效率。
4. 决策支持:审批表、审批人等功能帮助管理者进行公正、透明的决策过程。
5. 执法记录:电话查询记录、调查报告、询问笔录等,确保执法行为可追溯。
6. 行政拘留管理:包括暂扣、暂缓执行行政拘留等措施的执行和监管。
7. 证据管理:先行登记保存证据清单、证据登记清单等功能,确保证据链完整。
8. 文书流转:通过送达回执、邮寄、电子送达等方式,实现文书快速、准确地送达。
9. 统计分析:提供对执法数据的统计与分析,有助于管理层进行绩效评估和决策支持。
公安行政法律文书智慧管理系统旨在优化公安行政管理流程,提升执法效能,同时保障执法合规性,是实现公an机关数字化转型的重要支撑。通过用户友好的界面和强大的后台功能,简化工作流程,减少错误,为公an机关工作人员提供了有力的工具。
2.2、系统架构

公安行政法律文书智慧管理系统是一款以满足公安机关日常行政管理需求为核心,利用现代信息技术优化工作流程的软件。其采用先进的B/S架构设计,即浏览器/服务器架构,这使得系统可以跨平台运行,极大地提升了系统的可扩展性和易用性。
系统的核心模块设计围绕着行政执法的全生命周期,涵盖了从案由管理、受案登记、证据收集(如抽样取证证据、先行登记保存证据)到处罚决定、送达、执行等各个环节。每个功能模块都紧密关联,形成一个有机的整体。例如,承办人模块负责人员的职责分配,承办流程与审批表、审批人模块相辅相成;询问笔录、听证笔录等记录了执法过程中的重要信息,与调查报告和听证报告书相衔接。
在技术实现上,系统选用Java作为后端开发语言,结合Spring MVC框架,实现了业务逻辑与用户界面的解耦,使得代码结构清晰,易于维护。此外,数据存储和管理采用数据库技术,确保了数据的安全性和完整性。对于关键文档,如行政处罚决定书、证据登记清单等,系统还支持电子化存储和检索,提高了工作效率。
为了保证高效的数据处理和分析,系统内置了统计模块,能够实时生成各类报表,帮助管理人员快速了解执法动态和趋势。同时,系统设计了严谨的权限控制机制,保障了敏感信息的安全性和保密性。
此外,系统的前端界面设计简洁直观,方便执法人员快速操作,同时提供了详细的操作指南和帮助文档,以降低新用户的上手难度。
总结来说,公安行政法律文书智慧管理系统以其全面的功能模块、高效的技术架构和用户友好的界面设计,为公安机关的日常执法工作提供了有力的工具支持。
三、软件功能操作
3.1、系统登录
在浏览器中输入系统网址,打开登录界面后输入登录账号、登录密码、验证码即可登录。

3.2、工作台
工作台包含:案由、不予处理决定书、不予受理听证通知书、承办人、抽样取证证据、抽样取证证据清单、传唤证、担保人保证书、当场处罚决定书、登记簿、登记物品、电话查询记录、调查报告、封面目录、公安行政处罚决定书、公安行政告知笔录、检查证、解除戒毒通知书、解除收容教育证明书、举行听证通知书、扣押物品、扣押物品登记簿、扣押物品文件清单、没收保证决定书、没收违法所得、非法财物清单、没收物品、目录、审批表、审批人、申请回避审批表、受案登记表、收缴物品、收缴物品登记簿、收缴物品清单、收取保证金通知书、收容教育决定书、送达回执、听证报告书、听证笔录、提前解除收容教育决定书、统计、退还保证金通知书、违法嫌疑人信息、限期戒毒通知书、先行登记保存证据清单、先行登记物品、行政处罚、询问笔录、移送案件通知书、暂缓执行行政拘留、证据登记清单、治安调解书、执行通知书、终止案件调查决定书,根据不同角色权限菜单展示会有所区别。
3.2.1、案由

案由管理功能主要字段信息包含:案由编码、案由等。使用表格形式展示数据信息,方便用户查看和编辑。
案由管理设置新增、编辑、删除、条件搜索、查看详情等操作,可按照页面提示进行操作执行,界面结构设计简单,操作流程简洁明了,可提升用户操作体验。
3.2.2、不予处理决定书

不予处理决定书管理功能主要字段信息包含:编码、字、年度、号、控告人、现住址、工作单位、不予处理理由、承办人1、批准人、填发人、填发日期、年、月、日、案由、被控告人、日期、行案编号、公安局名称、办案单位、承办人2、公安局简称等。使用表格形式展示数据信息,方便用户查看和编辑。
不予处理决定书管理设置新增、编辑、删除、条件搜索、查看详情等操作,可按照页面提示进行操作执行,界面结构设计简单,操作流程简洁明了,可提升用户操作体验。
3.2.3、不予受理听证通知书

不予受理听证通知书管理功能主要字段信息包含:编码、字、年度、号、姓名、案由、不予受理理由、年、月、日、公安局名称、行案编号、填发人、办案单位、填发日期、公安局简称等。使用表格形式展示数据信息,方便用户查看和编辑。
不予受理听证通知书管理设置新增、编辑、删除、条件搜索、查看详情等操作,可按照页面提示进行操作执行,界面结构设计简单,操作流程简洁明了,可提升用户操作体验。
3.2.4、承办人

承办人管理功能主要字段信息包含:承办人编码、承办人等。使用表格形式展示数据信息,方便用户查看和编辑。
承办人管理设置新增、编辑、删除、条件搜索、查看详情等操作,可按照页面提示进行操作执行,界面结构设计简单,操作流程简洁明了,可提升用户操作体验。
3.2.5、抽样取证证据

抽样取证证据管理功能主要字段信息包含:编码、字、年度、号、办案单位、持有人、性别、现住址、抽样时间、编码、名称、规格、数量、数量小写、单位、特征、备注、行案编号、年龄、公安局简称等。使用表格形式展示数据信息,方便用户查看和编辑。
抽样取证证据管理设置新增、编辑、删除、条件搜索、查看详情等操作,可按照页面提示进行操作执行,界面结构设计简单,操作流程简洁明了,可提升用户操作体验。
3.2.6、抽样取证证据清单

抽样取证证据清单管理功能主要字段信息包含:编码、字、年度、号、案由、办案单位、持有人、性别、出生日期、现住址、工作单位、联系电话、抽样时间、抽样地点、年龄、持有人签名、承办人1、填发日期、公安局名称、行案编号、填发人、承办人2、公安局简称等。使用表格形式展示数据信息,方便用户查看和编辑。
抽样取证证据清单管理设置新增、编辑、删除、条件搜索、查看详情等操作,可按照页面提示进行操作执行,界面结构设计简单,操作流程简洁明了,可提升用户操作体验。
3.2.7、传唤证

传唤证管理功能主要字段信息包含:传唤证编码、字、年度、号、被传唤人、性别、出生日期、年龄、现住址、工作单位、传唤理由、指定到达时间、指定到达地点、承办人1、批准人、填发人、填发日期、年、月、日、适用条款、公安局名称、行案编号、案件名称、办案单位、执行情况、承办人2、条款2、公安局简称、证件名称、证件号码等。使用表格形式展示数据信息,方便用户查看和编辑。
传唤证管理设置新增、编辑、删除、条件搜索、查看详情等操作,可按照页面提示进行操作执行,界面结构设计简单,操作流程简洁明了,可提升用户操作体验。
3.2.8、担保人保证书

担保人保证书管理功能主要字段信息包含:编码、担保人、性别、出生日期、工作单位、现住址、联系电话、关系、被担保人、公安局、行案编号、填发人、办案单位、填发日期、职业等。使用表格形式展示数据信息,方便用户查看和编辑。
担保人保证书管理设置新增、编辑、删除、条件搜索、查看详情等操作,可按照页面提示进行操作执行,界面结构设计简单,操作流程简洁明了,可提升用户操作体验。
3.2.9、当场处罚决定书

当场处罚决定书管理功能主要字段信息包含:编码、号、年度、字、被处罚人、性别、出生日期、现住址、工作单位、法定代表人、案由、法规、条、款、项、处罚决定、复议机关、处罚地点、处罚时间、承办人1、公安局名称、年龄、年、月、日、办案单位、填发人、填发日期、承办人2、公安局简称、法院、复议、诉讼等。使用表格形式展示数据信息,方便用户查看和编辑。
当场处罚决定书管理设置新增、编辑、删除、条件搜索、查看详情等操作,可按照页面提示进行操作执行,界面结构设计简单,操作流程简洁明了,可提升用户操作体验。
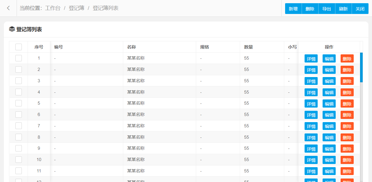
3.2.10、登记簿

登记簿管理功能主要字段信息包含:登记簿编码、编号、名称、规格、数量、小写、量、特征、备注、字、年度、号、办案单位、没收日期、公安局简称等。使用表格形式展示数据信息,方便用户查看和编辑。
登记簿管理设置新增、编辑、删除、条件搜索、查看详情等操作,可按照页面提示进行操作执行,界面结构设计简单,操作流程简洁明了,可提升用户操作体验。
3.2.11、登记物品

登记物品管理功能主要字段信息包含:编码、编号、名称、规格、数量大写、数量小写、量、特征、备注、字、年度、号、办案单位、持有人、承办日期、承办人1、承办人2、公安局简称等。使用表格形式展示数据信息,方便用户查看和编辑。
登记物品管理设置新增、编辑、删除、条件搜索、查看详情等操作,可按照页面提示进行操作执行,界面结构设计简单,操作流程简洁明了,可提升用户操作体验。
3.2.12、电话查询记录

电话查询记录管理功能主要字段信息包含:编码、姓名、性别、出生日期、派出所、现住址、证件种类、号码、犯罪记录、受话记录、受话电话、答复人、答复人电话、有无、出生年月、是否、体貌特征、有、查询时间、查询电话、办案单位、填发人、答复人职务、行案编号、填发日期等。使用表格形式展示数据信息,方便用户查看和编辑。
电话查询记录管理设置新增、编辑、删除、条件搜索、查看详情等操作,可按照页面提示进行操作执行,界面结构设计简单,操作流程简洁明了,可提升用户操作体验。
3.2.13、调查报告

调查报告管理功能主要字段信息包含:编码、字、年度、号、调查报告1、调查报告2、调查报告3、案件编号等。使用表格形式展示数据信息,方便用户查看和编辑。
调查报告管理设置新增、编辑、删除、条件搜索、查看详情等操作,可按照页面提示进行操作执行,界面结构设计简单,操作流程简洁明了,可提升用户操作体验。
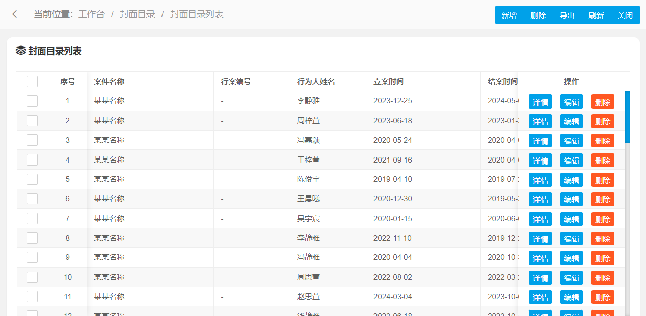
3.2.14、封面目录

封面目录管理功能主要字段信息包含:编码、案件名称、行案编号、行为人姓名、立案时间、结案时间、办案单位、填发人、审核人、卷数、页数等。使用表格形式展示数据信息,方便用户查看和编辑。
封面目录管理设置新增、编辑、删除、条件搜索、查看详情等操作,可按照页面提示进行操作执行,界面结构设计简单,操作流程简洁明了,可提升用户操作体验。
3.2.15、公安行政处罚决定书

公安行政处罚决定书管理功能主要字段信息包含:编码、字、年度、号、案由、姓名、性别、出生日期、住址、单位及职业、证件名称、证件号码、法人、行政处罚决定、办案单位、承办人1、批准人、填发人、填发日期、违法事实、证据、法律条款、履行日期、履行方式、复议机关、年、月、日、公安局名称、履行期限、年龄、执行、复议、起诉、行案编号、承办人2、公安局简称、单位、地址、清单、份数、备注1、法院等。使用表格形式展示数据信息,方便用户查看和编辑。
公安行政处罚决定书管理设置新增、编辑、删除、条件搜索、查看详情等操作,可按照页面提示进行操作执行,界面结构设计简单,操作流程简洁明了,可提升用户操作体验。
3.2.16、公安行政告知笔录

公安行政告知笔录管理功能主要字段信息包含:编码、告知单位、承办人1、被告知人、被告知单位、法定代表人、告知内容、处罚、听证机关、公安局名称、行案编号、填发人、办案单位、承办人2等。使用表格形式展示数据信息,方便用户查看和编辑。
公安行政告知笔录管理设置新增、编辑、删除、条件搜索、查看详情等操作,可按照页面提示进行操作执行,界面结构设计简单,操作流程简洁明了,可提升用户操作体验。
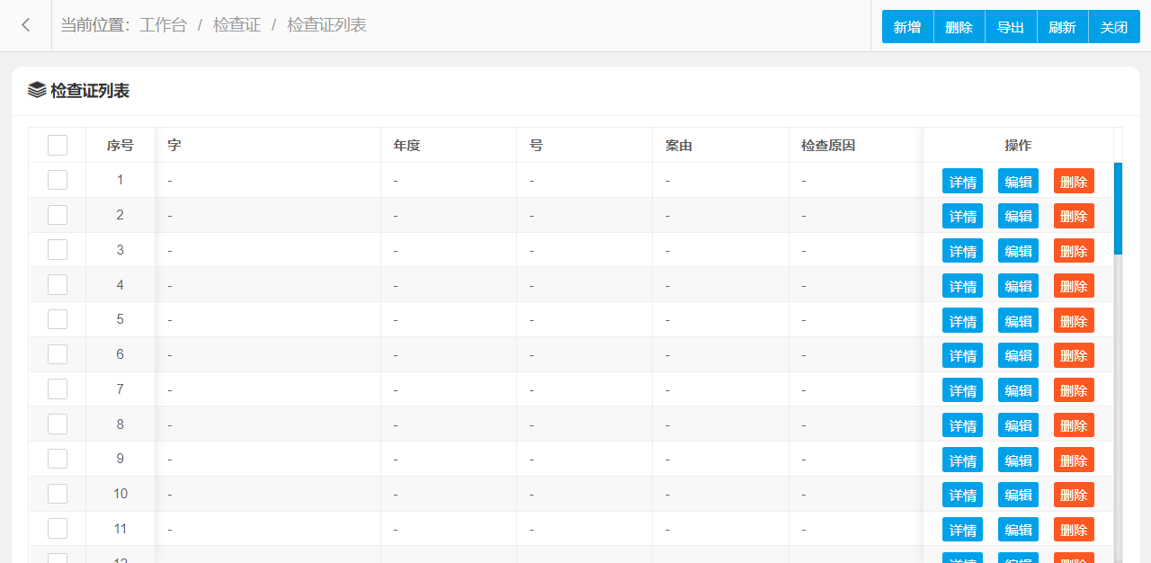
3.2.17、检查证

检查证管理功能主要字段信息包含:检查证编码、字、年度、号、案由、检查原因、检查人1、批准人、批准时间、填发人、填发日期、检查依据、检查对象地点、年、月、日、公安局名称、行案编号、办案单位、检查人2、公安局简称、依据2等。使用表格形式展示数据信息,方便用户查看和编辑。
检查证管理设置新增、编辑、删除、条件搜索、查看详情等操作,可按照页面提示进行操作执行,界面结构设计简单,操作流程简洁明了,可提升用户操作体验。
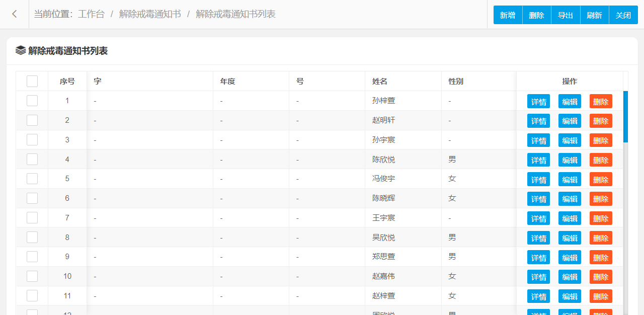
3.2.18、解除戒毒通知书

解除戒毒通知书管理功能主要字段信息包含:编码、字、年度、号、姓名、性别、出生日期、现住址、工作单位、开始时间、结束时间、承办人1、批准人、填发人、填发日期、期限、收容所名称、年、月、日、公安局名称、年度1、号1、行案编号、字1、地点、办案单位、承办人2、公安局简称等。使用表格形式展示数据信息,方便用户查看和编辑。
解除戒毒通知书管理设置新增、编辑、删除、条件搜索、查看详情等操作,可按照页面提示进行操作执行,界面结构设计简单,操作流程简洁明了,可提升用户操作体验。
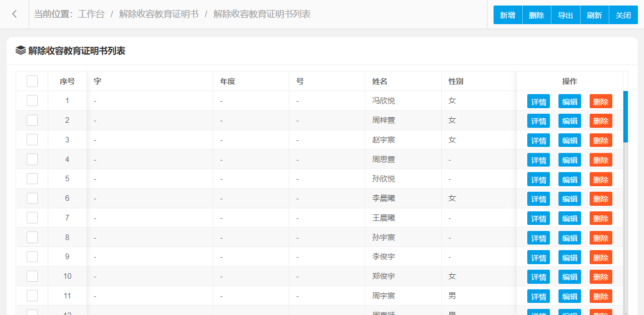
3.2.19、解除收容教育证明书

解除收容教育证明书管理功能主要字段信息包含:编码、字、年度、号、姓名、性别、出生日期、现住址、工作单位、原因、开始时间、结束时间、地点、承办人1、批准人、填发人、填发日期、期限、通知家属情况、收容所名称、字1、年、月、日、公安局名称、年度1、号1、收教单位、行案编号、办案单位、承办人2、公安局简称等。使用表格形式展示数据信息,方便用户查看和编辑。
解除收容教育证明书管理设置新增、编辑、删除、条件搜索、查看详情等操作,可按照页面提示进行操作执行,界面结构设计简单,操作流程简洁明了,可提升用户操作体验。
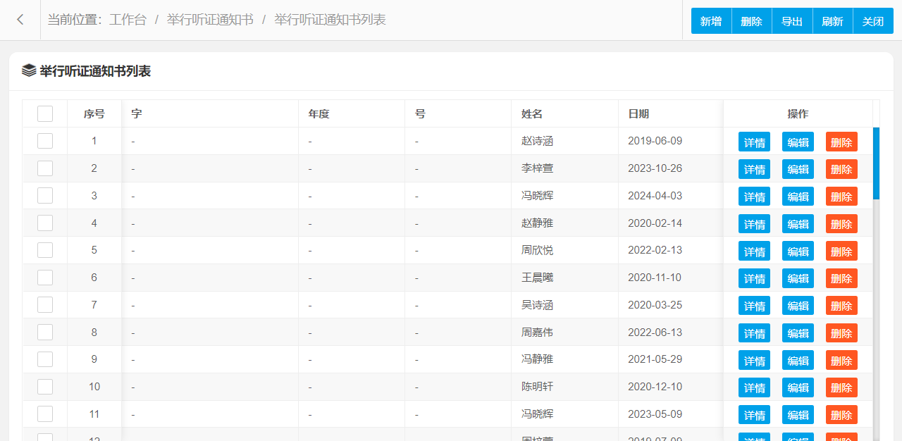
3.2.20、举行听证通知书

举行听证通知书管理功能主要字段信息包含:编码、字、年度、号、姓名、日期、地点、案由、年、月、日、行案编号、公安局名称、填发人、办案单位、嫌疑人、填发日期、公安局简称等。使用表格形式展示数据信息,方便用户查看和编辑。
举行听证通知书管理设置新增、编辑、删除、条件搜索、查看详情等操作,可按照页面提示进行操作执行,界面结构设计简单,操作流程简洁明了,可提升用户操作体验。
3.2.21、扣押物品

扣押物品管理功能主要字段信息包含:编码、编号、名称、规格、数量大写、数量小写、量、特征、备注、字、年度、号、办案单位、持有人、公安局简称等。使用表格形式展示数据信息,方便用户查看和编辑。
扣押物品管理设置新增、编辑、删除、条件搜索、查看详情等操作,可按照页面提示进行操作执行,界面结构设计简单,操作流程简洁明了,可提升用户操作体验。
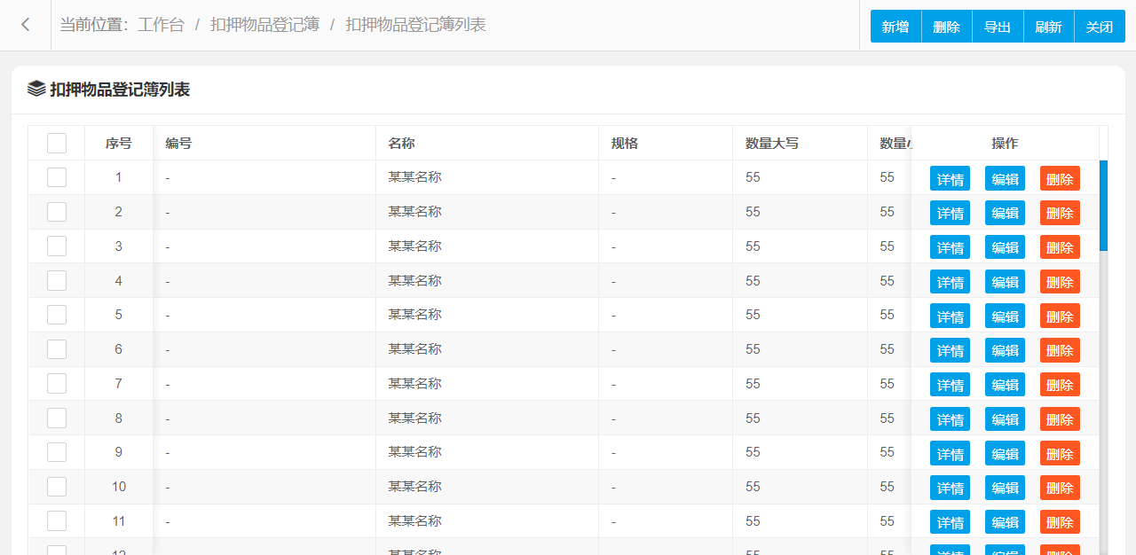
3.2.22、扣押物品登记簿

扣押物品登记簿管理功能主要字段信息包含:编码、编号、名称、规格、数量大写、数量小写、量、特征、备注、字、年度、号、办案单位、持有人、公安局简称等。使用表格形式展示数据信息,方便用户查看和编辑。
扣押物品登记簿管理设置新增、编辑、删除、条件搜索、查看详情等操作,可按照页面提示进行操作执行,界面结构设计简单,操作流程简洁明了,可提升用户操作体验。
3.2.23、扣押物品文件清单

扣押物品文件清单管理功能主要字段信息包含:编码、字、年度、号、案由、办案单位、持有人、性别、出生日期、现住址、工作单位、联系电话、持有人签名、签名日期、承办人1、公安局名称、行案编号、填发人、填发日期、承办人2、公安局简称等。使用表格形式展示数据信息,方便用户查看和编辑。
扣押物品文件清单管理设置新增、编辑、删除、条件搜索、查看详情等操作,可按照页面提示进行操作执行,界面结构设计简单,操作流程简洁明了,可提升用户操作体验。
3.2.24、没收保证决定书

没收保证决定书管理功能主要字段信息包含:编码、字、年度、号、姓名、性别、出生日期、保证金金额、没收原因、承办人1、批准人、填发人、填发日期、交款日期、复议机关、年、月、日、公安局名称、金额小写、行案编号、办案单位、承办人2、公安局简称、法院等。使用表格形式展示数据信息,方便用户查看和编辑。
没收保证决定书管理设置新增、编辑、删除、条件搜索、查看详情等操作,可按照页面提示进行操作执行,界面结构设计简单,操作流程简洁明了,可提升用户操作体验。
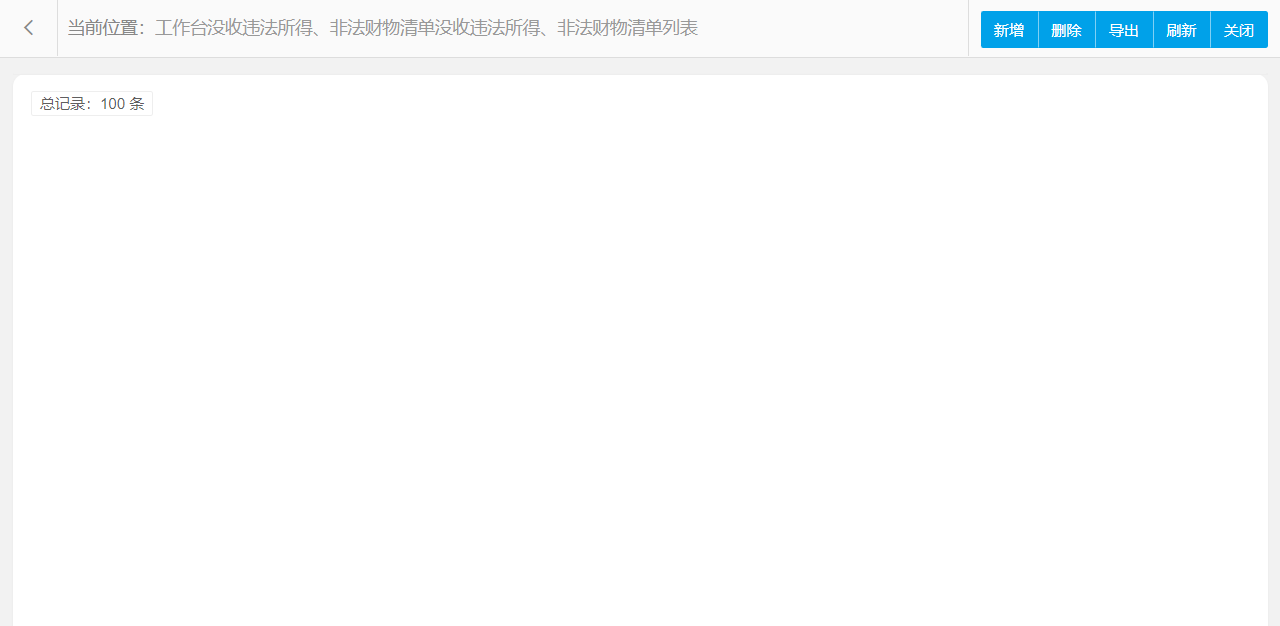
3.2.25、没收违法所得、非法财物清单

没收违法所得、非法财物清单管理功能主要字段信息包含:编码、字、年度、号、办案单位、承办人1、承办日期、公安局名称、字1、年度1、号1、行案编号、填发人、承办人2、公安局简称、被处罚人、备注1等。使用表格形式展示数据信息,方便用户查看和编辑。
没收违法所得、非法财物清单管理设置新增、编辑、删除、条件搜索、查看详情等操作,可按照页面提示进行操作执行,界面结构设计简单,操作流程简洁明了,可提升用户操作体验。
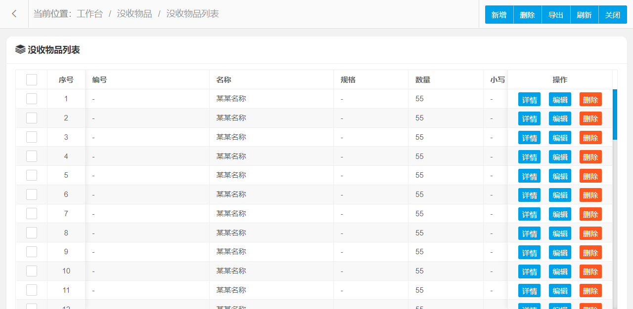
3.2.26、没收物品

没收物品管理功能主要字段信息包含:编码、编号、名称、规格、数量、小写、量、特征、备注、字、年度、号、办案单位、没收日期、公安局简称等。使用表格形式展示数据信息,方便用户查看和编辑。
没收物品管理设置新增、编辑、删除、条件搜索、查看详情等操作,可按照页面提示进行操作执行,界面结构设计简单,操作流程简洁明了,可提升用户操作体验。
3.2.27、目录
3.2.28、审批表

审批表管理功能主要字段信息包含:审批表编码、行案编号、字、年度、号、案由、发案时间、案件文号、姓名、性别、出生日期、民族、文化程度、证件号码、现住址、户籍所在地、工作单位、违法犯罪记录、违法嫌疑单位、法定代表人、地址、同案其它人、违法事实、承办人意见、承办人1、承办日期、承办单位意见、负责人签名日期、审批表名、证件种类、字1、年度1、号1、审核意见、审核日期、证据、审批意见、审批日期、负责人、审核人、审批人、填发人、办案单位、承办人2、公安局简称、备注1、备注2等。使用表格形式展示数据信息,方便用户查看和编辑。
审批表管理设置新增、编辑、删除、条件搜索、查看详情等操作,可按照页面提示进行操作执行,界面结构设计简单,操作流程简洁明了,可提升用户操作体验。
3.2.29、审批人

审批人管理功能主要字段信息包含:审批人编码、审批人等。使用表格形式展示数据信息,方便用户查看和编辑。
审批人管理设置新增、编辑、删除、条件搜索、查看详情等操作,可按照页面提示进行操作执行,界面结构设计简单,操作流程简洁明了,可提升用户操作体验。
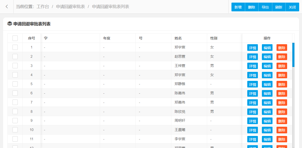
3.2.30、申请回避审批表

申请回避审批表管理功能主要字段信息包含:编码、字、年度、号、姓名、性别、出生日期、现住址、工作单位、联系电话、姓名1、性别1、工作单位1、职务1、姓名2、性别2、工作单位2、职务2、申请回避理由、办案单位意见、公安机关审批意见、承办人1、填发日期、负责人、审批日期、公安局名称、行案编号、填发人、办案单位、承办人2、公安局简称等。使用表格形式展示数据信息,方便用户查看和编辑。
申请回避审批表管理设置新增、编辑、删除、条件搜索、查看详情等操作,可按照页面提示进行操作执行,界面结构设计简单,操作流程简洁明了,可提升用户操作体验。
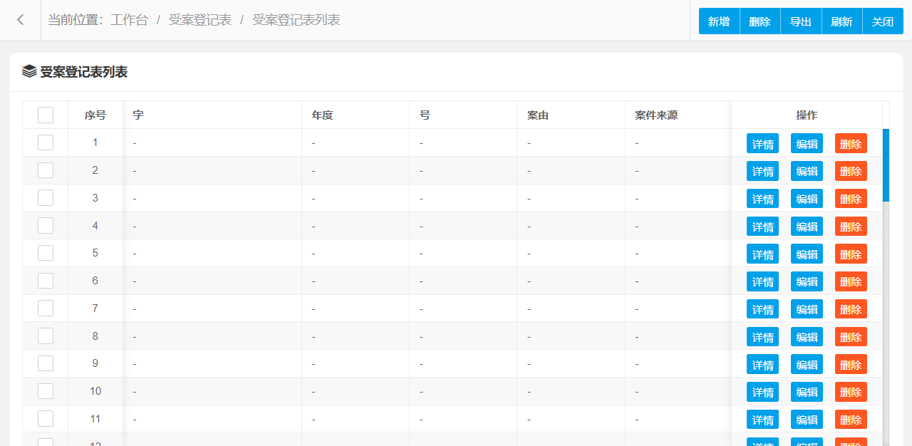
3.2.31、受案登记表

受案登记表管理功能主要字段信息包含:编码、字、年度、号、案由、案件来源、报案时间、报案方式、姓名、性别、出生日期、现住址、单位及职业、联系电话、办案单位、接报人、简要案情、受案意见、承办人1、填发日期、审批人、审批意见、审批日期、行案编号、案件名称、公安局名称、填发人、承办人2、公安局简称、违法嫌疑人、性别1、出生日期1、现住址1、单位及职业1、证件名称、证件号码、单位、地址、法人代表、备注等。使用表格形式展示数据信息,方便用户查看和编辑。
受案登记表管理设置新增、编辑、删除、条件搜索、查看详情等操作,可按照页面提示进行操作执行,界面结构设计简单,操作流程简洁明了,可提升用户操作体验。
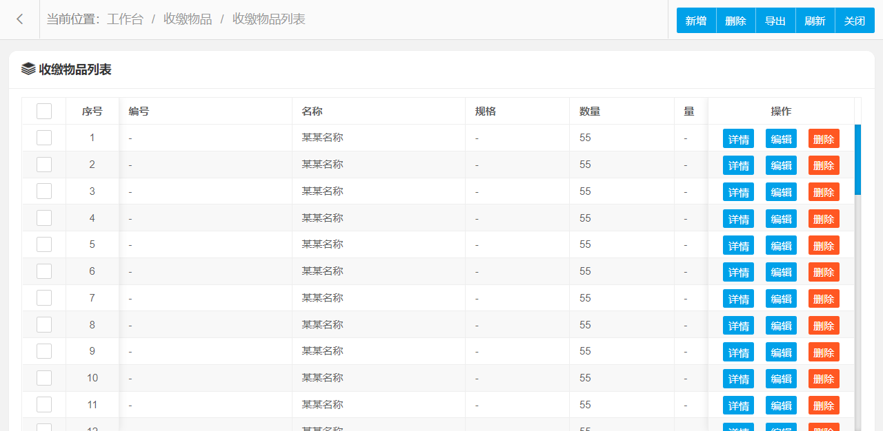
3.2.32、收缴物品

收缴物品管理功能主要字段信息包含:编码、编号、名称、规格、数量、量、数量小写、特征、发还情况、办案单位、证件名称、证件号码、单位、地址、法人代表、备注1、字、年度、号、物品持有人、性别、出生日期、现住址、工作单位、行案编号、公安局简称、备注2等。使用表格形式展示数据信息,方便用户查看和编辑。
收缴物品管理设置新增、编辑、删除、条件搜索、查看详情等操作,可按照页面提示进行操作执行,界面结构设计简单,操作流程简洁明了,可提升用户操作体验。
3.2.33、收缴物品登记簿

收缴物品登记簿管理功能主要字段信息包含:编码、编号、名称、规格、数量、量、数量小写、特征、发还情况、办案单位、证件名称、证件号码、单位、地址、法人代表、备注1、字、年度、号、物品持有人、性别、出生日期、现住址、工作单位、行案编号、公安局简称、备注2等。使用表格形式展示数据信息,方便用户查看和编辑。
收缴物品登记簿管理设置新增、编辑、删除、条件搜索、查看详情等操作,可按照页面提示进行操作执行,界面结构设计简单,操作流程简洁明了,可提升用户操作体验。
3.2.34、收缴物品清单

收缴物品清单管理功能主要字段信息包含:编码、字、年度、号、物品持有人、性别、出生日期、现住址、工作单位、承办单位、承办人1、承办日期、公安局名称、行案编号、填发人、办案单位、承办人2、公安局简称、法院、收缴、追缴、证件名称、证件号码、单位、地址、法人代表、复议机关、依据法规、备注1、备注2等。使用表格形式展示数据信息,方便用户查看和编辑。
收缴物品清单管理设置新增、编辑、删除、条件搜索、查看详情等操作,可按照页面提示进行操作执行,界面结构设计简单,操作流程简洁明了,可提升用户操作体验。
3.2.35、收取保证金通知书

收取保证金通知书管理功能主要字段信息包含:编码、字、年度、号、案由、保证金交纳人、金额、收款单位、承办人1、批准人、填发人、填发日期、年、月、日、金额小写、公安局名称、行案编号、出生日期、性别、被担保人、办案单位、承办人2、公安局简称、职业等。使用表格形式展示数据信息,方便用户查看和编辑。
收取保证金通知书管理设置新增、编辑、删除、条件搜索、查看详情等操作,可按照页面提示进行操作执行,界面结构设计简单,操作流程简洁明了,可提升用户操作体验。
3.2.36、收容教育决定书

收容教育决定书管理功能主要字段信息包含:编码、字、年度、号、姓名、性别、出生日期、现住址、工作单位、原因、开始时间、结束时间、地点、承办人1、批准人、填发人、填发日期、期限、事实、收容所名称、条款、年、月、日、公安局名称、复议机关、行案编号、收容教育、延长收容教育、办案单位、承办人2、公安局简称、证件名称、证件号码、法规、款、项等。使用表格形式展示数据信息,方便用户查看和编辑。
收容教育决定书管理设置新增、编辑、删除、条件搜索、查看详情等操作,可按照页面提示进行操作执行,界面结构设计简单,操作流程简洁明了,可提升用户操作体验。
3.2.37、送达回执

送达回执管理功能主要字段信息包含:编码、字、年度、号、文书名称、送达时间、时、送达地点、送达方式、受送达人、代收人、代收原因、与受达人关系、拒收原因、见证人、填发人、备注、履行日期、行案编号、填发日期、送达人1、送达人2、公安局简称等。使用表格形式展示数据信息,方便用户查看和编辑。
送达回执管理设置新增、编辑、删除、条件搜索、查看详情等操作,可按照页面提示进行操作执行,界面结构设计简单,操作流程简洁明了,可提升用户操作体验。
3.2.38、听证报告书

听证报告书管理功能主要字段信息包含:编码、开始时间、结束时间、地点、举行方式、听证主持人、听证员、记录员、违法嫌疑人、性别、出生日期、现住址、工作单位、法定代理人、案由、行案编号、委托代理人、关系人、关系人的代理人、承办人、字、年度、号、听证会内容、听证会内容2、听证会内容3、听证会内容4、办案单位、填发人、承办人2等。使用表格形式展示数据信息,方便用户查看和编辑。
听证报告书管理设置新增、编辑、删除、条件搜索、查看详情等操作,可按照页面提示进行操作执行,界面结构设计简单,操作流程简洁明了,可提升用户操作体验。
3.2.39、听证笔录

听证笔录管理功能主要字段信息包含:编码、开始时间、结束时间、地点、举行方式、听证主持人、听证员、记录员、违法嫌疑人、性别、出生日期、现住址、工作单位、法定代理人、案由、行案编号、委托代理人、关系人、关系人的代理人、承办人、字、年度、号、听证内容、听证记录2、听证记录3、听证记录4、填发人、办案单位等。使用表格形式展示数据信息,方便用户查看和编辑。
听证笔录管理设置新增、编辑、删除、条件搜索、查看详情等操作,可按照页面提示进行操作执行,界面结构设计简单,操作流程简洁明了,可提升用户操作体验。
3.2.40、提前解除收容教育决定书

提前解除收容教育决定书管理功能主要字段信息包含:编码、字、年度、号、姓名、性别、出生日期、现住址、工作单位、原因、开始时间、结束时间、地点、承办人1、批准人、填发人、填发日期、期限、字1、收容所名称、条款、年、月、日、年度1、号1、解除日期、行案编号、公安局名称、解除原因、办案单位、承办人2、公安局简称等。使用表格形式展示数据信息,方便用户查看和编辑。
提前解除收容教育决定书管理设置新增、编辑、删除、条件搜索、查看详情等操作,可按照页面提示进行操作执行,界面结构设计简单,操作流程简洁明了,可提升用户操作体验。
3.2.41、统计

统计管理功能主要字段信息包含:统计编码、统计项目、数值等。使用表格形式展示数据信息,方便用户查看和编辑。
统计管理设置新增、编辑、删除、条件搜索、查看详情等操作,可按照页面提示进行操作执行,界面结构设计简单,操作流程简洁明了,可提升用户操作体验。
3.2.42、退还保证金通知书

退还保证金通知书管理功能主要字段信息包含:编码、字、年度、号、银行、姓名、性别、出生日期、被担保人、保证金金额、取保日期、承办人1、批准人、填发人、填发日期、交款日期、年、月、日、公安局名称、行案编号、金额小写、办案单位、承办人2、公安局简称等。使用表格形式展示数据信息,方便用户查看和编辑。
退还保证金通知书管理设置新增、编辑、删除、条件搜索、查看详情等操作,可按照页面提示进行操作执行,界面结构设计简单,操作流程简洁明了,可提升用户操作体验。
3.2.43、违法嫌疑人信息

违法嫌疑人管理功能主要字段信息包含:违法嫌疑人编码、行案编号、字、年度、号、案由、发案时间、案件文号、姓名、性别、出生日期、民族、文化程度、身份证件、现住址、户籍所在地、工作单位、违法犯罪记录、违法嫌疑单位、法定代表人、地址、同案其它人、违法事实、承办人1、证件种类、字1、年度1、号1、证据、行政处罚决定、处罚日期、复议、执行、到案时间、电话号码、办案单位、家属或所在单位、承办人2等。使用表格形式展示数据信息,方便用户查看和编辑。
违法嫌疑人管理设置新增、编辑、删除、条件搜索、查看详情等操作,可按照页面提示进行操作执行,界面结构设计简单,操作流程简洁明了,可提升用户操作体验。
3.2.44、限期戒毒通知书

限期戒毒通知书管理功能主要字段信息包含:编码、字、年度、号、姓名、性别、出生日期、现住址、工作单位、开始时间、结束时间、承办人1、批准人、填发人、填发日期、期限、监管单位、年、月、日、公安局名称、办案单位、行案编号、承办人2、公安局简称、证件名称、证件号码等。使用表格形式展示数据信息,方便用户查看和编辑。
限期戒毒通知书管理设置新增、编辑、删除、条件搜索、查看详情等操作,可按照页面提示进行操作执行,界面结构设计简单,操作流程简洁明了,可提升用户操作体验。
3.2.45、先行登记保存证据清单

先行登记保存证据清单管理功能主要字段信息包含:编码、字、年度、号、案由、办案单位、证据持有人、性别、出生日期、现住址、工作单位、联系电话、开始日期、结束日期、保存地点、持有人、承办人1、签名日期、公安局名称、行案编号、填发人、填发日期、承办日期、承办人2、公安局简称等。使用表格形式展示数据信息,方便用户查看和编辑。
先行登记保存证据清单管理设置新增、编辑、删除、条件搜索、查看详情等操作,可按照页面提示进行操作执行,界面结构设计简单,操作流程简洁明了,可提升用户操作体验。
3.2.46、先行登记物品

先行登记物品管理功能主要字段信息包含:编码、编号、名称、规格、数量大写、数量小写、量、特征、备注、字、年度、号、办案单位、持有人、承办日期、承办人1、承办人2、公安局简称等。使用表格形式展示数据信息,方便用户查看和编辑。
先行登记物品管理设置新增、编辑、删除、条件搜索、查看详情等操作,可按照页面提示进行操作执行,界面结构设计简单,操作流程简洁明了,可提升用户操作体验。
3.2.47、行政处罚

行政处罚管理功能主要字段信息包含:编码、处罚种类、数、量、字、年度、号、姓名、性别、年龄、住址、单位、地址、案由、办案单位、承办人1、办案日期、执行、承办人2等。使用表格形式展示数据信息,方便用户查看和编辑。
行政处罚管理设置新增、编辑、删除、条件搜索、查看详情等操作,可按照页面提示进行操作执行,界面结构设计简单,操作流程简洁明了,可提升用户操作体验。
3.2.48、询问笔录

询问笔录管理功能主要字段信息包含:编码、时间、时间1、地点、询问人、工作单位、记录人、工作单位1、被询问人、性别、出生日期、文化程度、户籍所在地、现住址、工作单位2、联系电话、案由、行案编号、询问内容、询问内容2、询问内容3、询问内容4、询问内容5、字、年度、号、填发人、办案单位、证件名称、证件号码、询问次数、页数等。使用表格形式展示数据信息,方便用户查看和编辑。
询问笔录管理设置新增、编辑、删除、条件搜索、查看详情等操作,可按照页面提示进行操作执行,界面结构设计简单,操作流程简洁明了,可提升用户操作体验。
3.2.49、移送案件通知书

移送案件通知书管理功能主要字段信息包含:编码、字、年度、号、案由、受案文号、违法嫌疑人、性别、出生日期、现住址、工作单位、送往单位、承办人1、批准人、填发人、填发日期、移送公安局、接受公安局、页数、附件、年、月、日、行案编号、公安局名称、受案日期、移送日期、办案单位、字1、年度1、号1、承办人2、公安局简称等。使用表格形式展示数据信息,方便用户查看和编辑。
移送案件通知书管理设置新增、编辑、删除、条件搜索、查看详情等操作,可按照页面提示进行操作执行,界面结构设计简单,操作流程简洁明了,可提升用户操作体验。
3.2.50、暂缓执行行政拘留

暂缓执行行政拘留管理功能主要字段信息包含:编码、字、年度、号、姓名、性别、出生日期、现住址、字1、年度1、号1、期限、暂缓执行原因、依据法规、承办人1、批准人、填发人、填发日期、年、月、日、行案编号、公安局名称、拘留所、办案单位、承办人2、公安局简称、证件名称、证件号码、单位及职业、备注1等。使用表格形式展示数据信息,方便用户查看和编辑。
暂缓执行行政拘留管理设置新增、编辑、删除、条件搜索、查看详情等操作,可按照页面提示进行操作执行,界面结构设计简单,操作流程简洁明了,可提升用户操作体验。
3.2.51、证据登记清单

证据登记清单管理功能主要字段信息包含:编码、字、年度、号、案由、办案单位、证据持有人、性别、出生日期、现住址、工作单位、联系电话、开始日期、结束日期、保存地点、持有人、承办人1、签名日期、公安局名称、行案编号、填发人、填发日期、承办日期、承办人2、公安局简称等。使用表格形式展示数据信息,方便用户查看和编辑。
证据登记清单管理设置新增、编辑、删除、条件搜索、查看详情等操作,可按照页面提示进行操作执行,界面结构设计简单,操作流程简洁明了,可提升用户操作体验。
3.2.52、治安调解书

治安调解书管理功能主要字段信息包含:编码、行案编号、主持人、单位、职务、甲方、住址甲、代理人甲、住址1、乙方、住址2、代理人2、住址22、简要案情、协议、公安局名称、派出所、年、月、日、调解时间、年度、号、字、填发人、填发日期、公安局简称、办案单位、调解地点、其它参加人、记录人、记录人单位、记录人职务、甲方意见、乙方意见等。使用表格形式展示数据信息,方便用户查看和编辑。
治安调解书管理设置新增、编辑、删除、条件搜索、查看详情等操作,可按照页面提示进行操作执行,界面结构设计简单,操作流程简洁明了,可提升用户操作体验。
3.2.53、执行通知书

执行通知书管理功能主要字段信息包含:编码、字、年度、号、被执行人、执行单位、字号、执行期限、办案单位、承办人1、填发人、填发日期、开始时间、结束时间、年、月、日、公安局名称、经办人、行案编号、入所日期、字1、年度1、号1、承办人2、公安局简称、处罚种类、性别等。使用表格形式展示数据信息,方便用户查看和编辑。
执行通知书管理设置新增、编辑、删除、条件搜索、查看详情等操作,可按照页面提示进行操作执行,界面结构设计简单,操作流程简洁明了,可提升用户操作体验。
3.2.54、终止案件调查决定书

终止案件调查决定书管理功能主要字段信息包含:编码、字、年度、号、案由、依据法规、违法嫌疑人、出生日期、现住址、违法单位名称、地址、终止原因、承办人1、批准人、填发人、填发日期、原因、公安局名称、年、月、日、性别、行案编号、字1、年度1、号1、办案单位、承办人2、公安局简称等。使用表格形式展示数据信息,方便用户查看和编辑。
终止案件调查决定书管理设置新增、编辑、删除、条件搜索、查看详情等操作,可按照页面提示进行操作执行,界面结构设计简单,操作流程简洁明了,可提升用户操作体验。














暂无评论内容