
导读:本文将从公安派出所留置人员智慧管理系统的开发目的、开发背景、目标用户、系统设计、系统架构、主要功能模块等方面进行分析,软件主要功能包括:按身份证号查询、按姓名查询、继续盘问登记、盘问23小时未离开、盘问超过24小时,全文约4054字,需要8分钟左右。感谢阅读,如有建议和意见欢迎评论交流。
一、引言
1.1、开发目的和背景

在当前信息化社会的背景下,公安机关的工作效率和服务质量面临着严峻的挑战与升级需求。公安派出所作为治安管理的第一线,对于留置人员的处理工作既需要严谨规范,又需高效便捷。为了解决这一问题,我们开发了”公安派出所留置人员智慧管理系统”。
该系统的主要目标是通过集成先进的信息技术,实现对留置人员的全程、精准管理,提升执法效能,保障人权。系统的核心功能模块包括按身份证号和姓名进行快速查询,方便工作人员迅速找到相关信息;继续盘问登记模块则能详细记录并追踪每一次盘问过程,确保程序公正透明;对于特殊情况,如盘问23小时未离开或超过24小时,系统会自动预警并生成报告,提醒相关人员采取必要措施,防止违法侵犯公民权利。
此外,系统还具备数据安全保护和隐私加密功能,严格遵守个人信息保护法,确保在提供便利服务的同时,保障留置人员的基本权益。通过智能化手段,我们期望简化繁琐的手工操作,降低人为错误,提高执法效率,让公安派出所的工作更加科技化、人性化。
总结来说,”公安派出所留置人员智慧管理系统”的开发是为了适应新时代公安工作的发展需求,旨在通过科技的力量,提升公安工作的现代化水平,维护公共安全和社会秩序,同时保障公民的合法权益,是现代警务理念与技术融合的重要体现。
1.2、软件的目标用户

在现代社会,公安派出所的工作面临着大量的信息处理任务,尤其是在处理涉及留置人员的案件时,效率和准确性至关重要。我们的智慧管理系统旨在解决这一问题,为一线警务人员提供智能化的解决方案。当需要查找特定人员的信息,如嫌疑人或者留置人员,执法人员可以通过系统快速输入身份证号或姓名进行实时查询,极大地减少了手动搜索的时间和误差。对于继续盘问登记,系统会自动生成电子表格,清晰记录每一次盘问的时间、地点和原因,便于追踪和管理。当盘问时间达到23小时,系统会自动发出警报,提醒工作人员注意可能的法律问题,防止超期留置。如果盘问时间超过24小时,系统会自动将相关记录发送给上级管理部门,确保程序合规。
该系统的首要目标用户是公安派出所的一线执法和管理人员,他们负责日常的治安管理和案件处理。系统设计简洁易用,旨在提升他们的工作效率,减少繁琐的手动操作,同时保障留置人员的权利,防止因操作不当导致的法律风险。此外,系统还适用于法务部门,便于他们进行数据统计和分析,以优化工作流程和提高执法透明度。通过智慧管理,我们的系统将帮助公安机关实现数字化、规范化管理,提升整个行业的服务水平和公众对警务工作的信任度。
二、软件总体设计
2.1、系统概述

该系统是一款专为公安机关设计的智能化管理工具,采用先进的Java开发语言与SpringMVC框架构建,具有高效稳定、易扩展的特点。其核心功能模块涵盖了对留置人员信息的全方位管理。
1. 身份证号与姓名查询:用户可以通过输入留置人员的身份证号码或姓名,快速准确地找到相关记录,极大提高了信息检索效率。系统支持模糊查询,便于处理大量数据。
2. 继续盘问登记:此模块用于实时记录和管理留置人员的继续盘问情况,包括开始时间、结束时间、原因等,以便于追踪和评估调查进展。
3. 盘问23小时未离开监控:系统会自动检测并通知管理员,如果某名留置人员已超过23小时未离开盘问室,提醒相关人员进行查看,保障留置人员权益和程序合规。
4. 盘问超过24小时预警:对于已经超过法定24小时留置期限的情况,系统会自动发出预警,提醒警员按照法律规定及时作出处理,确保法律程序的严格执行。
通过MySQL数据库的支持,所有数据都得到安全可靠的存储,且系统设计了严格的权限管理和审计功能,保证数据隐私和操作透明。公安派出所留置人员智慧管理系统旨在提升工作效率,规范工作流程,同时提高执法公正性,是现代化警务管理的重要组成部分。
2.2、系统架构

公安派出所留置人员智慧管理系统采用先进的B/S(Browser/Server)架构设计,这种架构将业务逻辑和数据存储分离到服务器端,用户通过浏览器即可访问,极大地提高了系统的可维护性、灵活性和扩展性。
底层技术框架选用Java,作为后端开发的主要语言,它以其强大的面向对象特性、丰富的API库以及高度的跨平台兼容性,为系统提供了稳定可靠的基础。Spring MVC则作为前端与后端之间的关键桥梁,实现了松耦合和模型-视图-控制器(MVC)的解耦,提升了代码的可维护性和复用性。
1. 身份识别模块:通过身份证号和姓名作为查询接口,提供快速、准确的留置人员信息查找功能。该模块与数据库紧密集成,实现高效的数据检索。
2. 继续盘问登记模块:设计简单易用的界面,录入和管理盘问过程的相关信息,包括开始时间、原因、结果等,确保合规操作。
3. 超时监控模块:实时监控盘问时间,一旦达到23小时未离开或超过24小时,系统自动触发警报,提醒值班人员处理。
4. 数据可视化模块:通过图表展示盘问情况和留置人员分布,帮助决策者直观掌握工作状态。
系统严格遵循信息安全规范,采用了加密传输、角色权限管理等措施,保证数据的安全性和隐私。只有授权的人员才能访问相关的信息,确保信息的保密性。
模块化的设计使得系统易于扩展,未来可根据需求增加新的功能或优化现有功能。同时,B/S架构使得对服务器的维护更为便捷,只需更新服务器端的代码,无需影响客户端。
总结,公安派出所留置人员智慧管理系统采用高效的B/S架构,结合Java和Spring MVC技术,旨在提升公安派出所日常工作的智能化水平,实现信息的快速检索、合规操作监督以及风险预警,以提升整体工作效率和管理水平。
三、软件功能演示
3.1、系统登录
在浏览器中输入系统网址,打开登录界面后输入登录账号、登录密码、验证码即可登录。

3.2、工作台
工作台包含:按身份证号查询、按姓名查询、继续盘问登记、盘问23小时未离开、盘问超过24小时,根据不同角色权限菜单展示会有所区别。
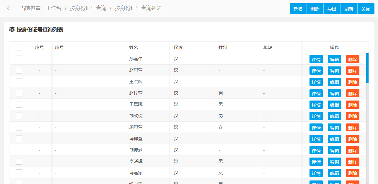
3.2.1、按身份证号查询

按身份证号查询管理功能主要字段信息包含:编码、序号、姓名、民族、性别、年龄、身份证号、籍贯、现住址、健康状况、继续盘问送达数据时间、继续盘问原因、延长继续盘问原因、到达时间、离开时间、时长、分钟、承办单位、承办人一、承办人一警号、承办人一电话、承办人二、承办人二警号、承办人二电话、登记人姓名、接人一签字、接人一警号、接人二签字、接人二警号、备注、状态、照片、审批表上传等。使用表格形式展示数据信息,方便用户查看和编辑。
按身份证号查询管理设置新增、编辑、删除、条件搜索、查看详情等操作,可按照页面提示进行操作执行,界面结构设计简单,操作流程简洁明了,可提升用户操作体验。
3.2.2、按姓名查询

按姓名查询管理功能主要字段信息包含:编码、序号、姓名、民族、性别、年龄、身份证号、籍贯、现住址、健康状况、继续盘问送达数据时间、继续盘问原因、延长继续盘问原因、到达时间、离开时间、时长、分钟、承办单位、承办人一、承办人一警号、承办人一电话、承办人二、承办人二警号、承办人二电话、登记人姓名、接人一签字、接人一警号、接人二签字、接人二警号、备注、状态、照片、审批表上传等。使用表格形式展示数据信息,方便用户查看和编辑。
按姓名查询管理设置新增、编辑、删除、条件搜索、查看详情等操作,可按照页面提示进行操作执行,界面结构设计简单,操作流程简洁明了,可提升用户操作体验。
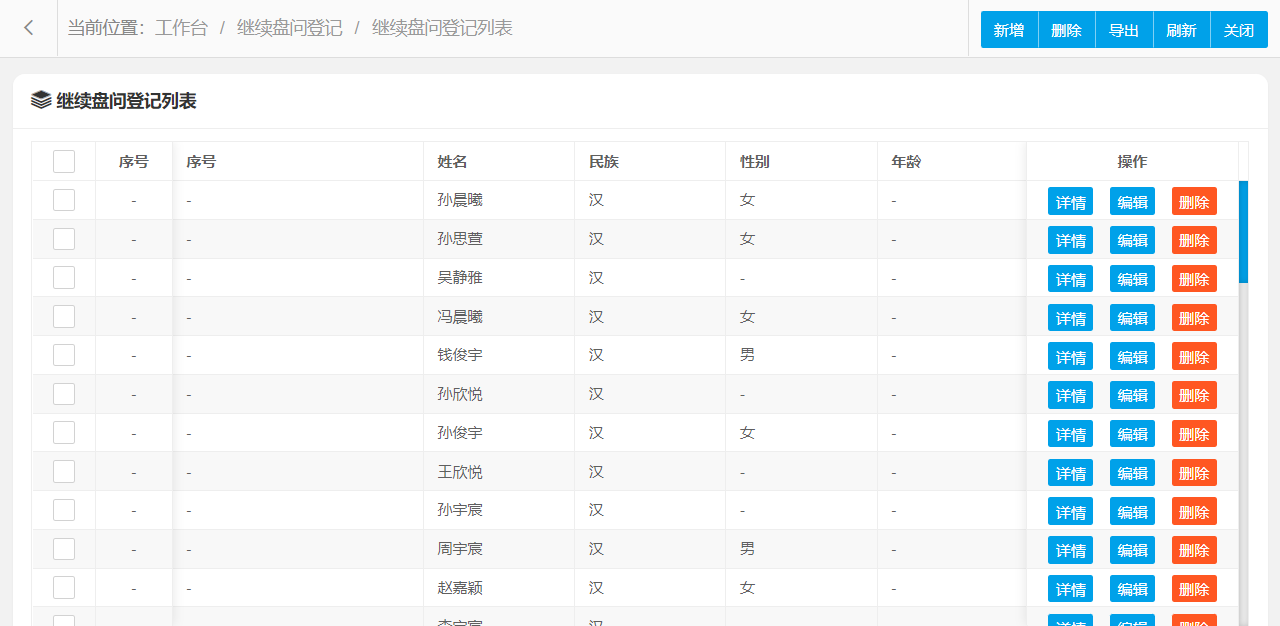
3.2.3、继续盘问登记

继续盘问登记管理功能主要字段信息包含:编码、序号、姓名、民族、性别、年龄、身份证号、籍贯、现住址、健康状况、继续盘问送达数据时间、继续盘问原因、延长继续盘问原因、到达时间、离开时间、时长、分钟、承办单位、承办人一、承办人一警号、承办人一电话、承办人二、承办人二警号、承办人二电话、登记人姓名、接人一签字、接人一警号、接人二签字、接人二警号、备注、状态、照片、审批表上传等。使用表格形式展示数据信息,方便用户查看和编辑。
继续盘问登记管理设置新增、编辑、删除、条件搜索、查看详情等操作,可按照页面提示进行操作执行,界面结构设计简单,操作流程简洁明了,可提升用户操作体验。
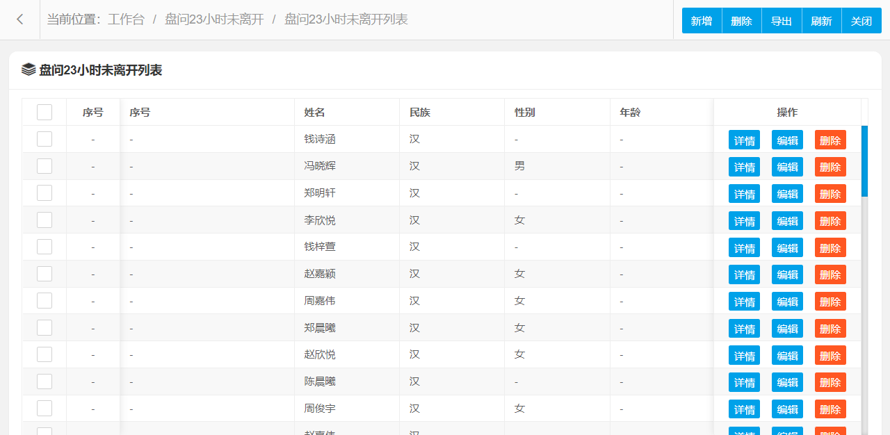
3.2.4、盘问23小时未离开

盘问23小时未离开管理功能主要字段信息包含:编码、序号、姓名、民族、性别、年龄、身份证号、籍贯、现住址、健康状况、继续盘问送达数据时间、继续盘问原因、延长继续盘问原因、到达时间、离开时间、时长、分钟、承办单位、承办人一、承办人一警号、承办人一电话、承办人二、承办人二警号、承办人二电话、登记人姓名、接人一签字、接人一警号、接人二签字、接人二警号、备注等。使用表格形式展示数据信息,方便用户查看和编辑。
盘问23小时未离开管理设置新增、编辑、删除、条件搜索、查看详情等操作,可按照页面提示进行操作执行,界面结构设计简单,操作流程简洁明了,可提升用户操作体验。
3.2.5、盘问超过24小时

盘问超过24小时管理功能主要字段信息包含:编码、序号、状态、姓名、民族、性别、年龄、身份证号、籍贯、现住址、健康状况、继续盘问送达数据时间、继续盘问原因、延长继续盘问原因、到达时间、离开时间、时长、分钟、承办单位、承办人一、承办人一警号、承办人一电话、承办人二、承办人二警号、承办人二电话、登记人姓名、接人一签字、接人一警号、接人二签字、接人二警号、备注等。使用表格形式展示数据信息,方便用户查看和编辑。
盘问超过24小时管理设置新增、编辑、删除、条件搜索、查看详情等操作,可按照页面提示进行操作执行,界面结构设计简单,操作流程简洁明了,可提升用户操作体验。















暂无评论内容