
导读:本文将从养老院医疗护理智慧管理系统的开发目的、开发背景、目标用户、系统设计、系统架构、主要功能模块等方面进行分析,软件主要功能包括:安全监控管理、费用收支管理、管理报表分析、活动策划管理、健康检查管理、康复护理管理、老人档案管理、人力资源管理、入住管理、社交互动管理、数据库管理、维修保养管理、医疗护理管理、营养餐饮管理、资产设备管理,全文约4823字,看完需要9分钟左右。感谢阅读,如有建议和意见欢迎评论交流。
一、简介
1.1、开发目的和背景

随着我国老龄化社会的深入发展,养老院的需求日益增长,传统的管理模式已经难以满足老年人日益复杂多样的医疗和护理需求。在此背景下,我们开发”养老院医疗护理智慧管理系统”,旨在利用先进的信息技术,提升养老院的运营效率和服务质量,为老年人提供更专业、更贴心的照护。
本系统的核心目标是通过集成各种功能模块,实现对养老院的全面数字化管理。安全监控管理模块,通过实时视频监控,确保老人的安全;费用收支管理模块,通过智能化的账单处理,简化财务操作,减少错误;管理报表分析模块,为管理者提供决策支持,帮助优化资源分配。活动策划管理、健康检查管理等模块,则致力于提升老年人的生活品质,关注他们的身心健康。
此外,系统还注重人性化设计,如社交互动管理模块,促进老人之间的交流,减轻孤独感;数据库管理、资产设备管理等,保障设施的正常运行,提高资产管理效率。通过营养餐饮管理和医疗护理管理,我们可以提供个性化的膳食和医疗服务,满足不同老人的特殊需求。
总的来说,”养老院医疗护理智慧管理系统”旨在通过科技的力量,解决传统养老机构的痛点,构建一个高效、便捷、人性化的养老环境,为老年人的晚年生活提供全方位的智能关怀,同时也是我们对社会老龄化问题的一次积极应对和创新尝试。
1.2、软件的目标用户

《养老院医疗护理智慧管理系统》是一款专为现代化养老机构设计的全面智能管理工具,旨在提升养老服务质量和效率,优化运营环境。以下是该软件的应用场景和
1. 安全监控管理:系统通过安装在养老院内的智能摄像头,实时监控老人的生活起居,确保他们的安全。
2. 费用收支管理:财务人员可轻松记录并跟踪各项费用,如住宿费、伙食费、医疗服务等,实现精细化财务管理。
3. 报表分析:通过数据分析,管理人员可以了解养老院的运营状况,制定科学决策。
4. 活动策划管理:系统提供活动计划生成和执行跟踪功能,促进老人的精神文化生活。
– 养老院管理员:他们可以通过系统全面掌握养老院运营情况,进行资源配置和优化。
– 护理人员:系统提供了健康检查和康复护理管理,帮助他们更有效地开展工作。
– 家属:家属可以远程查看老人状态,参与社交互动,增强沟通。
– 医护人员:医疗护理管理模块,为专业医护人员提供电子病历、用药提醒等功能。
– 人力资源部门:通过人力资源管理模块,管理员工信息,安排工作任务。
总的来说,本软件是面向各类养老机构,特别是寻求高效、科技化服务提升的管理者、医护人员以及关心老年人生活的家属的必备工具。它旨在将传统养老模式与现代科技紧密结合,以满足老年人日益增长的多元化需求。
二、软件总体架构
2.1、系统概述

养老院医疗护理智慧管理系统是一款专为养老服务机构设计的智能化管理工具,它集成了多种关键业务流程,旨在提升运营效率和提供优质的照护服务。该软件主要由Java语言开发,借助SpringMVC框架构建,确保了系统的稳定性和可扩展性,同时采用MySQL作为底层数据库,保证了数据的安全与高效存储。
安全监控管理模块实时监控老人生活区域的安全状况,预防意外发生;费用收支管理模块精确记录并分析各项费用,帮助管理层进行预算和成本控制。管理报表分析模块生成各类运营报告,为决策提供数据支持。活动策划管理模块便于组织丰富多彩的娱乐活动,促进老人的精神生活。
健康检查管理和康复护理管理模块则关注老人的健康状态,提供专业化的医疗服务;老人档案管理模块全面记录每位老人的基本信息、病历以及生活习性,方便医护人员随时查看。人力资源管理和资产设备管理分别针对员工配置和设施维护,提升资源使用效率。
入住管理模块简化新住民的接纳流程,社交互动管理则通过在线平台增强老人之间的交流和家庭成员的参与。数据库管理模块保证了数据的一致性和完整性,而维修保养管理则确保设施的良好运行。
总的来说,养老院医疗护理智慧管理系统是一个全方位、集成化的解决方案,致力于实现养老院的信息化、人性化和高效化运营,以提供更优质、更便捷的养老服务。
2.2、系统架构

我们的养老院医疗护理智慧管理系统采用先进的B/S(Browser/Server)架构设计,旨在提供高效、安全和易用的环境,以便优化养老院日常运营和提升服务质量。该系统主要由以下几个关键组件构成:
1. 前端界面:基于HTML、CSS和JavaScript技术,构建用户友好的Web界面,包括各个功能模块如老人档案、医疗护理、活动策划等。页面响应式设计,适应不同设备和屏幕尺寸。
2. 后端服务:使用Java作为核心技术,结合Spring MVC框架,实现了业务逻辑处理和数据管理的核心部分。它负责处理用户请求,调用相应的数据访问层操作,并返回处理结果。
3. 数据访问层:利用JDBC或ORM(如Hibernate)与数据库交互,对医疗护理智慧管理系统的海量数据进行增删改查操作,确保数据的安全性和完整性。
4. 数据库管理:系统采用关系型数据库(如MySQL或Oracle),存储所有相关信息,包括老人个人信息、财务记录、设备维护记录等,支持多用户并发访问和事务处理。
5. 模块化设计:每个功能模块独立且可扩展,使得系统能够根据需求灵活升级或添加新功能,如新增康复护理或社交互动模块。
6. 安全性保障:系统包含身份验证、授权管理和加密机制,保护用户的隐私信息,防止非法访问和数据泄露。
7. 系统集成:通过API接口与其他系统(如医院信息系统、物联网设备)无缝对接,实现数据共享和流程协同。
总结,养老院医疗护理智慧管理系统以用户为中心,通过B/S架构实现跨平台操作,利用模块化设计和Java Spring框架保证了系统的稳定性和可维护性。同时,严格的权限管理和数据保护措施,为养老院提供了全方位的信息管理解决方案。
三、软件功能操作
3.1、系统登录
在浏览器中输入系统网址,打开登录界面后输入登录账号、登录密码、验证码即可登录。

3.2、工作台
工作台包含:安全监控管理、费用收支管理、管理报表分析、活动策划管理、健康检查管理、康复护理管理、老人档案管理、人力资源管理、入住管理、社交互动管理、数据库管理、维修保养管理、医疗护理管理、营养餐饮管理、资产设备管理,根据不同角色权限菜单展示会有所区别。
3.2.1、安全监控管理

管理功能主要字段信息包含:管理编码、监控时间、监控地点、监控内容、监控记录、安全工作记录等。使用表格形式展示数据信息,方便用户查看和编辑。
管理设置新增、编辑、删除、条件搜索、查看详情等操作,可按照页面提示进行操作执行,界面结构设计简单,操作流程简洁明了,可提升用户操作体验。
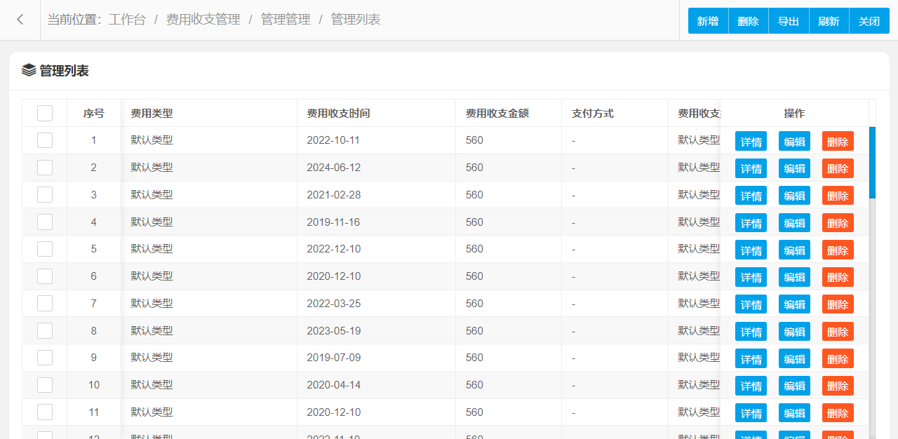
3.2.2、费用收支管理

管理功能主要字段信息包含:管理编码、费用类型、费用收支时间、费用收支金额、支付方式、费用收支类型等。使用表格形式展示数据信息,方便用户查看和编辑。
管理设置新增、编辑、删除、条件搜索、查看详情等操作,可按照页面提示进行操作执行,界面结构设计简单,操作流程简洁明了,可提升用户操作体验。
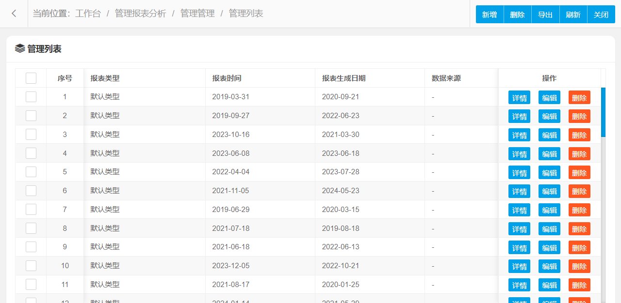
3.2.3、管理报表分析

管理功能主要字段信息包含:管理编码、报表类型、报表时间、报表内容、报表生成日期、数据来源等。使用表格形式展示数据信息,方便用户查看和编辑。
管理设置新增、编辑、删除、条件搜索、查看详情等操作,可按照页面提示进行操作执行,界面结构设计简单,操作流程简洁明了,可提升用户操作体验。
3.2.4、活动策划管理

管理功能主要字段信息包含:管理编码、活动名称、活动时间、活动地点、活动内容、参与人数等。使用表格形式展示数据信息,方便用户查看和编辑。
管理设置新增、编辑、删除、条件搜索、查看详情等操作,可按照页面提示进行操作执行,界面结构设计简单,操作流程简洁明了,可提升用户操作体验。
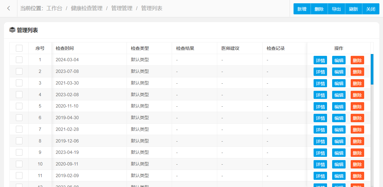
3.2.5、健康检查管理

管理功能主要字段信息包含:管理编码、检查时间、检查类型、检查结果、医师建议、检查记录等。使用表格形式展示数据信息,方便用户查看和编辑。
管理设置新增、编辑、删除、条件搜索、查看详情等操作,可按照页面提示进行操作执行,界面结构设计简单,操作流程简洁明了,可提升用户操作体验。
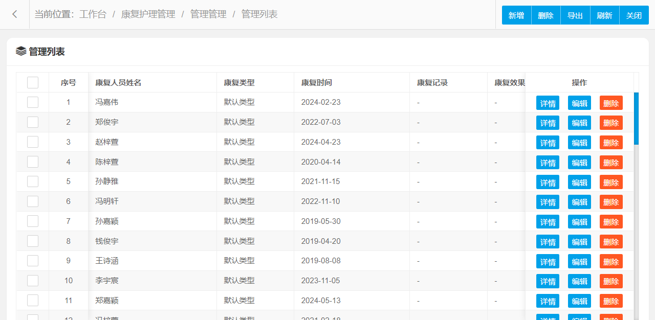
3.2.6、康复护理管理

管理功能主要字段信息包含:管理编码、康复人员姓名、康复类型、康复时间、康复记录、康复效果等。使用表格形式展示数据信息,方便用户查看和编辑。
管理设置新增、编辑、删除、条件搜索、查看详情等操作,可按照页面提示进行操作执行,界面结构设计简单,操作流程简洁明了,可提升用户操作体验。
3.2.7、老人档案管理

管理功能主要字段信息包含:管理编码、姓名、身份证号码、出生日期、联系电话、健康状况等。使用表格形式展示数据信息,方便用户查看和编辑。
管理设置新增、编辑、删除、条件搜索、查看详情等操作,可按照页面提示进行操作执行,界面结构设计简单,操作流程简洁明了,可提升用户操作体验。
3.2.8、人力资源管理

管理功能主要字段信息包含:管理编码、员工姓名、员工岗位、员工住址、员工联系电话、工资情况等。使用表格形式展示数据信息,方便用户查看和编辑。
管理设置新增、编辑、删除、条件搜索、查看详情等操作,可按照页面提示进行操作执行,界面结构设计简单,操作流程简洁明了,可提升用户操作体验。
3.2.9、入住管理

管理功能主要字段信息包含:管理编码、入住日期、房间号码、押金、入住状态、付款方式等。使用表格形式展示数据信息,方便用户查看和编辑。
管理设置新增、编辑、删除、条件搜索、查看详情等操作,可按照页面提示进行操作执行,界面结构设计简单,操作流程简洁明了,可提升用户操作体验。
3.2.10、社交互动管理

管理功能主要字段信息包含:管理编码、互动类型、互动时间、参与人员、互动内容、互动效果等。使用表格形式展示数据信息,方便用户查看和编辑。
管理设置新增、编辑、删除、条件搜索、查看详情等操作,可按照页面提示进行操作执行,界面结构设计简单,操作流程简洁明了,可提升用户操作体验。
3.2.11、数据库管理

管理功能主要字段信息包含:管理编码、数据库备份、数据库还原、数据库清除、数据恢复、数据库压缩等。使用表格形式展示数据信息,方便用户查看和编辑。
管理设置新增、编辑、删除、条件搜索、查看详情等操作,可按照页面提示进行操作执行,界面结构设计简单,操作流程简洁明了,可提升用户操作体验。
3.2.12、维修保养管理

管理功能主要字段信息包含:管理编码、维修保养类型、维修保养时间、维修保养记录、维修保养人员、维修保养效果等。使用表格形式展示数据信息,方便用户查看和编辑。
管理设置新增、编辑、删除、条件搜索、查看详情等操作,可按照页面提示进行操作执行,界面结构设计简单,操作流程简洁明了,可提升用户操作体验。
3.2.13、医疗护理管理

管理功能主要字段信息包含:管理编码、医护人员姓名、护理、级、护理时间、医护记录、特殊医疗需求等。使用表格形式展示数据信息,方便用户查看和编辑。
管理设置新增、编辑、删除、条件搜索、查看详情等操作,可按照页面提示进行操作执行,界面结构设计简单,操作流程简洁明了,可提升用户操作体验。
3.2.14、营养餐饮管理

管理功能主要字段信息包含:管理编码、餐饮时间、食品种类、菜品名称、营养成分、食用量等。使用表格形式展示数据信息,方便用户查看和编辑。
管理设置新增、编辑、删除、条件搜索、查看详情等操作,可按照页面提示进行操作执行,界面结构设计简单,操作流程简洁明了,可提升用户操作体验。
3.2.15、资产设备管理

管理功能主要字段信息包含:管理编码、设备编号、设备名称、设备品牌、设备型号、设备状态等。使用表格形式展示数据信息,方便用户查看和编辑。
管理设置新增、编辑、删除、条件搜索、查看详情等操作,可按照页面提示进行操作执行,界面结构设计简单,操作流程简洁明了,可提升用户操作体验。


















暂无评论内容