
导读:本文将从养护人员智慧管理系统的开发目的、开发背景、目标用户、系统设计、系统架构、主要功能模块等方面进行分析,软件主要功能包括:报表管理、车辆管理、合同管理、会议管理、考勤管理、派工管理、培训计划、批次管理、任务管理、日志管理、设备管理、统计分析、维修管理、意见反馈、用户管理、员工管理、预算管理、值班管理、知识库管理、资产管理,全文约5549字,需要11分钟左右。感谢阅读,如有建议和意见欢迎评论交流。
一、引言
1.1、开发目的和背景

在当前快速发展的数字化时代,养护行业面临着诸多挑战,如信息孤岛、工作效率低下、资源利用率不高等问题。传统的管理模式已无法满足日益增长的服务质量和客户期待。因此,我们开发这款系统,旨在解决这些问题,以科技赋能养护行业。
该系统涵盖了从车辆维护、物资管理到员工培训和考核的全面管理,旨在帮助养护机构实现精细化、标准化的运营管理。例如,报表管理模块提供实时的数据报告,便于管理层进行战略决策;设备和资产管理模块确保资源的有效利用;知识库管理则支持持续学习和知识共享,提升员工的专业技能。
同时,通过用户管理和权限控制,保证数据的安全性和隐私性,而会议管理和值班管理则增强了团队协作和沟通效率。总的来说,《养护人员智慧管理系统》旨在构建一个智能化、便捷化的养护人员工作环境,推动行业的数字化转型,助力企业迈向更高效的未来。
1.2、软件的目标用户

软件应用场景与目标用户描述
养护人员智慧管理系统是一个专为物业管理公司、设施维护团队以及相关行业的养护工作者量身打造的数字化工具。它将传统的工作流程转变为高效、智能化的操作模式,旨在提升日常管理效率,优化资源分配,并提供全面的数据支持。
1. 报表管理:通过实时数据分析,系统自动生成各种工作报表,如维修记录、工作效率分析等,帮助管理层做出决策。
2. 车辆管理:对养护车辆进行统一调度和追踪,确保服务快速响应。
3. 合同管理:清晰记录合同签订、履行和变更情况,降低法律风险。
4. 会议管理:一键预约会议室,分享会议资料,方便远程协作。
我们的主要目标用户群体是:
1. 物业管理公司:负责各类设施的日常养护,需要精确管理和规划资源。
2. 设施维护团队:一线工作人员,使用该系统进行日常任务分配和追踪。
3. 行政部门:负责后勤和行政管理,通过系统进行考勤、预算和值班安排。
4. 管理层:需要系统提供的数据支持来进行业务优化和决策。
这个系统旨在简化繁琐的手工操作,提高团队协作效率,同时通过数据驱动的方式,使管理层能够直观地了解运营状况,从而更好地进行资源配置和战略规划。无论是在大型物业集团还是小型维修服务公司,养护人员智慧管理系统都能为用户提供一个全面、便捷、高效的管理工作平台。
二、软件总体架构
2.1、系统概述

养护人员智慧管理系统是一款专为养护行业设计的高效管理工具,采用Java语言开发,基于SpringMVC框架构建,数据存储依赖于稳定可靠的MySQL数据库。该系统旨在提升养护工作的组织效率和决策支持。
功能全面,涵盖了关键业务流程。报表管理模块提供实时的数据报告,帮助管理人员快速了解工作进度和绩效。车辆管理模块用于追踪车辆状态和维修历史,确保设备的正常运行。合同管理模块便于签订和跟踪服务合同,保证合规性和法律追溯性。
会议管理和考勤管理模块保障了日常运营的秩序,通过电子化手段简化了这些传统的管理工作。派工管理与任务管理结合,实现了工作分配和进度监控的一体化。设备管理与资产管理系统则有助于追踪和维护设施设备,提高资源利用率。
培训计划模块支持持续教育,保证员工技能的更新。统计分析模块以数据驱动决策,为管理层提供深入洞察。维修管理模块快速响应并记录维修请求,缩短问题解决时间。用户和员工管理模块便于权限控制和人力资源调配。
此外,系统还包含预算管理、值班管理、知识库管理和反馈系统,为全方位的运营管理提供了支持。无论是内部协作还是与客户的互动,养护人员智慧管理系统都力求提供便捷、直观的操作界面,提升整个养护团队的工作效能。
2.2、系统架构

养护人员智慧管理系统采用先进的B/S(Browser/Server)架构设计,这是一种基于网络的软件开发模式,允许用户通过浏览器直接访问和操作服务器上的数据和功能,无需下载安装,极大地提高了系统的易用性和可扩展性。
核心技术选用了Java,作为后端开发语言,Java以其强大的跨平台能力、稳定性和安全性为基石,保证了系统的可靠运行。Spring MVC框架的选用,进一步增强了系统的灵活性和模块化,实现了松耦合,使得代码结构清晰,易于维护和升级。
系统架构分为以下几个关键模块:
1. 前端界面:使用HTML、CSS和JavaScript构建,提供直观的图形用户界面,用户可以轻松地进行报表查看、车辆查询、合同签订等操作。
2. 服务层(Business Logic Layer, BLL):Java编写,处理业务逻辑和数据操作,与数据库交互,执行如数据验证、权限控制等功能。
3. 数据访问层(Data Access Layer, DAL):负责与数据库的交互,使用ORM(Object-Relational Mapping)技术,如Hibernate或MyBatis,以提高数据处理效率。
4. 数据库管理:采用关系型数据库,如MySQL或Oracle,存储所有业务相关的数据,包括车辆信息、合同、考勤记录等。
5. 统计分析与报告生成:基于后台数据,进行实时的分析和可视化展示,帮助管理者做出决策。
6. 安全模块:通过SSL/TLS加密传输,保障用户数据的安全,并实现用户身份认证和授权管理。
7. 模块间接口:通过API设计,各个模块之间高效通信,确保各部分功能协同工作。
8. 知识库与资产管理:集中存储公司相关政策、流程和资产信息,便于员工查阅和管理。
通过这样的架构设计,养护人员智慧管理系统能够满足多样化的工作需求,提升工作效率,同时保持良好的可维护性和扩展性。
三、软件功能操作
3.1、系统登录
在浏览器中输入系统网址,打开登录界面后输入登录账号、登录密码、验证码即可登录。

3.2、工作台
工作台包含:报表管理、车辆管理、合同管理、会议管理、考勤管理、派工管理、培训计划、批次管理、任务管理、日志管理、设备管理、统计分析、维修管理、意见反馈、用户管理、员工管理、预算管理、值班管理、知识库管理、资产管理,根据不同角色权限菜单展示会有所区别。
3.2.1、报表管理

管理功能主要字段信息包含:管理编码、报表名称、报表类型、报表生成时间、报表内容、报表状态等。使用表格形式展示数据信息,方便用户查看和编辑。
管理设置新增、编辑、删除、条件搜索、查看详情等操作,可按照页面提示进行操作执行,界面结构设计简单,操作流程简洁明了,可提升用户操作体验。
3.2.2、车辆管理

管理功能主要字段信息包含:管理编码、车辆编号、车牌号、品牌、型号、购买日期、保险日期、车辆状态、车辆位置等。使用表格形式展示数据信息,方便用户查看和编辑。
管理设置新增、编辑、删除、条件搜索、查看详情等操作,可按照页面提示进行操作执行,界面结构设计简单,操作流程简洁明了,可提升用户操作体验。
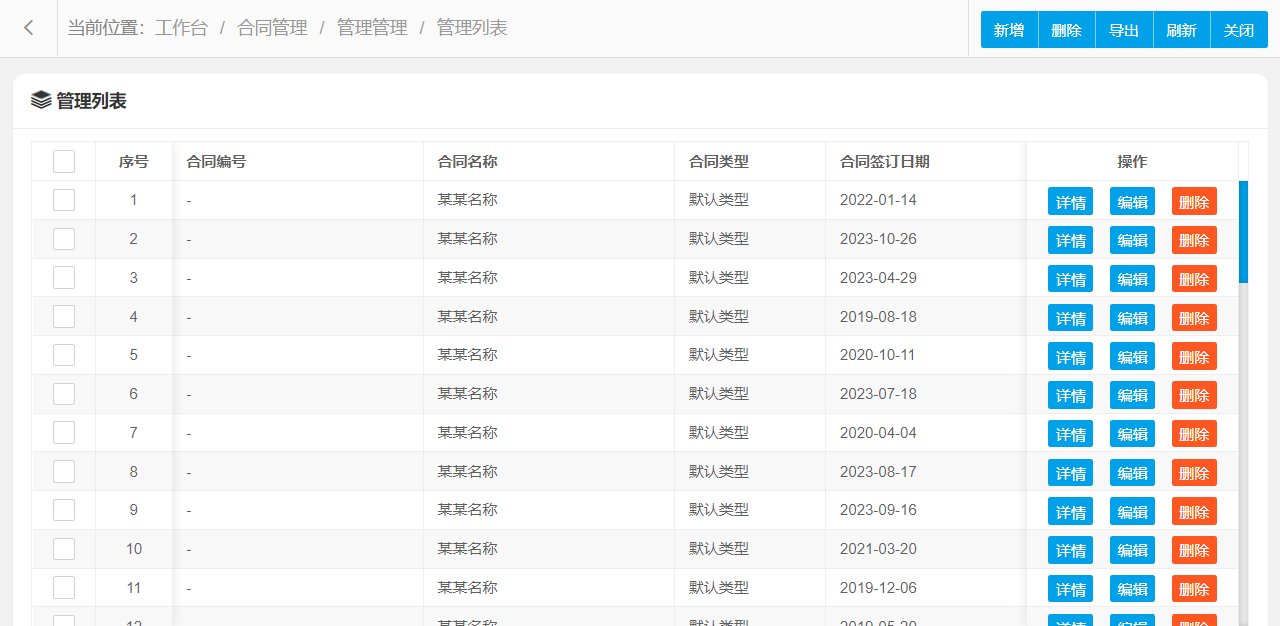
3.2.3、合同管理

管理功能主要字段信息包含:管理编码、合同编号、合同名称、合同类型、合同签订日期、合同开始日期、合同结束日期、合同状态等。使用表格形式展示数据信息,方便用户查看和编辑。
管理设置新增、编辑、删除、条件搜索、查看详情等操作,可按照页面提示进行操作执行,界面结构设计简单,操作流程简洁明了,可提升用户操作体验。
3.2.4、会议管理

管理功能主要字段信息包含:管理编码、会议编号、会议名称、会议时间、会议地点、会议人员、会议议程、会议状态等。使用表格形式展示数据信息,方便用户查看和编辑。
管理设置新增、编辑、删除、条件搜索、查看详情等操作,可按照页面提示进行操作执行,界面结构设计简单,操作流程简洁明了,可提升用户操作体验。
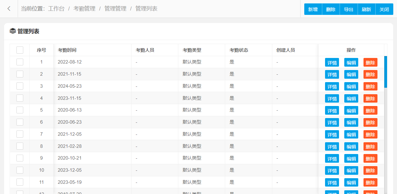
3.2.5、考勤管理

管理功能主要字段信息包含:管理编码、考勤时间、考勤人员、考勤类型、考勤状态、考勤备注等。使用表格形式展示数据信息,方便用户查看和编辑。
管理设置新增、编辑、删除、条件搜索、查看详情等操作,可按照页面提示进行操作执行,界面结构设计简单,操作流程简洁明了,可提升用户操作体验。
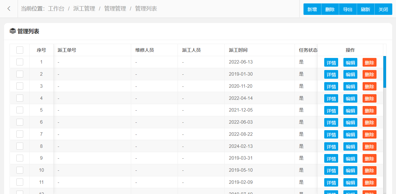
3.2.6、派工管理

管理功能主要字段信息包含:管理编码、派工单号、维修人员、派工人员、任务内容、派工时间、任务状态等。使用表格形式展示数据信息,方便用户查看和编辑。
管理设置新增、编辑、删除、条件搜索、查看详情等操作,可按照页面提示进行操作执行,界面结构设计简单,操作流程简洁明了,可提升用户操作体验。
3.2.7、培训计划

培训计划管理功能主要字段信息包含:编码、培训计划编号、培训主题、培训时间、培训地点、培训人员、培训状态等。使用表格形式展示数据信息,方便用户查看和编辑。
培训计划管理设置新增、编辑、删除、条件搜索、查看详情等操作,可按照页面提示进行操作执行,界面结构设计简单,操作流程简洁明了,可提升用户操作体验。
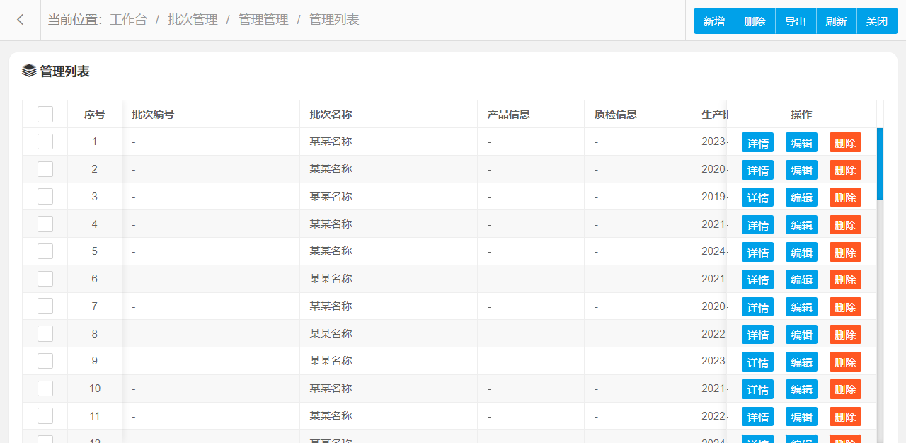
3.2.8、批次管理

管理功能主要字段信息包含:管理编码、批次编号、批次名称、产品信息、质检信息、生产时间、产品状态等。使用表格形式展示数据信息,方便用户查看和编辑。
管理设置新增、编辑、删除、条件搜索、查看详情等操作,可按照页面提示进行操作执行,界面结构设计简单,操作流程简洁明了,可提升用户操作体验。
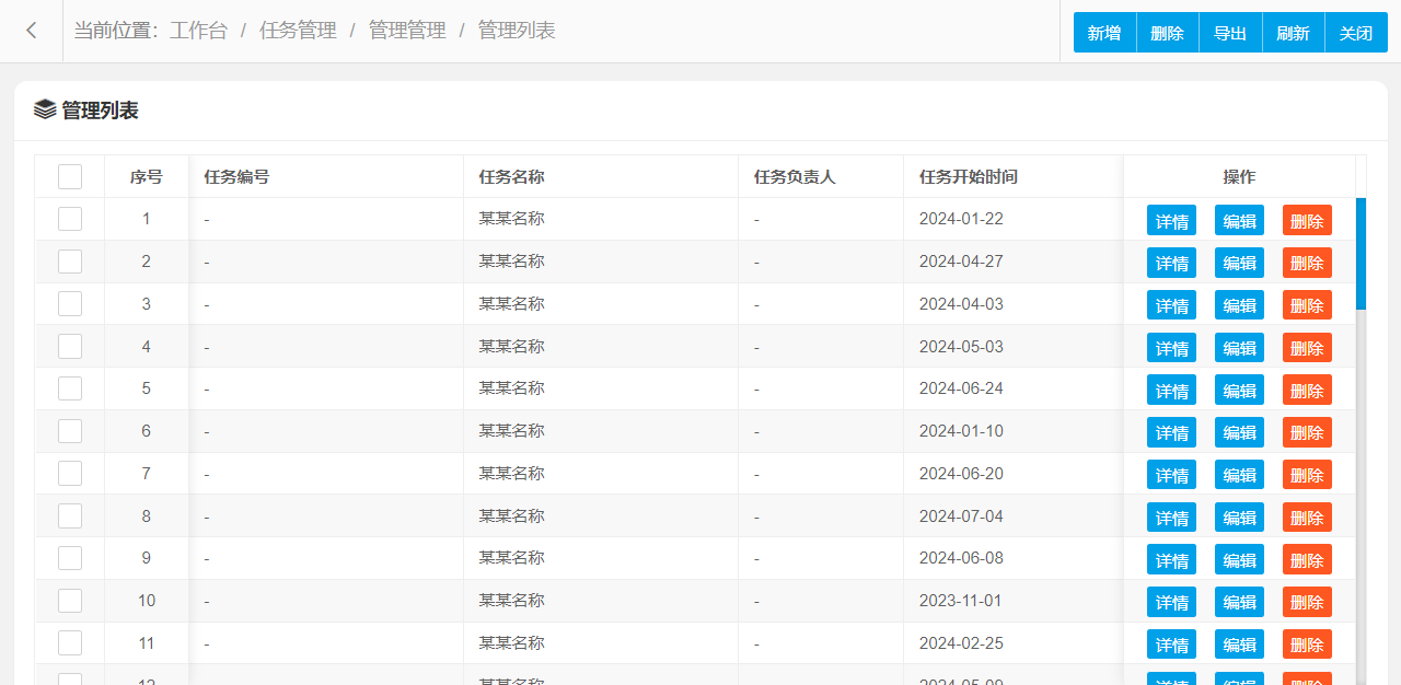
3.2.9、任务管理

管理功能主要字段信息包含:管理编码、任务编号、任务名称、任务负责人、任务描述、任务开始时间、任务结束时间、任务状态等。使用表格形式展示数据信息,方便用户查看和编辑。
管理设置新增、编辑、删除、条件搜索、查看详情等操作,可按照页面提示进行操作执行,界面结构设计简单,操作流程简洁明了,可提升用户操作体验。
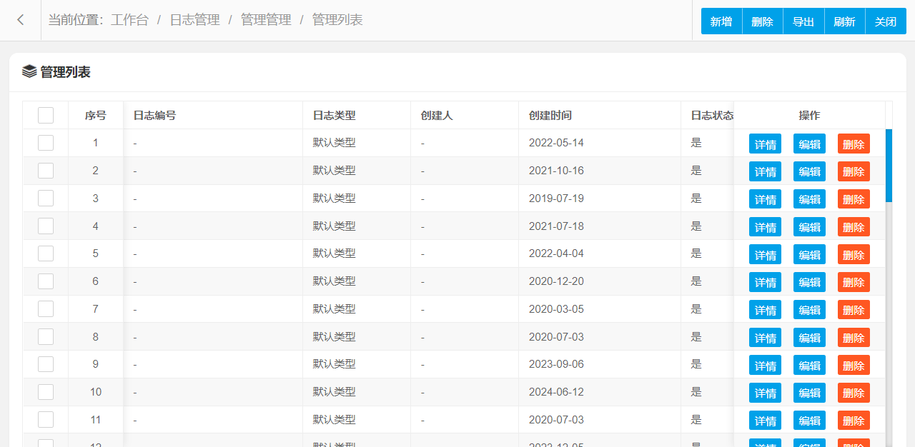
3.2.10、日志管理

管理功能主要字段信息包含:管理编码、日志编号、日志类型、日志内容、创建人、创建时间、日志状态等。使用表格形式展示数据信息,方便用户查看和编辑。
管理设置新增、编辑、删除、条件搜索、查看详情等操作,可按照页面提示进行操作执行,界面结构设计简单,操作流程简洁明了,可提升用户操作体验。
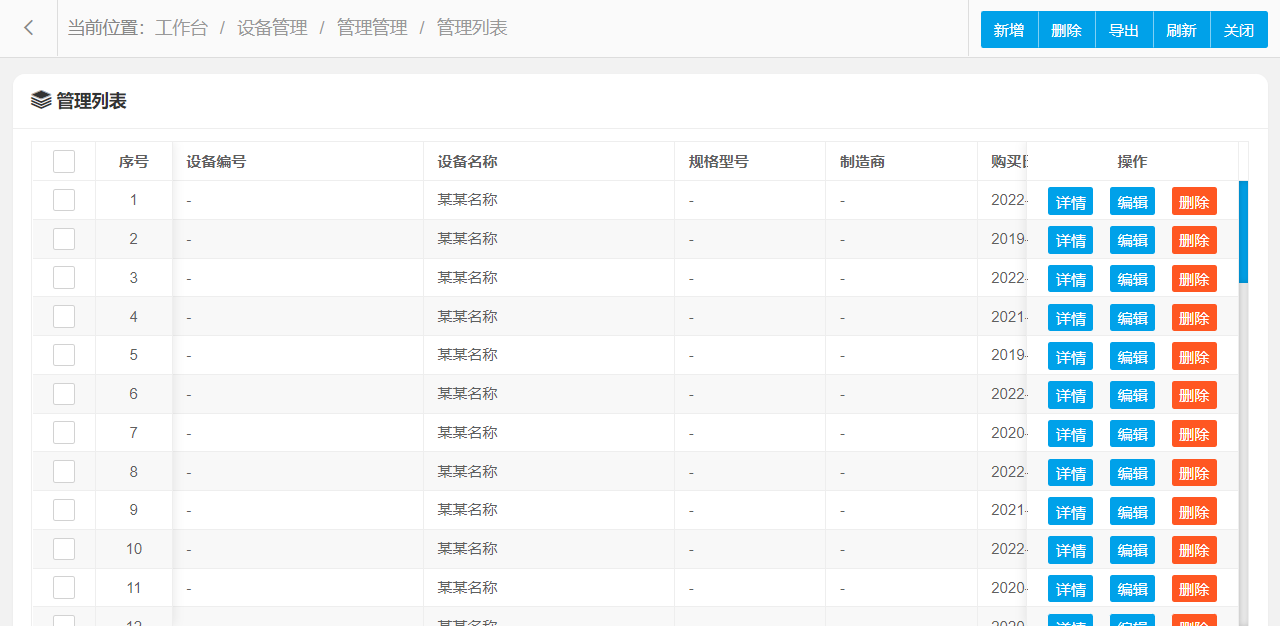
3.2.11、设备管理

管理功能主要字段信息包含:管理编码、设备编号、设备名称、规格型号、制造商、购买日期、保修期限、设备状态、设备位置等。使用表格形式展示数据信息,方便用户查看和编辑。
管理设置新增、编辑、删除、条件搜索、查看详情等操作,可按照页面提示进行操作执行,界面结构设计简单,操作流程简洁明了,可提升用户操作体验。
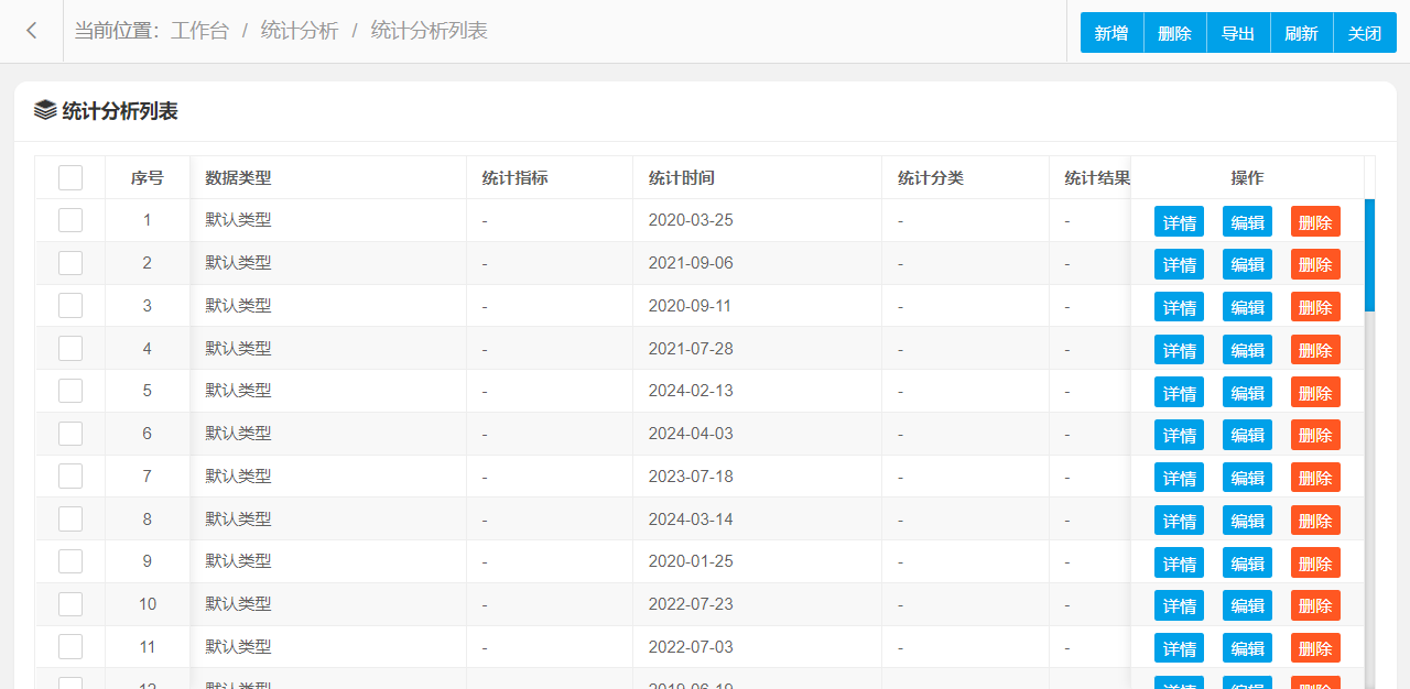
3.2.12、统计分析

统计分析管理功能主要字段信息包含:编码、数据类型、统计指标、统计时间、统计分类、统计结果等。使用表格形式展示数据信息,方便用户查看和编辑。
统计分析管理设置新增、编辑、删除、条件搜索、查看详情等操作,可按照页面提示进行操作执行,界面结构设计简单,操作流程简洁明了,可提升用户操作体验。
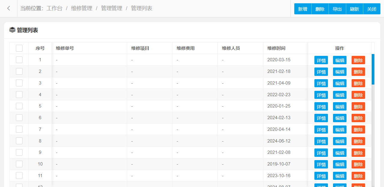
3.2.13、维修管理

管理功能主要字段信息包含:管理编码、维修单号、维修项目、维修费用、维修人员、维修时间、维修结果等。使用表格形式展示数据信息,方便用户查看和编辑。
管理设置新增、编辑、删除、条件搜索、查看详情等操作,可按照页面提示进行操作执行,界面结构设计简单,操作流程简洁明了,可提升用户操作体验。
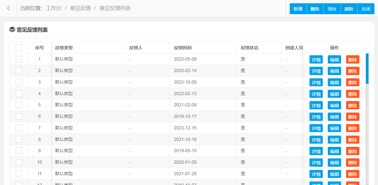
3.2.14、意见反馈

意见反馈管理功能主要字段信息包含:编码、反馈类型、反馈内容、反馈人、反馈时间、反馈状态等。使用表格形式展示数据信息,方便用户查看和编辑。
意见反馈管理设置新增、编辑、删除、条件搜索、查看详情等操作,可按照页面提示进行操作执行,界面结构设计简单,操作流程简洁明了,可提升用户操作体验。
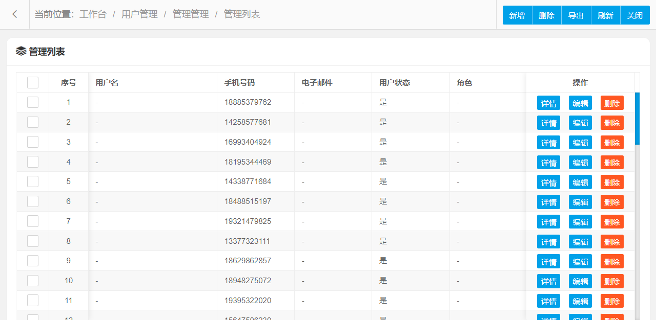
3.2.15、用户管理

管理功能主要字段信息包含:管理编码、用户名、密码、手机号码、电子邮件、用户状态、角色等。使用表格形式展示数据信息,方便用户查看和编辑。
管理设置新增、编辑、删除、条件搜索、查看详情等操作,可按照页面提示进行操作执行,界面结构设计简单,操作流程简洁明了,可提升用户操作体验。
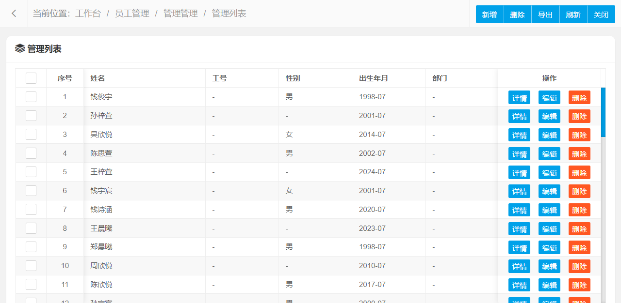
3.2.16、员工管理

管理功能主要字段信息包含:管理编码、姓名、工号、性别、出生年月、部门、职位、电话、住址等。使用表格形式展示数据信息,方便用户查看和编辑。
管理设置新增、编辑、删除、条件搜索、查看详情等操作,可按照页面提示进行操作执行,界面结构设计简单,操作流程简洁明了,可提升用户操作体验。
3.2.17、预算管理

管理功能主要字段信息包含:管理编码、预算编号、预算名称、预算类型、预算金额、预算时间、预算状态等。使用表格形式展示数据信息,方便用户查看和编辑。
管理设置新增、编辑、删除、条件搜索、查看详情等操作,可按照页面提示进行操作执行,界面结构设计简单,操作流程简洁明了,可提升用户操作体验。
3.2.18、值班管理

管理功能主要字段信息包含:管理编码、值班日期、值班人员、值班班次、工作内容、值班状态等。使用表格形式展示数据信息,方便用户查看和编辑。
管理设置新增、编辑、删除、条件搜索、查看详情等操作,可按照页面提示进行操作执行,界面结构设计简单,操作流程简洁明了,可提升用户操作体验。
3.2.19、知识库管理

管理功能主要字段信息包含:管理编码、知识编号、知识标题、知识内容、创建人、创建时间、审核状态等。使用表格形式展示数据信息,方便用户查看和编辑。
管理设置新增、编辑、删除、条件搜索、查看详情等操作,可按照页面提示进行操作执行,界面结构设计简单,操作流程简洁明了,可提升用户操作体验。
3.2.20、资产管理

管理功能主要字段信息包含:管理编码、资产编号、资产名称、资产种类、购买日期、保修期限、使用状态、存放位置等。使用表格形式展示数据信息,方便用户查看和编辑。
管理设置新增、编辑、删除、条件搜索、查看详情等操作,可按照页面提示进行操作执行,界面结构设计简单,操作流程简洁明了,可提升用户操作体验。

















暂无评论内容