
导读:本文将从党政人才智慧管理系统的开发目的、开发背景、目标用户、系统设计、系统架构、主要功能模块等方面进行分析,软件主要功能包括:按籍贯查询、参加国内外重要学术会议情况、承担主要科研项目课题、工作经历、婚姻状况设置、获得成果奖励和荣誉情况、家庭成员情况、籍贯设置、民族设置、全国和省市任职情况、取得的代表性成就、人才类别设置、人才信息录入、信息查询、学习经历、政治面貌设置、专业技术职务、主要学术组织或协会兼职情况,全文约6179字,需要12分钟左右。感谢阅读,如有建议和意见欢迎评论交流。
一、简介
1.1、开发目的和背景

党政人才智慧管理系统,是我们针对新时代党政人才管理需求而研发的一款集成化、智能化的信息管理平台。随着社会的发展和人才战略的深化,传统的管理模式已难以满足对人才全方位、多层次、实时性的管理和追踪。为此,我们设计这款系统,旨在提升党政人才管理的效率和精准度。
在当今信息化的大潮中,对于党政人才的数据化管理显得尤为重要。本软件的主要功能模块涵盖了人才的基本信息、学术活动、工作履历、科研成果、家庭和社会关系等多个维度,实现了人才信息的一站式管理。籍贯、婚姻状况、民族、政治面貌等基础信息的设置,方便了对人才身份的快速识别;人才类别设置则有助于分类管理和决策支持;学习经历、专业技术职务等模块则深入揭示人才的专业素养和发展潜力。
更重要的是,系统还特别关注人才的学术交流与科研贡献,如参加学术会议、承担科研项目、获奖荣誉等,这些都是评估人才专业能力和价值的重要指标。家庭成员情况和全国省市任职情况,有助于构建更全面的人才关系网络图,为选拔、培养和使用人才提供科学依据。
通过党政人才智慧管理系统,我们旨在打破信息孤岛,实现人才数据的整合与共享,提升人才管理工作效能,助力各级党政机关对人才进行更加科学、公正、公开的管理和评价,推动人才强国战略的实施。在未来,我们将持续优化和完善该系统,以适应日益变化的管理需求,为我国的党政人才队伍建设贡献力量。
1.2、软件的目标用户

党政人才智慧管理系统是一款专为各级党政机关、事业单位以及人才管理部门设计的信息化管理工具。它将复杂的个人信息整合在一个统一平台上,旨在提升人才管理和决策的效率与准确性。在日常工作中,应用场景广泛,例如:
1. 在人才引进阶段,系统可以快速查询并分析候选人的籍贯、婚姻状况等基本信息,帮助决策者进行人才地域和家庭背景的考量。
2. 对于已任职人员,系统支持定期更新人才的民族、政治面貌、学术会议参与情况等,便于跟踪其政治思想和专业成长。
3. 人才分类管理和考核时,系统通过人才类别设置,可以方便地对各类别人才进行统计分析,提供有针对性的发展策略。
主要目标用户包括各级党政机关的人力资源部门负责人、人事管理人员、组织部相关工作人员,以及高校、研究院所等事业单位的人才管理团队。此外,对于需要管理大量人才信息的企业,如大型国企、金融机构,以及教育机构和行业协会,本系统也能提供高效、便捷的服务。这些用户群体均希望通过数字化手段,更好地管理员工信息,优化人才配置,提高工作效率,同时也便于数据保密和合规性管理。通过使用党政人才智慧管理系统,他们能够实现人才信息的实时更新、智能分析和决策支持,提升整体的人力资源管理水平。
二、软件总体架构
2.1、系统概述

党政人才智慧管理系统是一款专为党政机关人才管理设计的智能化软件,采用Java作为开发语言,依托SpringMVC框架构建,数据存储在可靠的MySQL数据库中。该系统旨在提升人才管理的效率与精确度。
其核心功能模块涵盖了人才全方位的信息管理,包括但不限于:
1. 籍贯查询:快速检索和管理人才的原籍信息,方便进行地域分析。
2. 婚姻状况设置:确保个人隐私的同时,便于了解人才的家庭背景。
3. 籍贯、民族设置:全面记录人才的多元文化属性,体现人才多样性。
4. 人才类别设置:分类管理不同级别的党政干部,便于政策制定和资源配置。
5. 信息录入:提供直观易用的界面,方便高效录入人才详细信息。
6. 信息查询:支持灵活的数据筛选和查询,方便快捷查找特定人才信息。
7. 政治面貌设置:记录人才的政治立场,为考核与晋升提供依据。
8. 学术活动管理:跟踪人才的学术活动和成果,评估专业成长。
9. 科研项目及课题:追踪人才在科研领域的贡献,评价创新能力。
10. 工作经历:详细记录人才的职业历程,为评估其经验和能力提供基础。
11. 荣誉与奖励:展示人才的业绩与成就,激励机制建设的重要部分。
12. 家庭成员:关注人才的个人生活,提供更全面的人才画像。
13. 任职情况:全国和省市层面的任职信息,有助于决策高层任免。
14. 代表性成就:突显人才在某一领域的重要贡献,彰显其价值。
15. 学习经历:回顾人才的学习历程,评估其知识结构与能力提升。
16. 专业技术职务:清晰展现人才的专业等级和资格,利于职务晋升管理。
17. 学术兼职:识别人才的学术影响力,拓展社会资源网络。
通过集成这些功能,党政人才智慧管理系统为组织提供了一套全面且高度定制化的工具,帮助实现对党政人才的精准管理和优化配置。
2.2、系统架构

党政人才智慧管理系统是一款基于B/S架构的高级信息化管理工具,其设计采用业界成熟的Java+Spring MVC开发模式,旨在提供高效、稳定且用户友好的服务。以下是详细的架构描述:
1. 前端界面(B/S)层:通过HTML、CSS和JavaScript构建,用户可以通过任何支持Web浏览器的设备访问系统,无需安装额外软件。页面布局直观,操作简便,包括查询、设置和查看等功能模块。
2. 业务逻辑层(Service Layer):Spring MVC的核心部分,它处理来自前端的请求,调用并协调各个模块的服务,实现了对人才信息的逻辑处理,如籍贯查询、政治面貌设置等。每个功能都对应一个服务接口,遵循单一职责原则。
3. 数据访问层(Data Access Layer):使用Java的JDBC或者更先进的ORM框架(如MyBatis或Hibernate),与数据库进行交互,负责执行SQL语句,获取和存储人才信息,确保数据的安全性和完整性。
4. 数据库层(Database Layer):系统以关系型数据库(如MySQL或Oracle)作为后端存储,设计合理的数据库表结构,涵盖了人才的基本信息、工作经历、学术成果等多个维度的数据。
5. 安全性设计:采用HTTPS协议保证数据传输安全,同时使用Spring Security进行权限管理和身份验证,确保只有授权用户才能访问敏感信息。
6. 模块化设计:各个功能模块独立开发和测试,便于后期维护和功能扩展,提高了系统的可扩展性和可重用性。
7. 缓存优化:通过Redis等缓存技术,提高数据查询性能,降低对数据库的压力。
8. 监控和日志:系统集成健康检查和日志记录功能,可以实时监控系统运行状态,并为问题排查提供线索。
总之,党政人才智慧管理系统凭借其灵活的B/S架构和强大的业务处理能力,实现了对党政人才全方位、高效的信息管理,是现代化人才管理的重要支撑平台。
三、软件功能操作
3.1、系统登录
在浏览器中输入系统网址,打开登录界面后输入登录账号、登录密码、验证码即可登录。

3.2、工作台
工作台包含:按籍贯查询、参加国内外重要学术会议情况、承担主要科研项目课题、工作经历、婚姻状况设置、获得成果奖励和荣誉情况、家庭成员情况、籍贯设置、民族设置、全国和省市任职情况、取得的代表性成就、人才类别设置、人才信息录入、信息查询、学习经历、政治面貌设置、专业技术职务、主要学术组织或协会兼职情况,根据不同角色权限菜单展示会有所区别。
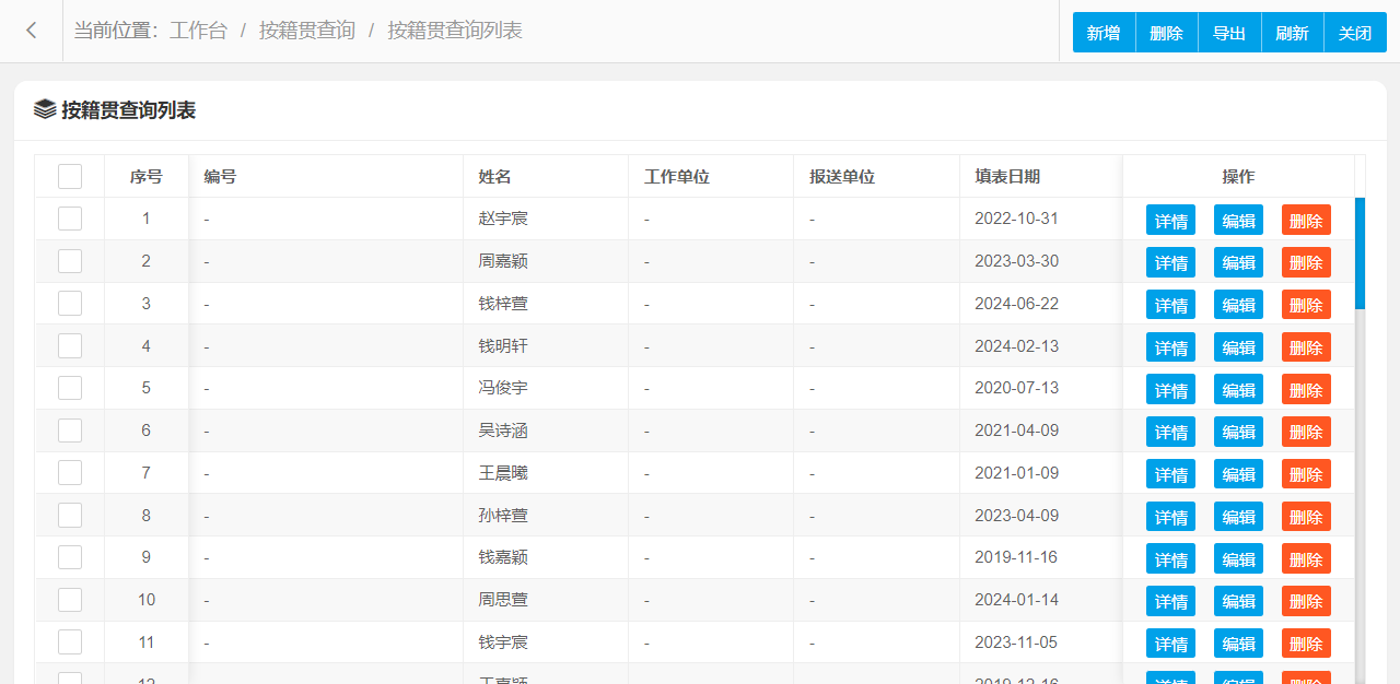
3.2.1、按籍贯查询

按籍贯查询管理功能主要字段信息包含:编码、编号、姓名、工作单位、报送单位、填表日期、居民身份证号码、曾用名、性别、出生年月、年龄、出生地、籍贯、民族、参加工作时间、婚姻状况、政治面貌、参加党派时间、健康状况、第一学历、毕业院校及专业、最高学历、毕业院校及专业2、专业技术职务、从事专业、研究方向、人才类别、享有称号、在岗状态、现工作单位及职务全称、职务级别、家庭住址、邮政编码、手机号码、QQ或邮箱、照片、主要业绩简述、所在单位意见、主管部门意见、所在单位日期、主管部门日期等。使用表格形式展示数据信息,方便用户查看和编辑。
按籍贯查询管理设置新增、编辑、删除、条件搜索、查看详情等操作,可按照页面提示进行操作执行,界面结构设计简单,操作流程简洁明了,可提升用户操作体验。
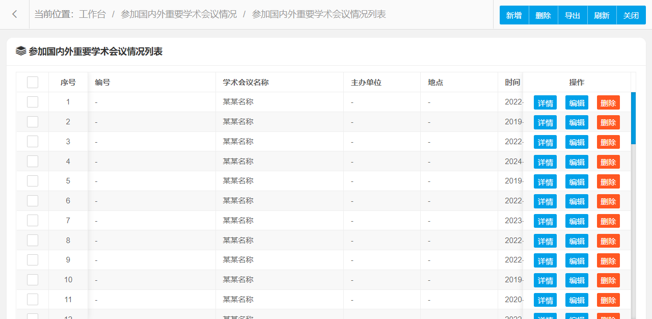
3.2.2、参加国内外重要学术会议情况

参加国内外重要学术会议情况管理功能主要字段信息包含:编码、编号、学术会议名称、主办单位、地点、时间等。使用表格形式展示数据信息,方便用户查看和编辑。
参加国内外重要学术会议情况管理设置新增、编辑、删除、条件搜索、查看详情等操作,可按照页面提示进行操作执行,界面结构设计简单,操作流程简洁明了,可提升用户操作体验。
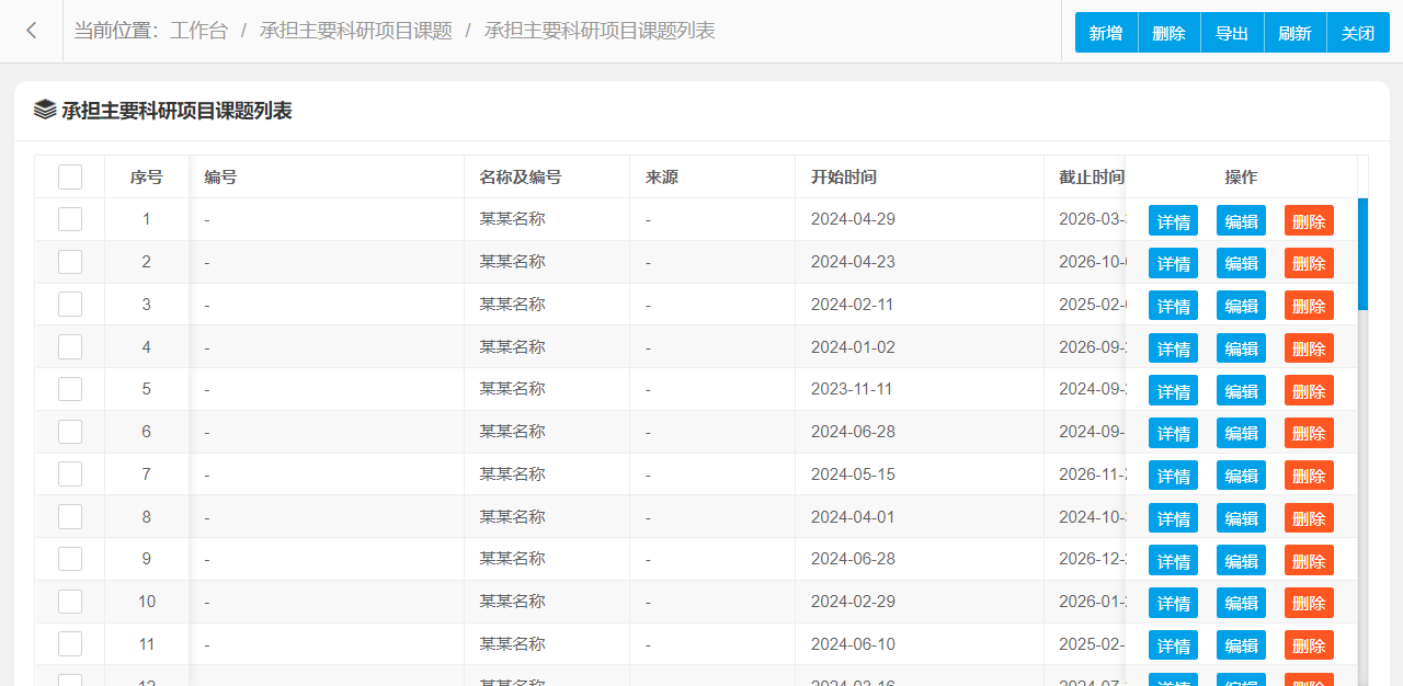
3.2.3、承担主要科研项目课题

承担主要科研项目课题管理功能主要字段信息包含:编码、编号、名称及编号、来源、开始时间、截止时间、经费(万元)、排序等。使用表格形式展示数据信息,方便用户查看和编辑。
承担主要科研项目课题管理设置新增、编辑、删除、条件搜索、查看详情等操作,可按照页面提示进行操作执行,界面结构设计简单,操作流程简洁明了,可提升用户操作体验。
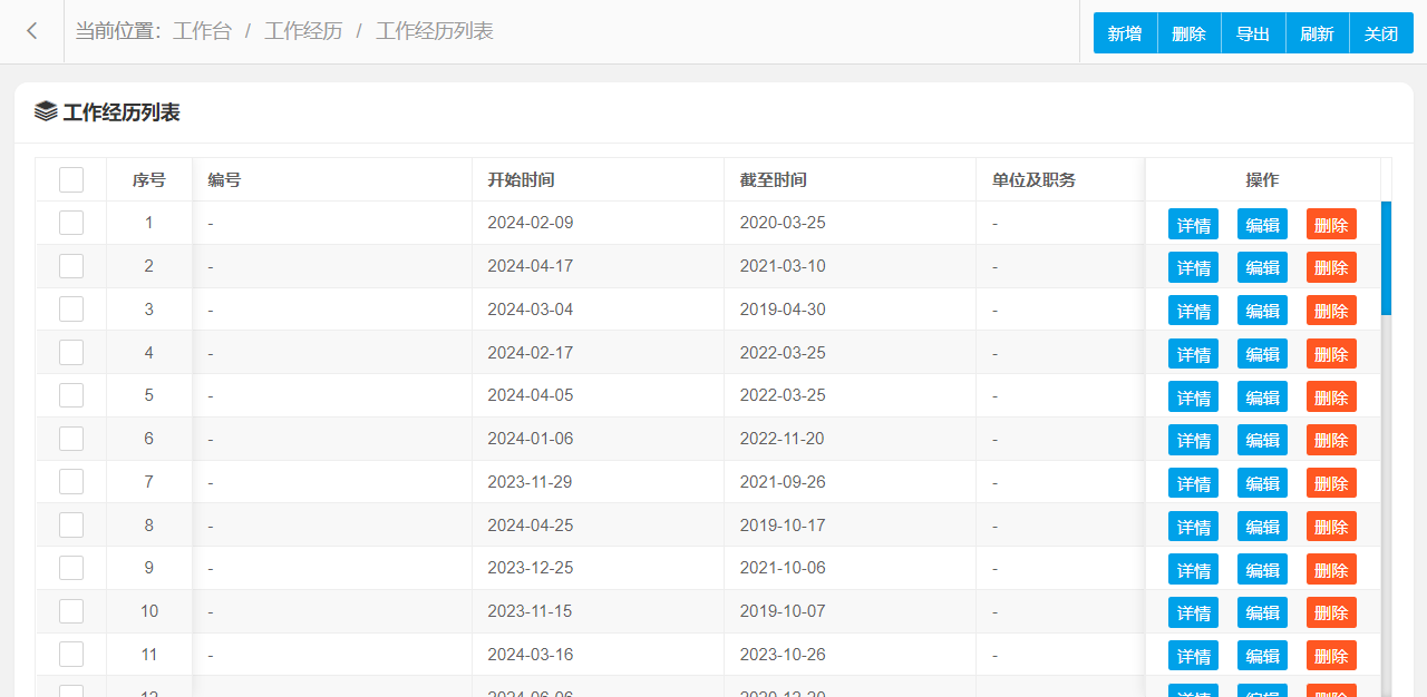
3.2.4、工作经历

工作经历管理功能主要字段信息包含:编码、编号、开始时间、截至时间、单位及职务等。使用表格形式展示数据信息,方便用户查看和编辑。
工作经历管理设置新增、编辑、删除、条件搜索、查看详情等操作,可按照页面提示进行操作执行,界面结构设计简单,操作流程简洁明了,可提升用户操作体验。
3.2.5、婚姻状况设置

婚姻状况设置管理功能主要字段信息包含:编码、婚姻状况等。使用表格形式展示数据信息,方便用户查看和编辑。
婚姻状况设置管理设置新增、编辑、删除、条件搜索、查看详情等操作,可按照页面提示进行操作执行,界面结构设计简单,操作流程简洁明了,可提升用户操作体验。
3.2.6、获得成果奖励和荣誉情况

获得成果奖励和荣誉情况管理功能主要字段信息包含:编码、编号、奖励或荣誉、授予单位、时间等。使用表格形式展示数据信息,方便用户查看和编辑。
获得成果奖励和荣誉情况管理设置新增、编辑、删除、条件搜索、查看详情等操作,可按照页面提示进行操作执行,界面结构设计简单,操作流程简洁明了,可提升用户操作体验。
3.2.7、家庭成员情况

家庭成员情况管理功能主要字段信息包含:编码、编号、与本人关系、姓名、出生年月、政治面貌、工作单位及职务等。使用表格形式展示数据信息,方便用户查看和编辑。
家庭成员情况管理设置新增、编辑、删除、条件搜索、查看详情等操作,可按照页面提示进行操作执行,界面结构设计简单,操作流程简洁明了,可提升用户操作体验。
3.2.8、籍贯设置

籍贯设置管理功能主要字段信息包含:编码、籍贯等。使用表格形式展示数据信息,方便用户查看和编辑。
籍贯设置管理设置新增、编辑、删除、条件搜索、查看详情等操作,可按照页面提示进行操作执行,界面结构设计简单,操作流程简洁明了,可提升用户操作体验。
3.2.9、民族设置

民族设置管理功能主要字段信息包含:编码、民族名称等。使用表格形式展示数据信息,方便用户查看和编辑。
民族设置管理设置新增、编辑、删除、条件搜索、查看详情等操作,可按照页面提示进行操作执行,界面结构设计简单,操作流程简洁明了,可提升用户操作体验。
3.2.10、全国和省市任职情况

全国和省市任职情况管理功能主要字段信息包含:编码、编号、名称、界别、职务、备注等。使用表格形式展示数据信息,方便用户查看和编辑。
全国和省市任职情况管理设置新增、编辑、删除、条件搜索、查看详情等操作,可按照页面提示进行操作执行,界面结构设计简单,操作流程简洁明了,可提升用户操作体验。
3.2.11、取得的代表性成就

取得的代表性成就管理功能主要字段信息包含:编码、编号、名称、认定或出版发表单位、时间、影响或收录情况、排名等。使用表格形式展示数据信息,方便用户查看和编辑。
取得的代表性成就管理设置新增、编辑、删除、条件搜索、查看详情等操作,可按照页面提示进行操作执行,界面结构设计简单,操作流程简洁明了,可提升用户操作体验。
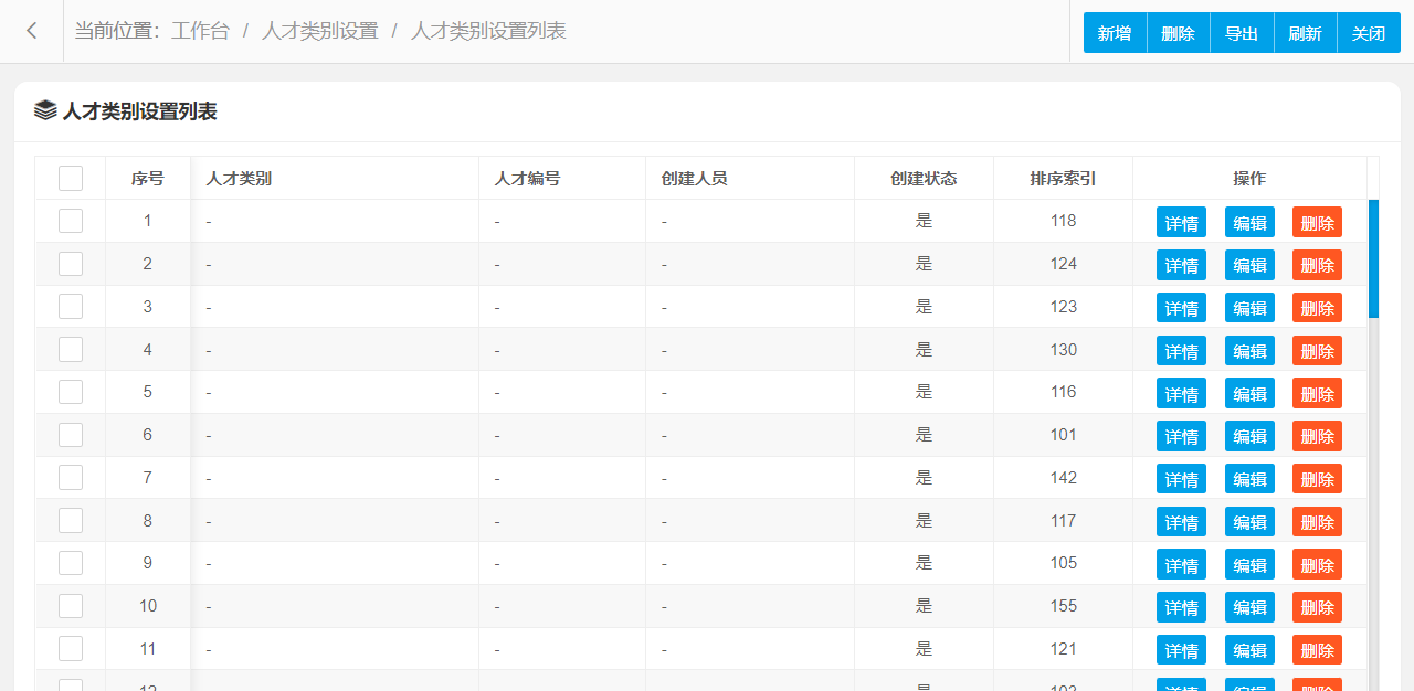
3.2.12、人才类别设置

人才类别设置管理功能主要字段信息包含:编码、人才类别、人才编号等。使用表格形式展示数据信息,方便用户查看和编辑。
人才类别设置管理设置新增、编辑、删除、条件搜索、查看详情等操作,可按照页面提示进行操作执行,界面结构设计简单,操作流程简洁明了,可提升用户操作体验。
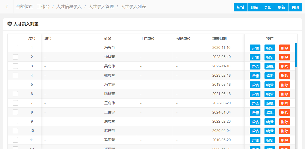
3.2.13、人才信息录入

人才录入管理功能主要字段信息包含:人才录入编码、编号、姓名、工作单位、报送单位、填表日期、居民身份证号码、曾用名、性别、出生年月、年龄、出生地、籍贯、民族、参加工作时间、婚姻状况、政治面貌、参加党派时间、健康状况、第一学历、毕业院校及专业、最高学历、毕业院校及专业2、专业技术职务、从事专业、研究方向、人才类别、享有称号、在岗状态、现工作单位及职务全称、职务级别、家庭住址、邮政编码、手机号码、QQ或邮箱、照片、主要业绩简述、所在单位意见、主管部门意见、所在单位日期、主管部门日期等。使用表格形式展示数据信息,方便用户查看和编辑。
人才录入管理设置新增、编辑、删除、条件搜索、查看详情等操作,可按照页面提示进行操作执行,界面结构设计简单,操作流程简洁明了,可提升用户操作体验。
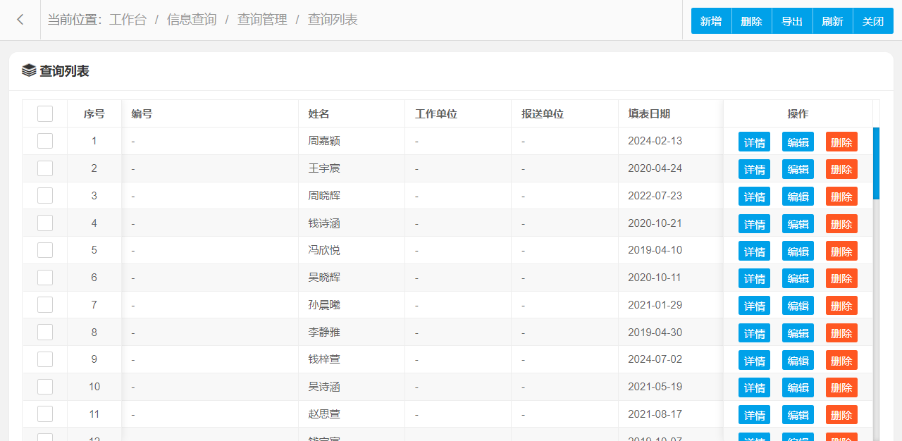
3.2.14、信息查询

查询管理功能主要字段信息包含:查询编码、编号、姓名、工作单位、报送单位、填表日期、居民身份证号码、曾用名、性别、出生年月、年龄、出生地、籍贯、民族、参加工作时间、婚姻状况、政治面貌、参加党派时间、健康状况、第一学历、毕业院校及专业、最高学历、毕业院校及专业2、专业技术职务、从事专业、研究方向、人才类别、享有称号、在岗状态、现工作单位及职务全称、职务级别、家庭住址、邮政编码、手机号码、QQ或邮箱、照片、主要业绩简述、所在单位意见、主管部门意见、所在单位日期、主管部门日期等。使用表格形式展示数据信息,方便用户查看和编辑。
查询管理设置新增、编辑、删除、条件搜索、查看详情等操作,可按照页面提示进行操作执行,界面结构设计简单,操作流程简洁明了,可提升用户操作体验。
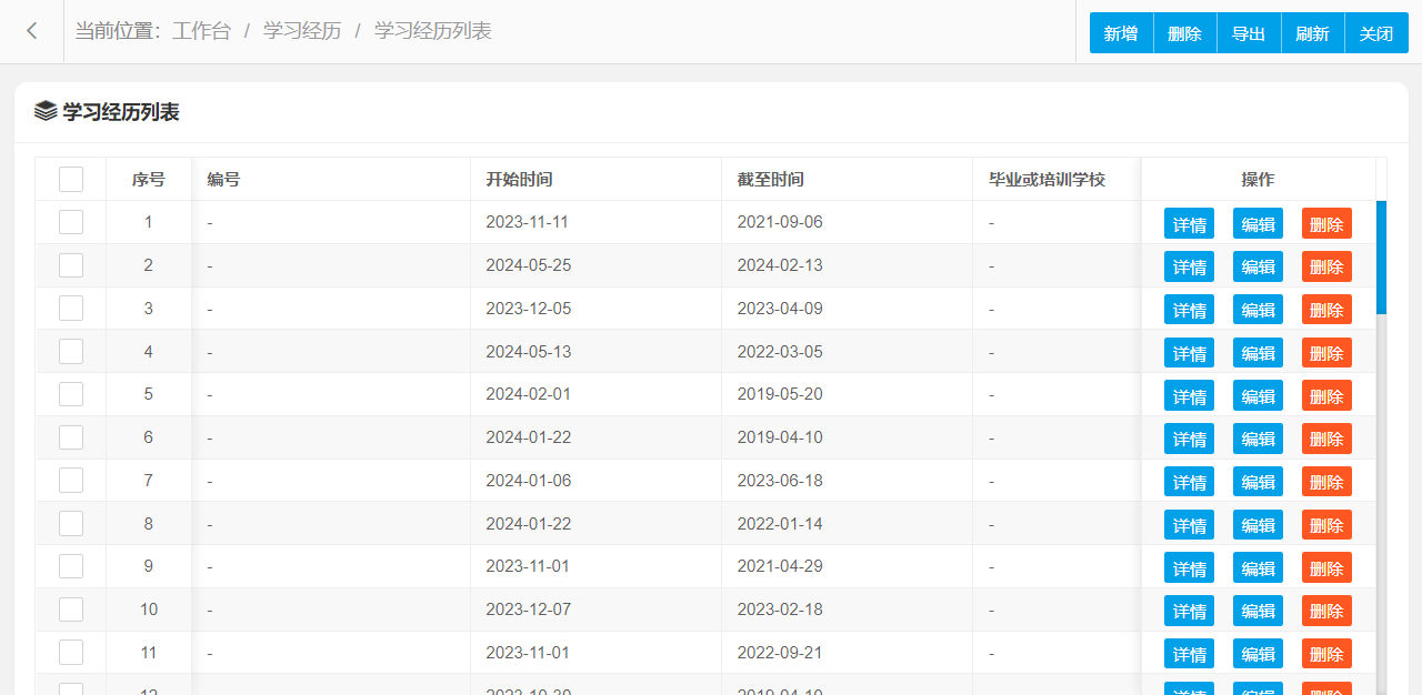
3.2.15、学习经历

学习经历管理功能主要字段信息包含:编码、编号、开始时间、截至时间、毕业或培训学校等。使用表格形式展示数据信息,方便用户查看和编辑。
学习经历管理设置新增、编辑、删除、条件搜索、查看详情等操作,可按照页面提示进行操作执行,界面结构设计简单,操作流程简洁明了,可提升用户操作体验。
3.2.16、政治面貌设置

政治面貌设置管理功能主要字段信息包含:编码、政治面貌等。使用表格形式展示数据信息,方便用户查看和编辑。
政治面貌设置管理设置新增、编辑、删除、条件搜索、查看详情等操作,可按照页面提示进行操作执行,界面结构设计简单,操作流程简洁明了,可提升用户操作体验。
3.2.17、专业技术职务

专业技术职务管理功能主要字段信息包含:编码、编号、技术职务名称、聘任日期、聘任机构等。使用表格形式展示数据信息,方便用户查看和编辑。
专业技术职务管理设置新增、编辑、删除、条件搜索、查看详情等操作,可按照页面提示进行操作执行,界面结构设计简单,操作流程简洁明了,可提升用户操作体验。
3.2.18、主要学术组织或协会兼职情况

主要学术组织或协会兼职情况管理功能主要字段信息包含:编码、编号、学术组织或协会名称、担任职务、开始时间、截止时间等。使用表格形式展示数据信息,方便用户查看和编辑。
主要学术组织或协会兼职情况管理设置新增、编辑、删除、条件搜索、查看详情等操作,可按照页面提示进行操作执行,界面结构设计简单,操作流程简洁明了,可提升用户操作体验。

















暂无评论内容