
导读:本文将从全渠道客户服务智慧管理系统的开发目的、开发背景、目标用户、系统设计、系统架构、主要功能模块等方面进行分析,软件主要功能包括:采购管理、产品库存管理、订单管理、短信管理、发货管理、供应商管理、客户回访管理、客户投诉管理、客户信息管理、联系人管理、权限管理、渠道管理、市场活动管理、售后服务管理、收款管理、售前咨询管理、统计报表管理、销售机会管理、知识库管理,全文约5792字,需要11分钟左右。感谢阅读,如有建议和意见欢迎评论交流。
一、引言
1.1、开发目的和背景

随着信息技术的飞速发展,商业环境日益复杂,企业对客户服务的需求也愈发精细和多元化。传统的管理模式已经无法满足现代企业对于高效、精确和个性化的服务需求。因此,我们设计并开发了这款“全渠道客户服务智慧管理系统”。其主要目标是为各类企业提供一站式的客户服务解决方案,以提升运营效率,优化客户体验,降低运营成本。
在当今竞争激烈的市场环境中,采购管理、产品库存控制、订单处理等环节的重要性不言而喻。我们的系统通过集成自动化工具,简化了这些流程,减少了人为错误,保证了业务的连续性和准确性。短信管理和发货管理模块则帮助企业及时响应客户需求,提高客户满意度。
对于供应商管理,系统提供了全面的合作伙伴评估和管理功能,有助于企业选择优质的供应商,确保供应链的稳定。同时,客户回访、投诉管理和信息管理等功能,旨在维护长期客户关系,提升客户忠诚度。
权限管理确保数据安全,渠道管理则帮助企业灵活调整营销策略,市场活动管理和售后服务管理则是企业提升品牌形象,增强竞争优势的关键。收款管理和销售机会管理帮助企业管理现金流和挖掘潜在利润,统计报表管理则为企业决策提供数据支持。
总的来说,本系统的开发背景是对现有客户服务模式的深刻洞察,以及对提升企业竞争力,实现数字化转型的迫切需求。我们希望通过这款智慧管理系统,助力企业在瞬息万变的市场环境中保持敏捷,实现业务持续增长。
1.2、软件的目标用户

全渠道客户服务智慧管理系统是专为各类企业设计的智能化工具,尤其适用于零售、电商、物流和服务行业。在日常运营中,它可以在以下场景发挥关键作用:
1. 采购管理:企业可通过系统实时监控市场动态,自动化下单,节省采购时间和成本。
2. 库存管理:系统可以自动预警库存不足,避免缺货带来的经济损失。
3. 订单管理:无论是线上还是线下订单,系统都能高效处理,实现全程跟踪。
4. 短信管理:通过集成短信服务,企业能及时发送订单状态、促销信息,提升客户体验。
5. 发货和售后服务:系统能自动化生成发货单据,并提供售后问题处理流程,简化业务流程。
我们的主要目标用户是那些追求效率和精细化管理的企业,特别是中大型零售连锁店、电子商务公司、物流公司和专业服务公司。这些用户可能每天要处理大量的订单,需要有效管理客户信息,维护供应商关系,同时进行市场推广和数据分析。无论是希望通过数字化转型提高运营效率的企业,还是希望优化客户服务体验,提升客户满意度的机构,全渠道客户服务智慧管理系统都是他们的理想选择。无论你是负责采购的经理,还是客户服务团队的一员,或者是市场推广的负责人,这个系统都能为你提供强大而便捷的支持。
二、软件总体架构
2.1、系统概述

全渠道客户服务智慧管理系统是一款集成了多业务模块的高效解决方案,专为现代企业提供一站式客户服务管理。该系统基于Java开发语言,采用SpringMVC架构设计,确保了代码的模块化和可扩展性,而MySQL作为底层数据库,保证了数据的稳定性和安全性。
首要功能模块,采购管理模块协助企业实时监控供应链,自动化处理采购订单,提升采购效率。产品库存管理模块则实现库存动态跟踪,避免断货或过度库存问题。
订单管理模块支持快速创建、修改和跟踪订单状态,配合短信管理模块,能够及时通知客户订单进度,提高客户满意度。发货管理与供应商管理模块协同工作,确保物流流程顺畅,供应商信息一目了然。
客户回访和投诉管理模块,帮助企业主动关心客户需求,快速响应并解决投诉,提升客户忠诚度。客户信息管理和联系人管理提供全面的客户档案,便于维护和跟进。
权限管理确保数据安全,根据用户角色分配不同权限,渠道管理则有助于整合线上线下销售,市场活动管理支持灵活的营销策略执行。售后服务管理优化服务流程,收款管理有效追踪款项流动,售前咨询管理则提供专业解答,增加转化率。
统计报表管理模块通过可视化数据展示运营状况,销售机会管理帮助挖掘潜在商机,知识库管理则为企业内部共享信息提供了平台。
总的来说,全渠道客户服务智慧管理系统是一个强大且易用的工具,旨在提升企业的运营效率,优化客户服务体验,从而推动业务增长。无论规模大小,都能适应不断变化的商业环境,为企业创造价值。
2.2、系统架构

我们的全渠道客户服务智慧管理系统采用了先进的B/S(Browser/Server)架构设计,这是一种基于互联网的分布式应用模型,旨在实现系统的高效、易用和扩展性。系统的核心开发技术栈选用了Java和Spring MVC框架,这两者在企业级应用中具有广泛的认可度和强大的功能支持。
1. 前端界面:采用HTML、CSS和JavaScript技术,构建用户友好的图形化界面,用户可以通过浏览器访问,无需安装客户端软件,提供了跨平台的兼容性。
2. 后端逻辑:Spring MVC作为后端核心,提供了清晰的分层设计,包括控制层(Controller)、服务层(Service)和数据访问层(Repository)。这样可以保持代码结构清晰,易于维护。
3. 持久层:使用Java Persistence API (JPA)或Hibernate进行数据库交互,对Oracle、MySQL等主流数据库有良好的支持,保证了数据的高效存储和管理。
4. 业务模块:涵盖了多个关键业务模块如采购管理、库存管理、订单管理等,每个模块之间通过RESTful API进行通信,确保了系统的集成性和灵活性。
5. 权限管理:采用角色基和权限分离的策略,有效控制不同用户对系统的操作权限,确保数据安全。
6. 数据仓库:统计报表管理模块,利用ECharts或Tableau等工具,将系统生成的各种业务数据转化为可视化报告,帮助决策者快速洞察业务状况。
7. 知识库管理:集成FAQ和文档管理功能,提供丰富的客户支持资源,有助于提升服务质量。
8. API接口:开放式的API设计,允许外部系统或移动应用接入,实现无缝的数据交换和集成。
通过这种精心设计的架构,我们的全渠道客户服务智慧管理系统能够实现高效的信息流转,提升企业的运营效率,并提供卓越的客户服务体验。
三、软件功能操作
3.1、系统登录
在浏览器中输入系统网址,打开登录界面后输入登录账号、登录密码、验证码即可登录。

3.2、工作台
工作台包含:采购管理、产品库存管理、订单管理、短信管理、发货管理、供应商管理、客户回访管理、客户投诉管理、客户信息管理、联系人管理、权限管理、渠道管理、市场活动管理、售后服务管理、收款管理、售前咨询管理、统计报表管理、销售机会管理、知识库管理,根据不同角色权限菜单展示会有所区别。
3.2.1、采购管理

管理功能主要字段信息包含:管理编码、采购单编号、供应商名称、采购日期、采购物品、采购数量、采购金额、付款方式、备注等。使用表格形式展示数据信息,方便用户查看和编辑。
管理设置新增、编辑、删除、条件搜索、查看详情等操作,可按照页面提示进行操作执行,界面结构设计简单,操作流程简洁明了,可提升用户操作体验。
3.2.2、产品库存管理

管理功能主要字段信息包含:管理编码、产品名称、产品编号、产品类型、产品规格、产品批次、生产日期、存货数量、库存地点、备注等。使用表格形式展示数据信息,方便用户查看和编辑。
管理设置新增、编辑、删除、条件搜索、查看详情等操作,可按照页面提示进行操作执行,界面结构设计简单,操作流程简洁明了,可提升用户操作体验。
3.2.3、订单管理

管理功能主要字段信息包含:管理编码、订单编号、客户名称、联系人、订单金额、下单日期、交货日期、订单状态、销售人员、备注等。使用表格形式展示数据信息,方便用户查看和编辑。
管理设置新增、编辑、删除、条件搜索、查看详情等操作,可按照页面提示进行操作执行,界面结构设计简单,操作流程简洁明了,可提升用户操作体验。
3.2.4、短信管理

管理功能主要字段信息包含:管理编码、发送人员、发送时间、发送内容、接收人员、接收时间、接收内容、发送状态、备注等。使用表格形式展示数据信息,方便用户查看和编辑。
管理设置新增、编辑、删除、条件搜索、查看详情等操作,可按照页面提示进行操作执行,界面结构设计简单,操作流程简洁明了,可提升用户操作体验。
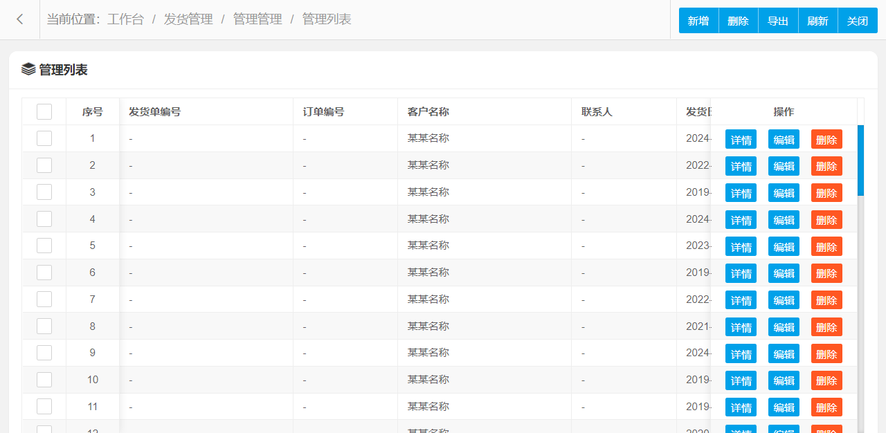
3.2.5、发货管理

管理功能主要字段信息包含:管理编码、发货单编号、订单编号、客户名称、联系人、发货日期、发货状态、物流公司、快递单号、备注等。使用表格形式展示数据信息,方便用户查看和编辑。
管理设置新增、编辑、删除、条件搜索、查看详情等操作,可按照页面提示进行操作执行,界面结构设计简单,操作流程简洁明了,可提升用户操作体验。
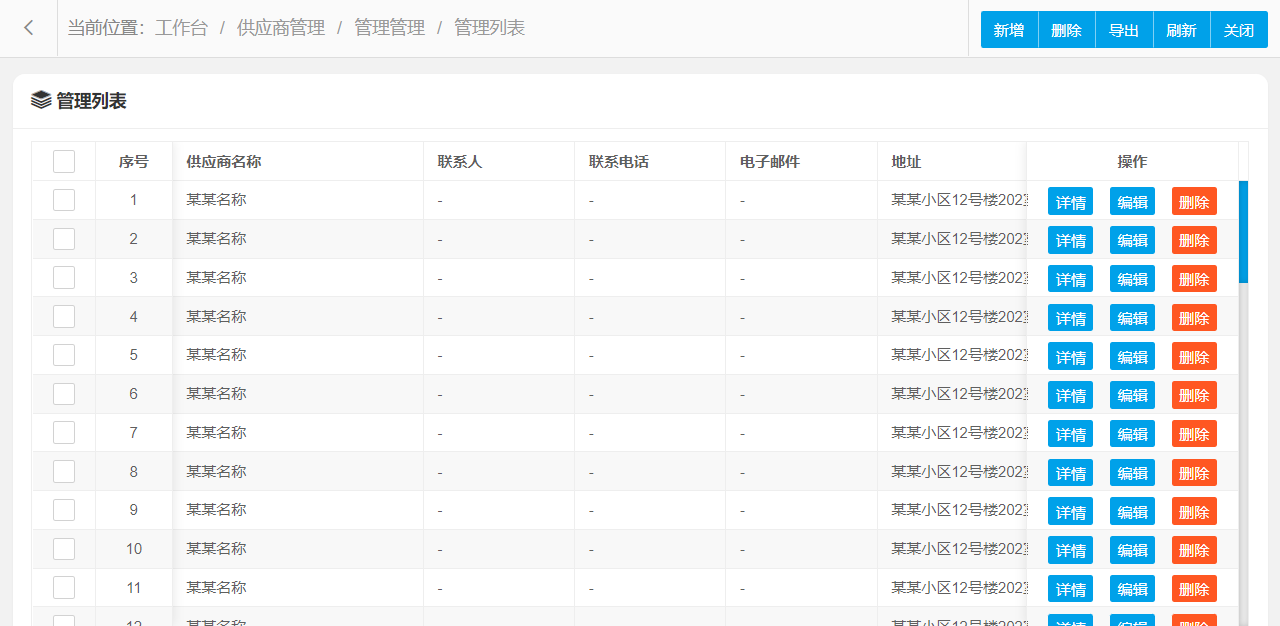
3.2.6、供应商管理

管理功能主要字段信息包含:管理编码、供应商名称、联系人、联系电话、电子邮件、地址、经营范围、信誉、级、备注等。使用表格形式展示数据信息,方便用户查看和编辑。
管理设置新增、编辑、删除、条件搜索、查看详情等操作,可按照页面提示进行操作执行,界面结构设计简单,操作流程简洁明了,可提升用户操作体验。
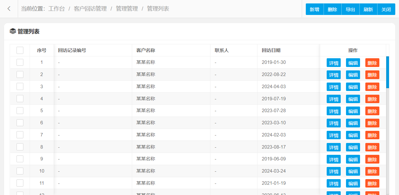
3.2.7、客户回访管理

管理功能主要字段信息包含:管理编码、回访记录编号、客户名称、联系人、回访日期、回访人员、回访结果、备注等。使用表格形式展示数据信息,方便用户查看和编辑。
管理设置新增、编辑、删除、条件搜索、查看详情等操作,可按照页面提示进行操作执行,界面结构设计简单,操作流程简洁明了,可提升用户操作体验。
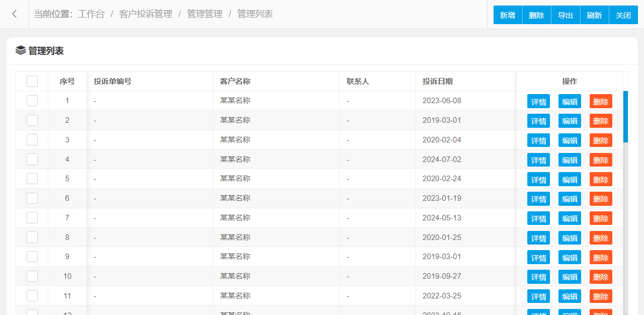
3.2.8、客户投诉管理

管理功能主要字段信息包含:管理编码、投诉单编号、客户名称、联系人、投诉日期、处理人员、投诉状态、投诉内容、备注等。使用表格形式展示数据信息,方便用户查看和编辑。
管理设置新增、编辑、删除、条件搜索、查看详情等操作,可按照页面提示进行操作执行,界面结构设计简单,操作流程简洁明了,可提升用户操作体验。
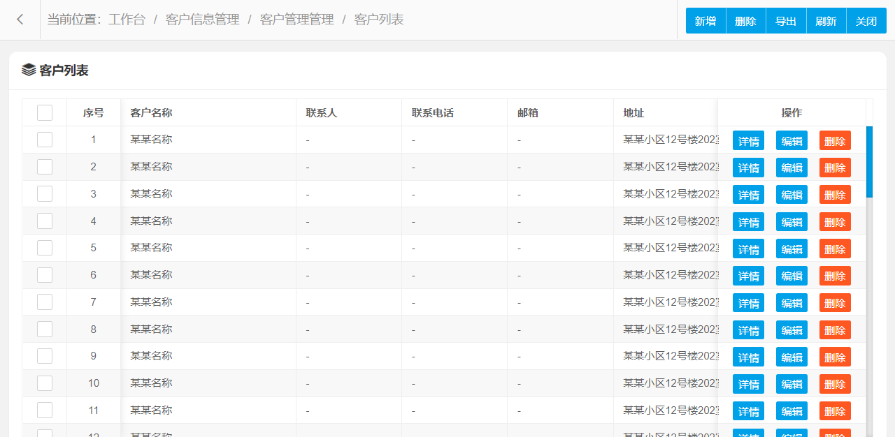
3.2.9、客户信息管理

客户管理功能主要字段信息包含:客户管理编码、客户名称、联系人、联系电话、邮箱、地址、行业、公司规模、客户需求、客户分类、备注等。使用表格形式展示数据信息,方便用户查看和编辑。
客户管理设置新增、编辑、删除、条件搜索、查看详情等操作,可按照页面提示进行操作执行,界面结构设计简单,操作流程简洁明了,可提升用户操作体验。
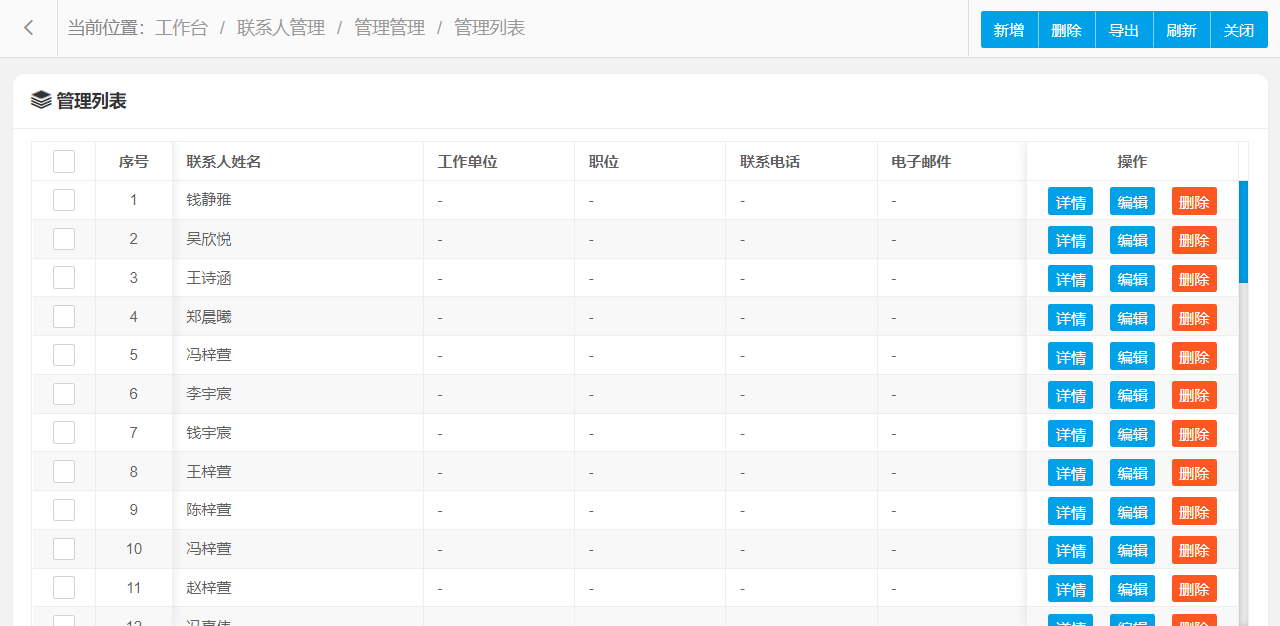
3.2.10、联系人管理

管理功能主要字段信息包含:管理编码、联系人姓名、工作单位、职位、联系电话、电子邮件、银行账号、通讯地址、备注等。使用表格形式展示数据信息,方便用户查看和编辑。
管理设置新增、编辑、删除、条件搜索、查看详情等操作,可按照页面提示进行操作执行,界面结构设计简单,操作流程简洁明了,可提升用户操作体验。
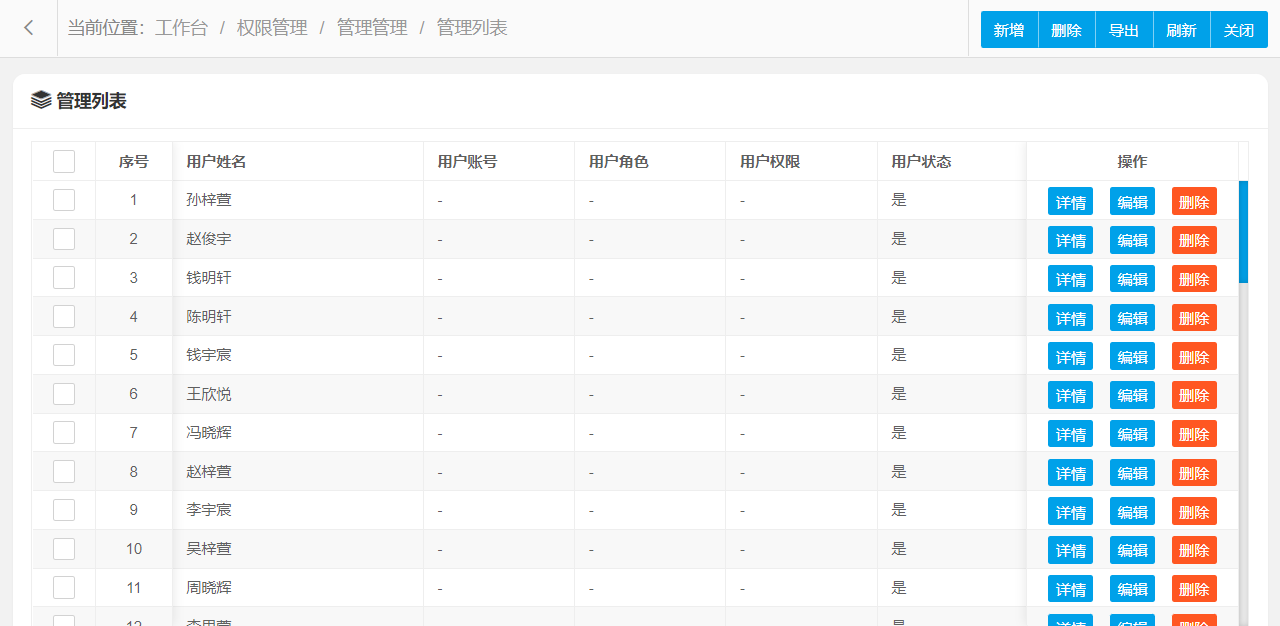
3.2.11、权限管理

管理功能主要字段信息包含:管理编码、用户姓名、用户账号、用户密码、用户角色、用户权限、用户状态、备注等。使用表格形式展示数据信息,方便用户查看和编辑。
管理设置新增、编辑、删除、条件搜索、查看详情等操作,可按照页面提示进行操作执行,界面结构设计简单,操作流程简洁明了,可提升用户操作体验。
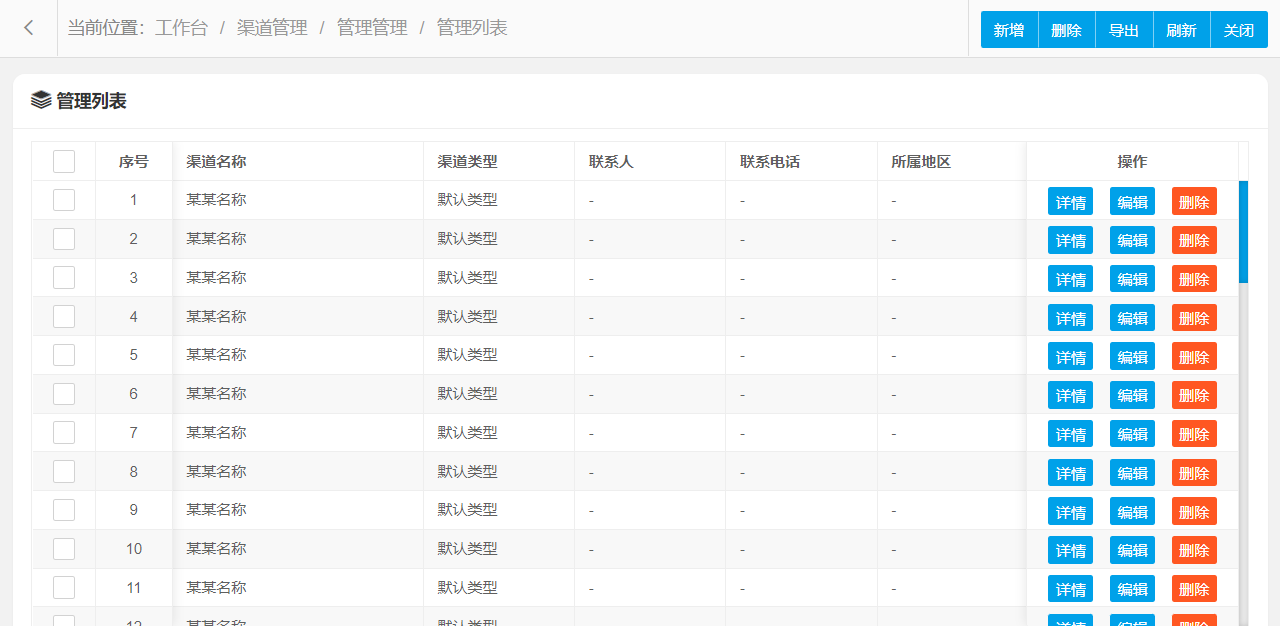
3.2.12、渠道管理

管理功能主要字段信息包含:管理编码、渠道名称、渠道类型、联系人、联系电话、所属地区、销售额、利润、备注等。使用表格形式展示数据信息,方便用户查看和编辑。
管理设置新增、编辑、删除、条件搜索、查看详情等操作,可按照页面提示进行操作执行,界面结构设计简单,操作流程简洁明了,可提升用户操作体验。
3.2.13、市场活动管理

管理功能主要字段信息包含:管理编码、活动名称、活动日期、活动类型、活动负责人、活动预算、活动参与人数、活动成果、备注等。使用表格形式展示数据信息,方便用户查看和编辑。
管理设置新增、编辑、删除、条件搜索、查看详情等操作,可按照页面提示进行操作执行,界面结构设计简单,操作流程简洁明了,可提升用户操作体验。
3.2.14、售后服务管理

管理功能主要字段信息包含:管理编码、售后服务单编号、客户名称、联系人、服务类型、服务日期、处理人员、服务状态、服务内容、备注等。使用表格形式展示数据信息,方便用户查看和编辑。
管理设置新增、编辑、删除、条件搜索、查看详情等操作,可按照页面提示进行操作执行,界面结构设计简单,操作流程简洁明了,可提升用户操作体验。
3.2.15、收款管理

管理功能主要字段信息包含:管理编码、收款单编号、订单编号、客户名称、联系人、收款日期、收款金额、收款方式、销售人员、备注等。使用表格形式展示数据信息,方便用户查看和编辑。
管理设置新增、编辑、删除、条件搜索、查看详情等操作,可按照页面提示进行操作执行,界面结构设计简单,操作流程简洁明了,可提升用户操作体验。
3.2.16、售前咨询管理

管理功能主要字段信息包含:管理编码、咨询内容、客户需求、咨询日期、咨询人员、处理人员、咨询状态、备注等。使用表格形式展示数据信息,方便用户查看和编辑。
管理设置新增、编辑、删除、条件搜索、查看详情等操作,可按照页面提示进行操作执行,界面结构设计简单,操作流程简洁明了,可提升用户操作体验。
3.2.17、统计报表管理

管理功能主要字段信息包含:管理编码、报表名称、报表类型、生成日期、报表内容、报表状态、备注等。使用表格形式展示数据信息,方便用户查看和编辑。
管理设置新增、编辑、删除、条件搜索、查看详情等操作,可按照页面提示进行操作执行,界面结构设计简单,操作流程简洁明了,可提升用户操作体验。
3.2.18、销售机会管理

管理功能主要字段信息包含:管理编码、机会名称、客户名称、联系人、预计成交金额、预计成交日期、机会来源、机会状态、机会类型、销售人员、备注等。使用表格形式展示数据信息,方便用户查看和编辑。
管理设置新增、编辑、删除、条件搜索、查看详情等操作,可按照页面提示进行操作执行,界面结构设计简单,操作流程简洁明了,可提升用户操作体验。
3.2.19、知识库管理

管理功能主要字段信息包含:管理编码、知识标题、知识类型、知识作者、知识关键字、知识内容、上传日期、知识状态、备注等。使用表格形式展示数据信息,方便用户查看和编辑。
管理设置新增、编辑、删除、条件搜索、查看详情等操作,可按照页面提示进行操作执行,界面结构设计简单,操作流程简洁明了,可提升用户操作体验。


















暂无评论内容