
导读:本文将从党建活动室智慧管理系统的开发目的、开发背景、目标用户、系统设计、系统架构、主要功能模块等方面进行分析,软件主要功能包括:党员信息录入、负责人查询、活动场所登记录入、家庭成员、权限设置、填报单位、填报单位查询、县区查询、县区乡镇,全文约4484字,需要8分钟左右。感谢阅读,如有建议和意见欢迎评论交流。
一、引言
1.1、开发目的和背景

党建活动室智慧管理系统是针对新时代背景下基层党组织管理需求而研发的一款高效信息化工具。随着数字化转型的推进,传统的管理模式已无法满足日益增长的管理工作量和对数据准确性的高要求。为此,我们设计并开发了这一系统,旨在提升党的基层组织管理效率,优化党员服务,实现党务工作的智能化。
在当前的时代背景下,基层党建工作面临着大量的党员信息管理和活动组织任务,传统的手工记录方式不仅耗时,而且容易出错,难以满足全面、细致、实时的管理需求。本系统通过集成党员信息录入、负责人查询、活动场所管理等功能模块,实现了数据的自动化处理和实时更新,极大地减轻了工作人员的工作负担,提高了工作效率。
系统中的权限设置模块,确保了数据的安全性和隐私性,只有授权人员才能访问相关数据,有效防止信息泄露。同时,填报单位、县区乡镇的快速查询功能,方便了各级党组织之间的沟通和协作,提升了信息的传递速度。
此外,家庭成员等相关个人信息的录入,不仅丰富了党员档案,也有助于全面了解党员的家庭状况,从而更好地进行个性化关怀和服务。综上所述,党建活动室智慧管理系统的开发,旨在构建一个现代化、便捷、安全的基层党建工作环境,推动党的基层组织工作迈入数字化、智能化的新阶段。
1.2、软件的目标用户

党建活动室智慧管理系统是一款专为基层党组织设计的高效管理工具,旨在提升党建工作信息化水平,简化工作流程,实现党员信息的准确管理和活动组织的有序进行。其应用场景广泛涵盖各级党组织的日常运营和活动管理。
首先,对于基层党支部,如社区党群服务中心或企事业单位党委会,党员信息录入模块让工作人员能够快速、便捷地录入、更新和维护党员的基本信息,包括基本信息如姓名、性别、入党日期等,以及家庭成员信息,方便实时掌握党员动态。同时,通过权限设置功能,确保数据的安全和隐私。
负责人查询模块则为上级党组织提供了查找下级单位负责人的便捷途径,便于任务分配和沟通协调。活动场所登记录入则帮助记录每一次的活动举办情况,包括活动时间、地点、主题等,以便后续的数据分析和绩效评估。
对于填报单位、填报单位查询以及县区、乡镇等地理信息的管理,使得系统能够支持全国范围内的基层党组织联网,便于跨地区活动组织和资源共享,提升了管理的效率和覆盖广度。
总体来说,这款软件的主要目标用户是各级党组织的管理员、书记、副书记,以及参与日常活动的党员。无论是需要管理党员信息,还是计划和组织各类活动,或是向上级汇报工作进展,党建活动室智慧管理系统都能提供强大的支持,使他们的工作更加智能化,提升工作效率,促进党的基层组织建设的现代化进程。
二、软件总体架构
2.1、系统概述

党建活动室智慧管理系统是一款专为提升党务管理效率和便捷性而设计的信息化软件。该系统采用Java作为核心开发语言,借助SpringMVC框架构建,数据库则选用可靠的MySQL,确保了系统的稳定性和数据安全性。
主要功能模块如下:
1. 党员信息录入:用户可以方便快捷地录入和管理党员的基本信息,包括姓名、性别、职务、入党日期等,支持批量导入和实时更新,方便进行统计分析。
2. 负责人查询:通过智能搜索功能,快速找到指定党员或活动负责人的详细资料,提高工作效率。
3. 活动场所登记录入:管理人员可以记录并追踪活动室的使用情况,包括预约、使用时间、使用者信息等,便于资源的有效分配。
4. 权限设置:针对不同角色设定不同的操作权限,如管理员、普通用户等,保证数据的安全性和准确性。
5. 填报单位与查询:支持填报单位信息的录入和查询,便于上级对下级单位的活动情况进行监管。
6. 县区查询:结合地理位置信息,方便查找特定县区的党员或活动记录,实现区域化管理。
7. 家庭成员关联:允许党员在系统中添加家庭成员信息,增强党务管理的全面性。
8. 县区乡镇层级管理:支持多层级行政区划管理,便于开展更精细的地区性活动组织和管理。
这套系统旨在通过数字化手段,简化党务工作流程,提升党的基层组织管理效能,为各级党组织提供一个高效、直观、易用的工具。同时,其用户友好的界面和强大的数据处理能力,使党务工作者能更好地服务党员,推动党的事业发展。
2.2、系统架构

党建活动室智慧管理系统是一款专为党务管理和活动组织设计的智能化软件,其架构设计基于B/S(Browser/Server)模式,充分利用了Java语言的强大性和Spring MVC框架的灵活性。
系统的核心架构主要包括以下几个模块:
1. 前端界面:用户界面采用HTML、CSS和JavaScript构建,简洁直观,支持不同终端访问,如PC、移动设备等。用户可以方便地进行党员信息录入、负责人查询、活动场所管理等操作。
2. 后端服务:Java作为后端开发的主要语言,提供了稳定、高效且跨平台的运行环境。Spring MVC框架被用于组织业务逻辑和数据处理,它通过控制器(Controller)处理用户请求,模型(Model)负责数据的持久化和业务逻辑,视图(View)负责渲染页面结果,实现了松耦合和高内聚。
3. 数据库管理:系统与关系型数据库(如MySQL或Oracle)紧密集成,所有关键数据如党员信息、活动记录、填报单位等都存储在其中,确保数据的安全性和一致性。
4. 权限控制:采用角色和权限管理机制,对不同级别的用户分配不同的操作权限,保证数据的隐私和系统安全。
5. 地理信息查询:模块包括县区查询和乡镇层级,利用地理位置API或者GIS技术,支持快速查找和定位相关活动区域。
6. 家庭成员管理:这一功能允许党员关联他们的家庭成员信息,提供更全面的个人档案管理。
整个架构设计旨在实现系统的易用性、扩展性和安全性,以满足党务工作的高效管理需求。同时,通过标准化接口和模块化设计,使得未来的维护和升级变得更加便捷。
三、软件功能操作
3.1、系统登录
在浏览器中输入系统网址,打开登录界面后输入登录账号、登录密码、验证码即可登录。

3.2、工作台
工作台包含:党员信息录入、负责人查询、活动场所登记录入、家庭成员、权限设置、填报单位、填报单位查询、县区查询、县区乡镇,根据不同角色权限菜单展示会有所区别。
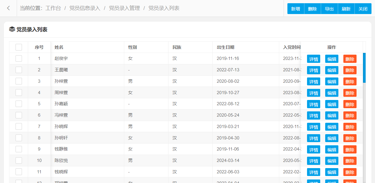
3.2.1、党员信息录入

党员录入管理功能主要字段信息包含:党员录入编码、姓名、性别、民族、出生日期、入党时间、状态、籍贯、出生地、工作单位及职务、党内职务、身份证号、参加工作时间、毕业院校及专业、学位或技术职称、毕业时间、文化程度、家庭住址、离退休时间、简历、参加培训情况、备注、照片、市区、县区、乡镇、地方名、党员民主评议情况、奖惩情况、编号、党支部、职称、类别等。使用表格形式展示数据信息,方便用户查看和编辑。
党员录入管理设置新增、编辑、删除、条件搜索、查看详情等操作,可按照页面提示进行操作执行,界面结构设计简单,操作流程简洁明了,可提升用户操作体验。
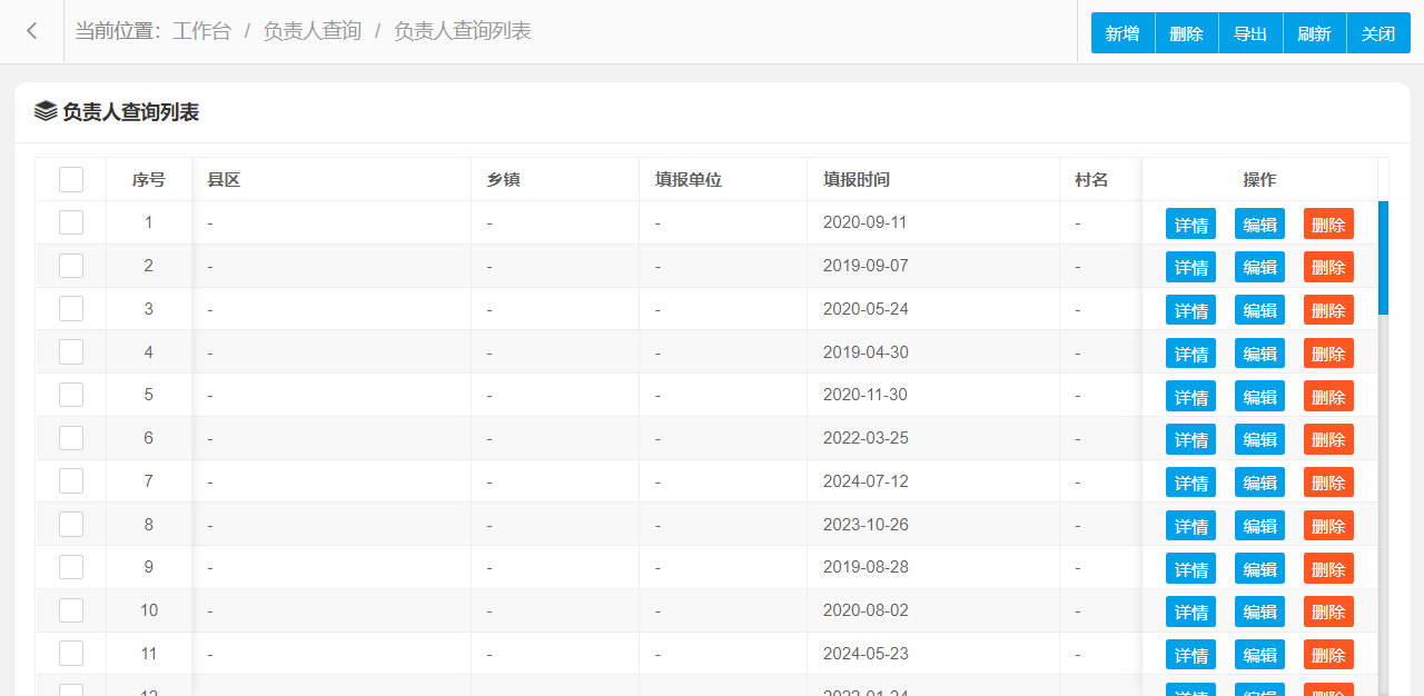
3.2.2、负责人查询

负责人查询管理功能主要字段信息包含:编码、县区、乡镇、填报单位、填报时间、村名、是否有活动室、建筑时间、负责人、建筑面积、建筑结构、资金投入、改造或修缮时间、改造或修缮后的面积、改后资金投入、改后建筑结构、党员活动室设备资金投入情况、党员活动室管理及使用情况、照片1、照片2等。使用表格形式展示数据信息,方便用户查看和编辑。
负责人查询管理设置新增、编辑、删除、条件搜索、查看详情等操作,可按照页面提示进行操作执行,界面结构设计简单,操作流程简洁明了,可提升用户操作体验。
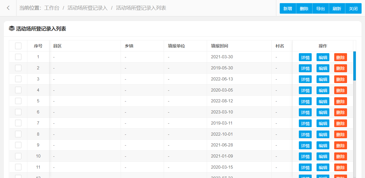
3.2.3、活动场所登记录入

活动场所登记录入管理功能主要字段信息包含:编码、县区、乡镇、填报单位、填报时间、村名、是否有活动室、建筑时间、负责人、建筑面积、建筑结构、资金投入、改造或修缮时间、改造或修缮后的面积、改后资金投入、改后建筑结构、党员活动室设备资金投入情况、党员活动室管理及使用情况、照片1、照片2等。使用表格形式展示数据信息,方便用户查看和编辑。
活动场所登记录入管理设置新增、编辑、删除、条件搜索、查看详情等操作,可按照页面提示进行操作执行,界面结构设计简单,操作流程简洁明了,可提升用户操作体验。
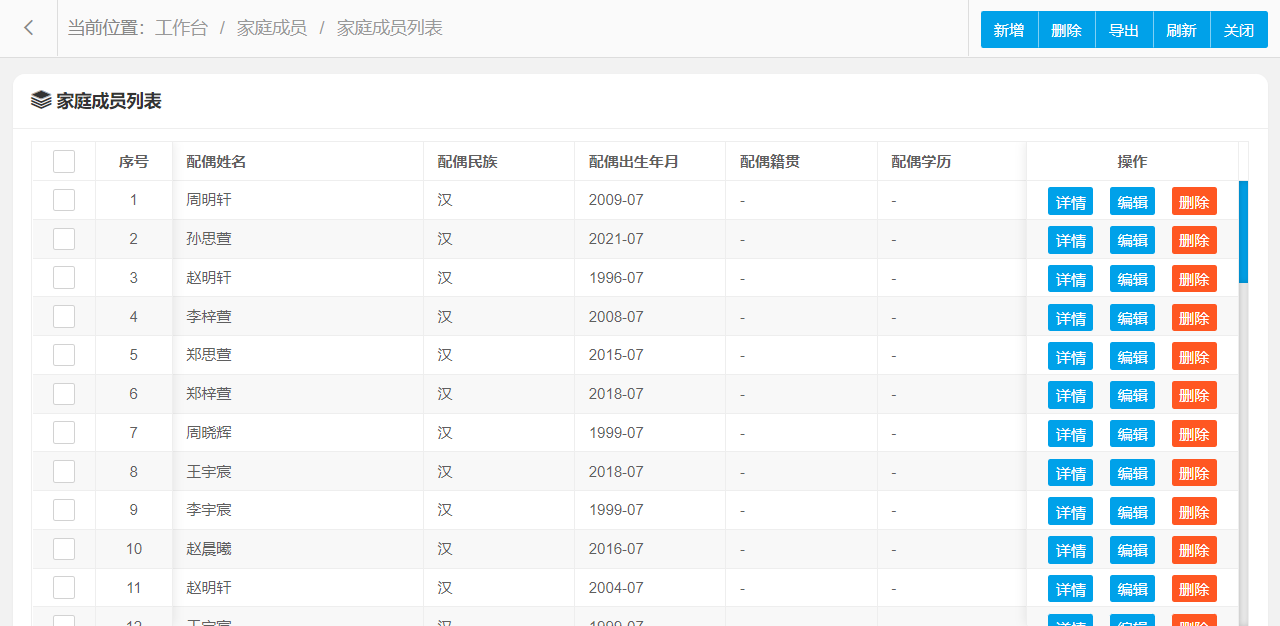
3.2.4、家庭成员

家庭成员管理功能主要字段信息包含:编码、配偶姓名、配偶民族、配偶出生年月、配偶籍贯、配偶学历、配偶参加工作时间、配偶政治面貌、配偶单位职务及职业、姓名、出生年月、单位职务或职业、政治面貌、关系、编号等。使用表格形式展示数据信息,方便用户查看和编辑。
家庭成员管理设置新增、编辑、删除、条件搜索、查看详情等操作,可按照页面提示进行操作执行,界面结构设计简单,操作流程简洁明了,可提升用户操作体验。
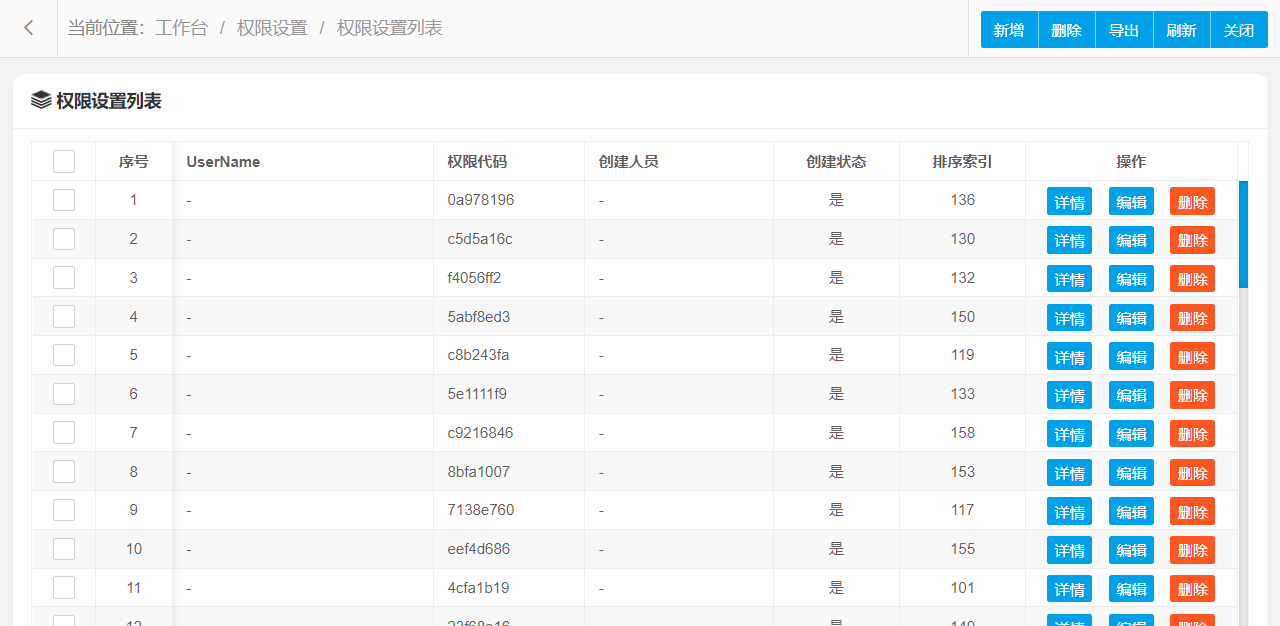
3.2.5、权限设置

权限设置管理功能主要字段信息包含:编码、UserName、权限代码等。使用表格形式展示数据信息,方便用户查看和编辑。
权限设置管理设置新增、编辑、删除、条件搜索、查看详情等操作,可按照页面提示进行操作执行,界面结构设计简单,操作流程简洁明了,可提升用户操作体验。
3.2.6、填报单位

填报单位管理功能主要字段信息包含:编码、填报单位等。使用表格形式展示数据信息,方便用户查看和编辑。
填报单位管理设置新增、编辑、删除、条件搜索、查看详情等操作,可按照页面提示进行操作执行,界面结构设计简单,操作流程简洁明了,可提升用户操作体验。
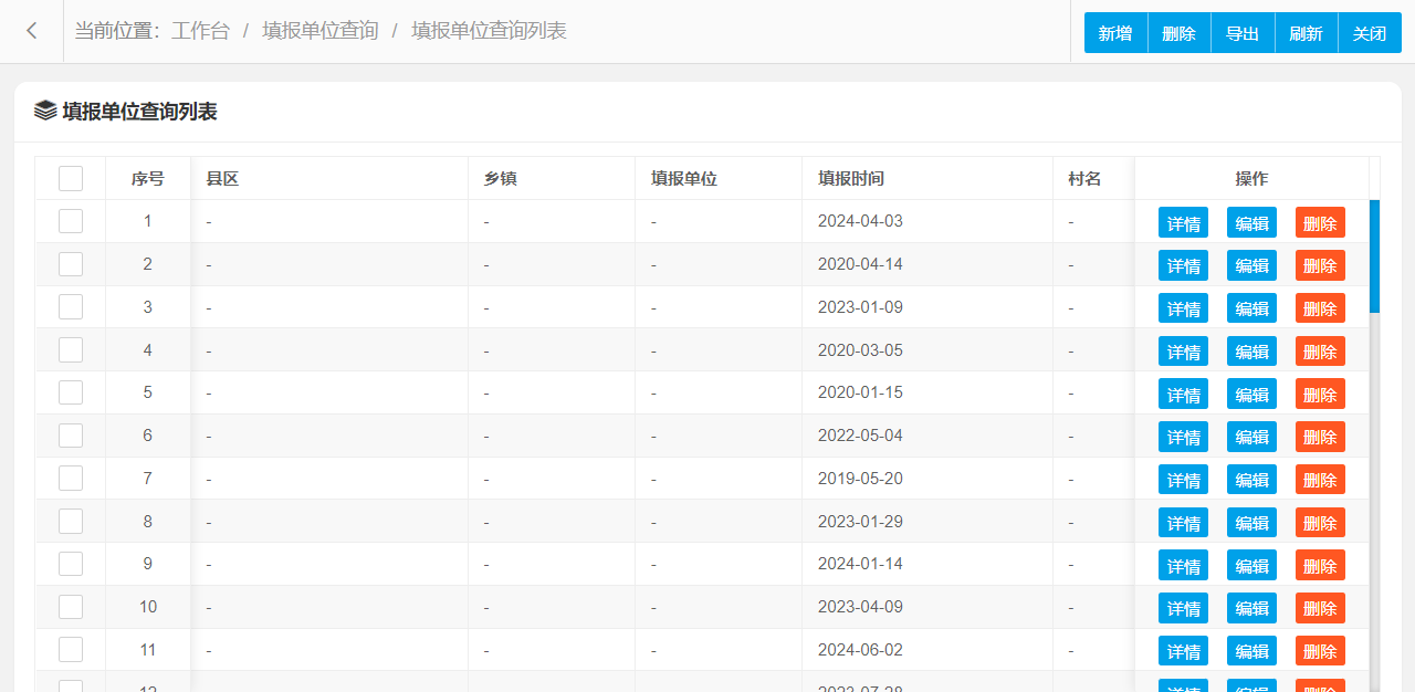
3.2.7、填报单位查询

填报单位查询管理功能主要字段信息包含:编码、县区、乡镇、填报单位、填报时间、村名、是否有活动室、建筑时间、负责人、建筑面积、建筑结构、资金投入、改造或修缮时间、改造或修缮后的面积、改后资金投入、改后建筑结构、党员活动室设备资金投入情况、党员活动室管理及使用情况、照片1、照片2等。使用表格形式展示数据信息,方便用户查看和编辑。
填报单位查询管理设置新增、编辑、删除、条件搜索、查看详情等操作,可按照页面提示进行操作执行,界面结构设计简单,操作流程简洁明了,可提升用户操作体验。
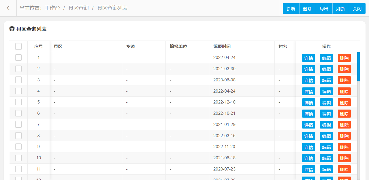
3.2.8、县区查询

县区查询管理功能主要字段信息包含:编码、县区、乡镇、填报单位、填报时间、村名、是否有活动室、建筑时间、负责人、建筑面积、建筑结构、资金投入、改造或修缮时间、改造或修缮后的面积、改后资金投入、改后建筑结构、党员活动室设备资金投入情况、党员活动室管理及使用情况、照片1、照片2等。使用表格形式展示数据信息,方便用户查看和编辑。
县区查询管理设置新增、编辑、删除、条件搜索、查看详情等操作,可按照页面提示进行操作执行,界面结构设计简单,操作流程简洁明了,可提升用户操作体验。
3.2.9、县区乡镇

县区乡镇管理功能主要字段信息包含:编码、县区、乡镇等。使用表格形式展示数据信息,方便用户查看和编辑。
县区乡镇管理设置新增、编辑、删除、条件搜索、查看详情等操作,可按照页面提示进行操作执行,界面结构设计简单,操作流程简洁明了,可提升用户操作体验。

















暂无评论内容