
导读:本文将从公交汽车票款综合智慧管理系统的开发目的、开发背景、目标用户、系统设计、系统架构、主要功能模块等方面进行分析,软件主要功能包括:车辆登记、车辆信息查询、出车记录查询、费用收入、费用收入查询、费用支出、费用支出查询、公交车线路设置、驾驶员登记、加油记录、加油记录查询、年审记录、年审记录查询、票据类型、票款查询、票款登记、其他员工登记、上班拿票、上班拿票查询统计、上班拿票从表、事故记录查询、售票员登记、投保记录、投保记录查询、投诉记录、投诉记录查询、维修记录、维修记录查询、违章记录、违章记录查询、下班交款、下班交款查询统计、下班交款从表、员工记录查询、月结交款查询统计、月结拿票查询统计,全文约8446字,需要16分钟左右。感谢阅读,如有建议和意见欢迎评论交流。
一、引言
1.1、开发目的和背景

公交汽车票款综合智慧管理系统是一款专为公共交通行业设计的现代化管理工具,其开发目标在于提升公交公司的运营效率,规范财务流程,减少人工错误,并提供实时、准确的数据分析以支持决策。在信息化日益深入的今天,传统的票务管理和财务管理方式已无法满足日益增长的业务需求,迫切需要一个集大数据处理、智能化操作于一体的解决方案。
在公共交通行业中,车辆维护、驾驶员管理、票款收入与支出、年审、保险等环节繁多且复杂,人工操作不仅耗时,而且容易出现疏漏。本系统通过集成车辆登记、驾驶员管理、费用流水、线路设置等多个模块,实现了对这些核心业务流程的全面覆盖和数字化管理。例如,车辆信息查询模块可实时追踪车辆状态,燃油消耗跟踪则有助于优化资源配置;票款登记和查询功能则确保了票务收入的透明度和准确性,月结交款和拿票统计则有助于财务报表的生成和分析。
此外,软件还特别关注人性化设计,如上班拿票和下班交款的功能,便于员工的日常操作,同时提供了从表查询,便于管理层进行深入的数据挖掘和问题排查。对于事故、投诉、维修和违章记录的管理,有助于提升服务质量,预防潜在风险。
综上所述,公交汽车票款综合智慧管理系统的开发旨在打造一个高效、安全、透明的公交运营管理平台,旨在优化行业服务,降低运营成本,提升整体竞争力,从而推动公共交通行业的数字化转型和升级。
1.2、软件的目标用户

1. 公共交通公司:公交公司可以使用该系统进行车辆登记和年审管理,实时了解每辆车的状态和历史记录,便于维护调度和计划优化。驾驶员信息与出车记录的整合,有助于进行考勤和绩效评估。
2. 票务部门:售票员通过系统录入售票信息,自动统计收入,简化了手工记账过程,减少了错误。同时,系统提供票据类型和票款查询功能,方便审计和成本分析。
3. 财务部门:财务人员可以快速查询和统计费用收入、支出、维修等各项数据,支持月结交款和拿票的自动汇总,大大节省了报表制作的时间。
4. 安全管理:违章记录、事故记录和投诉记录的实时记录和查询,有助于公司及时发现并处理问题,提升运营安全。
– 公交公司管理人员:他们需要系统来监控车辆状态,安排调度,以及管理司机和售票员。
– 票务工作人员:他们负责日常票务操作,需要系统提供的票款管理和统计工具。
– 财务人员:他们需要系统来处理财务数据,生成报表,进行成本控制和预算规划。
– 安全员:他们关注安全事件,系统中的违章记录和事故报告对他们至关重要。
– 员工(驾驶员、售票员):他们通过系统完成日常工作流程,如拿票、交款等。
总的来说,公交汽车票款综合智慧管理系统是面向公共交通行业的全方位解决方案,旨在提升运营效率,增强管理透明度,并为用户提供便利的日常工作工具。
二、软件总体设计
2.1、系统概述

公交汽车票款综合智慧管理系统是一款专为公共交通行业设计的智能化管理软件,采用Java开发语言和SpringMVC框架构建,数据库采用MySQL,旨在提升运营效率,规范财务流程,提供全面的数据支持。
该系统的核心功能模块包括:
1. 车辆管理:车辆登记与信息查询,方便实时跟踪车辆状态。
2. 费用管理:涵盖了费用收入、支出、查询,确保资金流水清晰。
3. 驾驶员管理:驾驶员登记与相关记录如出车、加油、年审等,便于人事考核。
4. 线路设置:灵活配置公交线路,提高运营规划能力。
5. 票务管理:票款登记、查询,支持不同类型的票券销售及统计。
6. 员工管理:涵盖售票员、其他员工的登记与上班拿票、下班交款等流程。
7. 记录查询:包括事故、投保、投诉、维修、违章等各类事件记录,便于问题追踪与预防。
8. 报表统计:提供月结交款、拿票统计,以及上班拿票从表和下班交款从表,为决策提供数据依据。
这款软件系统整合了公交运营的多个关键环节,通过强大的数据分析功能,帮助管理人员优化资源配置,提高服务效率,降低运营成本,实现智慧化管理,是公共交通行业现代化运营的有力工具。
2.2、系统架构

我们的公交汽车票款综合智慧管理系统采用了先进的B/S(Browser/Server)架构设计,这意味着它以浏览器作为用户界面,而服务器端则处理复杂的业务逻辑和数据存储。这一架构的最大优点是能够实现跨平台访问,无论用户身处何处,只要有互联网连接,都能方便地使用该系统。
核心部分由Java开发,得益于其强大的面向对象编程特性和丰富的API支持,这使得我们可以构建出高效、稳定且可扩展的后端系统。Spring MVC框架的应用,进一步优化了代码结构,提供了清晰的分层设计,将模型(Model)、视图(View)和控制器(Controller)分离,提升了系统的灵活性和可维护性。
系统模块主要包括:
1. 数据库管理:车辆、驾驶员、售票员、维修记录等关键信息存储在数据库中,保证了数据的一致性和安全性。
2. 业务流程管理:涵盖了车辆登记、出车记录、费用收入与支出、年审、加油、投诉处理等一系列运营流程。
3. 查询与报表:通过各种查询功能,如票款查询、上班拿票查询统计、违章记录查询等,提供实时的数据分析。
4. 权限控制:不同的角色(如管理员、驾驶员、售票员等)拥有定制化的操作权限,确保数据权限的合规性。
系统还引入了报表生成模块,如月结交款查询统计、月结拿票查询统计,以及上下班拿票从表和下班交款从表,便于管理层进行决策支持和绩效评估。
总体来说,这个公交汽车票款综合智慧管理系统是一个集数据管理、业务流程控制和数据分析于一体的全方位解决方案,旨在提升公交公司的运营效率和服务质量。
三、软件功能操作
3.1、系统登录
在浏览器中输入系统网址,打开登录界面后输入登录账号、登录密码、验证码即可登录。

3.2、工作台
工作台包含:车辆登记、车辆信息查询、出车记录查询、费用收入、费用收入查询、费用支出、费用支出查询、公交车线路设置、驾驶员登记、加油记录、加油记录查询、年审记录、年审记录查询、票据类型、票款查询、票款登记、其他员工登记、上班拿票、上班拿票查询统计、上班拿票从表、事故记录查询、售票员登记、投保记录、投保记录查询、投诉记录、投诉记录查询、维修记录、维修记录查询、违章记录、违章记录查询、下班交款、下班交款查询统计、下班交款从表、员工记录查询、月结交款查询统计、月结拿票查询统计,根据不同角色权限菜单展示会有所区别。
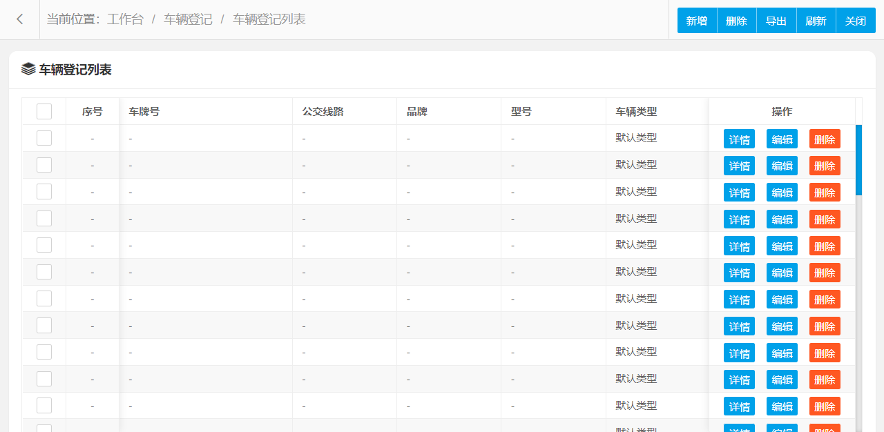
3.2.1、车辆登记

车辆登记管理功能主要字段信息包含:编码、车牌号、公交线路、品牌、型号、车辆类型、发动机、底牌、颜色、载重、座位、生产时间、购买时间、价格元、驾驶员、售票员、备注、图片一、图片二等。使用表格形式展示数据信息,方便用户查看和编辑。
车辆登记管理设置新增、编辑、删除、条件搜索、查看详情等操作,可按照页面提示进行操作执行,界面结构设计简单,操作流程简洁明了,可提升用户操作体验。
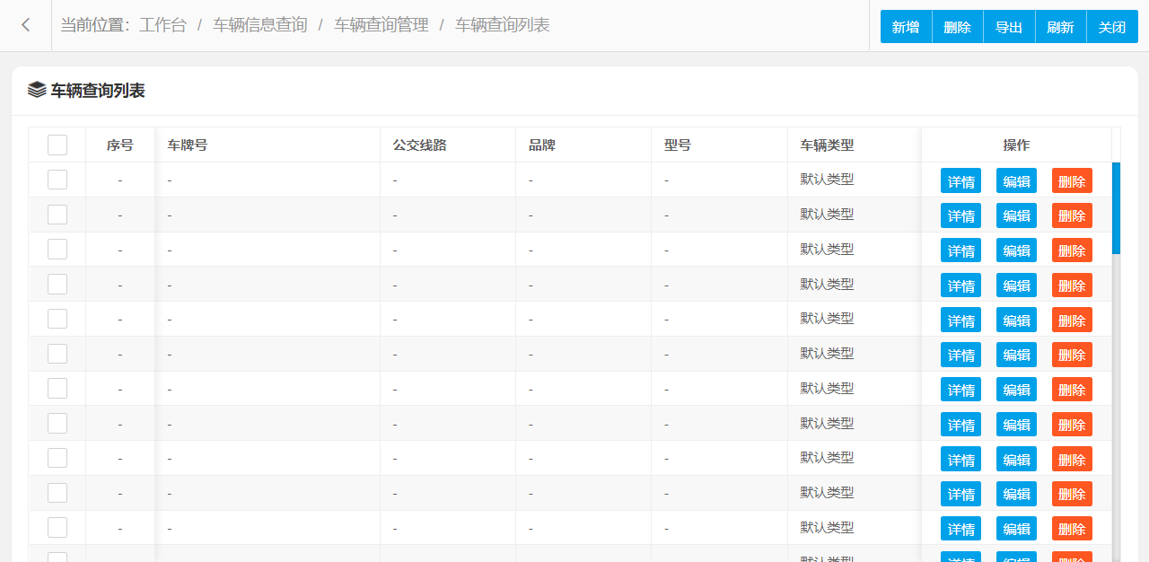
3.2.2、车辆信息查询

车辆查询管理功能主要字段信息包含:车辆查询编码、车牌号、公交线路、品牌、型号、车辆类型、发动机、底牌、颜色、载重、座位、生产时间、购买时间、价格元、驾驶员、售票员、备注、图片一、图片二等。使用表格形式展示数据信息,方便用户查看和编辑。
车辆查询管理设置新增、编辑、删除、条件搜索、查看详情等操作,可按照页面提示进行操作执行,界面结构设计简单,操作流程简洁明了,可提升用户操作体验。
3.2.3、出车记录查询

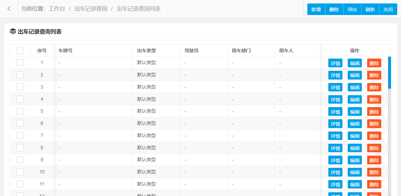
出车记录查询管理功能主要字段信息包含:编码、车牌号、出车类型、驾驶员、用车部门、用车人、事由、出车时间、返回时间、公里数、支出金额、收入金额、油量、备注等。使用表格形式展示数据信息,方便用户查看和编辑。
出车记录查询管理设置新增、编辑、删除、条件搜索、查看详情等操作,可按照页面提示进行操作执行,界面结构设计简单,操作流程简洁明了,可提升用户操作体验。
3.2.4、费用收入

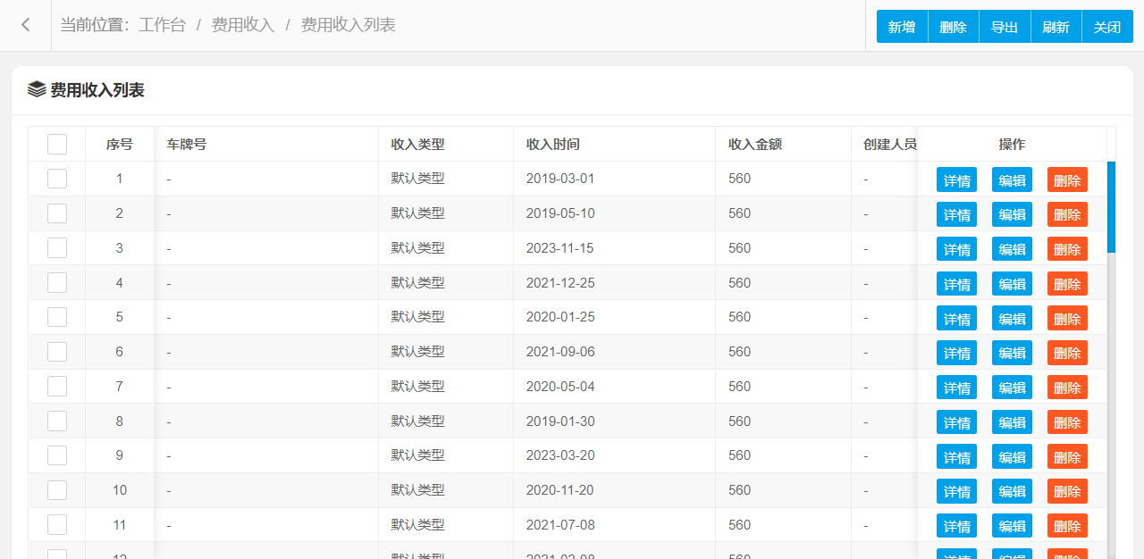
费用收入管理功能主要字段信息包含:编码、车牌号、收入类型、收入时间、收入金额、备注等。使用表格形式展示数据信息,方便用户查看和编辑。
费用收入管理设置新增、编辑、删除、条件搜索、查看详情等操作,可按照页面提示进行操作执行,界面结构设计简单,操作流程简洁明了,可提升用户操作体验。
3.2.5、费用收入查询

费用收入查询管理功能主要字段信息包含:编码、车牌号、收入类型、收入时间、收入金额、备注等。使用表格形式展示数据信息,方便用户查看和编辑。
费用收入查询管理设置新增、编辑、删除、条件搜索、查看详情等操作,可按照页面提示进行操作执行,界面结构设计简单,操作流程简洁明了,可提升用户操作体验。
3.2.6、费用支出

费用支出管理功能主要字段信息包含:编码、车牌号、支出类型、支出时间、支出金额、备注等。使用表格形式展示数据信息,方便用户查看和编辑。
费用支出管理设置新增、编辑、删除、条件搜索、查看详情等操作,可按照页面提示进行操作执行,界面结构设计简单,操作流程简洁明了,可提升用户操作体验。
3.2.7、费用支出查询

费用支出查询管理功能主要字段信息包含:编码、车牌号、支出类型、支出时间、支出金额、备注等。使用表格形式展示数据信息,方便用户查看和编辑。
费用支出查询管理设置新增、编辑、删除、条件搜索、查看详情等操作,可按照页面提示进行操作执行,界面结构设计简单,操作流程简洁明了,可提升用户操作体验。
3.2.8、公交车线路设置

公交车线路设置管理功能主要字段信息包含:编码、公交线路、描述等。使用表格形式展示数据信息,方便用户查看和编辑。
公交车线路设置管理设置新增、编辑、删除、条件搜索、查看详情等操作,可按照页面提示进行操作执行,界面结构设计简单,操作流程简洁明了,可提升用户操作体验。
3.2.9、驾驶员登记

驾驶员登记管理功能主要字段信息包含:编码、姓名、工号、性别、生日、身份证、籍贯、学历、电话、手机、邮件、部门、职务、地址、备注等。使用表格形式展示数据信息,方便用户查看和编辑。
驾驶员登记管理设置新增、编辑、删除、条件搜索、查看详情等操作,可按照页面提示进行操作执行,界面结构设计简单,操作流程简洁明了,可提升用户操作体验。
3.2.10、加油记录

加油记录管理功能主要字段信息包含:编码、车牌号、油品类型、加油时间、加油站、开始里程、结束里程、里程、油量、单价、金额、百公里油耗、每公里金额、备注等。使用表格形式展示数据信息,方便用户查看和编辑。
加油记录管理设置新增、编辑、删除、条件搜索、查看详情等操作,可按照页面提示进行操作执行,界面结构设计简单,操作流程简洁明了,可提升用户操作体验。
3.2.11、加油记录查询

加油记录查询管理功能主要字段信息包含:编码、车牌号、油品类型、加油时间、加油站、开始里程、结束里程、里程、油量、单价、金额、百公里油耗、每公里金额、备注等。使用表格形式展示数据信息,方便用户查看和编辑。
加油记录查询管理设置新增、编辑、删除、条件搜索、查看详情等操作,可按照页面提示进行操作执行,界面结构设计简单,操作流程简洁明了,可提升用户操作体验。
3.2.12、年审记录

年审记录管理功能主要字段信息包含:编码、车牌号、年审等级、年审时间、年审金额、下次年审时间、备注等。使用表格形式展示数据信息,方便用户查看和编辑。
年审记录管理设置新增、编辑、删除、条件搜索、查看详情等操作,可按照页面提示进行操作执行,界面结构设计简单,操作流程简洁明了,可提升用户操作体验。
3.2.13、年审记录查询

年审记录查询管理功能主要字段信息包含:编码、车牌号、年审等级、年审时间、年审金额、下次年审时间、备注等。使用表格形式展示数据信息,方便用户查看和编辑。
年审记录查询管理设置新增、编辑、删除、条件搜索、查看详情等操作,可按照页面提示进行操作执行,界面结构设计简单,操作流程简洁明了,可提升用户操作体验。
3.2.14、票据类型

票据类型管理功能主要字段信息包含:编码、票据类型、单价元等。使用表格形式展示数据信息,方便用户查看和编辑。
票据类型管理设置新增、编辑、删除、条件搜索、查看详情等操作,可按照页面提示进行操作执行,界面结构设计简单,操作流程简洁明了,可提升用户操作体验。
3.2.15、票款查询

票款查询管理功能主要字段信息包含:编码、公交线路、车牌号、驾驶员、交款时间、交款金额元、备注、是否月结等。使用表格形式展示数据信息,方便用户查看和编辑。
票款查询管理设置新增、编辑、删除、条件搜索、查看详情等操作,可按照页面提示进行操作执行,界面结构设计简单,操作流程简洁明了,可提升用户操作体验。
3.2.16、票款登记

票款登记管理功能主要字段信息包含:编码、公交线路、车牌号、驾驶员、交款时间、交款金额元、备注、是否月结等。使用表格形式展示数据信息,方便用户查看和编辑。
票款登记管理设置新增、编辑、删除、条件搜索、查看详情等操作,可按照页面提示进行操作执行,界面结构设计简单,操作流程简洁明了,可提升用户操作体验。
3.2.17、其他员工登记

其他员工登记管理功能主要字段信息包含:编码、姓名、工号、性别、生日、身份证、籍贯、学历、电话、手机、邮件、部门、职务、地址、备注等。使用表格形式展示数据信息,方便用户查看和编辑。
其他员工登记管理设置新增、编辑、删除、条件搜索、查看详情等操作,可按照页面提示进行操作执行,界面结构设计简单,操作流程简洁明了,可提升用户操作体验。
3.2.18、上班拿票

上班拿票管理功能主要字段信息包含:编码、流水号、公交线路、车牌号、售票员、上班时间、车票数量张、车票金额元、备用金额、备注、是否月结等。使用表格形式展示数据信息,方便用户查看和编辑。
上班拿票管理设置新增、编辑、删除、条件搜索、查看详情等操作,可按照页面提示进行操作执行,界面结构设计简单,操作流程简洁明了,可提升用户操作体验。
3.2.19、上班拿票查询统计

上班拿票查询统计管理功能主要字段信息包含:编码、流水号、公交线路、车牌号、售票员、上班时间、车票数量张、车票金额元、备用金额、备注、是否月结等。使用表格形式展示数据信息,方便用户查看和编辑。
上班拿票查询统计管理设置新增、编辑、删除、条件搜索、查看详情等操作,可按照页面提示进行操作执行,界面结构设计简单,操作流程简洁明了,可提升用户操作体验。
3.2.20、上班拿票从表

上班拿票从表管理功能主要字段信息包含:编码、流水号、票据类型、单价元、开始票号、结束票号、数量张、金额元、是否月结等。使用表格形式展示数据信息,方便用户查看和编辑。
上班拿票从表管理设置新增、编辑、删除、条件搜索、查看详情等操作,可按照页面提示进行操作执行,界面结构设计简单,操作流程简洁明了,可提升用户操作体验。
3.2.21、事故记录查询

事故记录查询管理功能主要字段信息包含:编码、车牌号、事故类型、事故时间、发生地点、驾驶员、对方车牌号、对方单位、对方驾驶员、对方电话等。使用表格形式展示数据信息,方便用户查看和编辑。
事故记录查询管理设置新增、编辑、删除、条件搜索、查看详情等操作,可按照页面提示进行操作执行,界面结构设计简单,操作流程简洁明了,可提升用户操作体验。
3.2.22、售票员登记

售票员登记管理功能主要字段信息包含:编码、姓名、工号、性别、生日、身份证、籍贯、学历、电话、手机、邮件、部门、职务、地址、备注等。使用表格形式展示数据信息,方便用户查看和编辑。
售票员登记管理设置新增、编辑、删除、条件搜索、查看详情等操作,可按照页面提示进行操作执行,界面结构设计简单,操作流程简洁明了,可提升用户操作体验。
3.2.23、投保记录

投保记录管理功能主要字段信息包含:编码、车牌号、保险类型、保险公司、保单号、投保时间、投保金额、投保额度、下次投保时间、备注等。使用表格形式展示数据信息,方便用户查看和编辑。
投保记录管理设置新增、编辑、删除、条件搜索、查看详情等操作,可按照页面提示进行操作执行,界面结构设计简单,操作流程简洁明了,可提升用户操作体验。
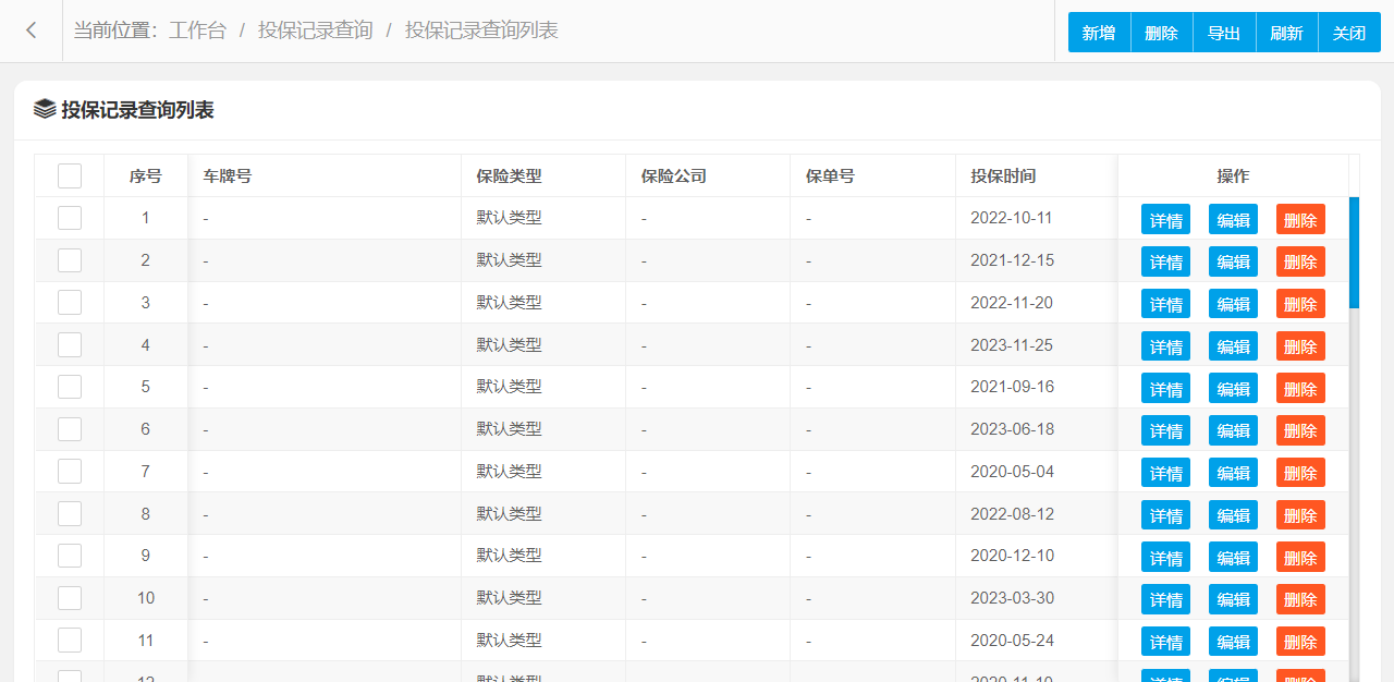
3.2.24、投保记录查询

投保记录查询管理功能主要字段信息包含:编码、车牌号、保险类型、保险公司、保单号、投保时间、投保金额、投保额度、下次投保时间、备注等。使用表格形式展示数据信息,方便用户查看和编辑。
投保记录查询管理设置新增、编辑、删除、条件搜索、查看详情等操作,可按照页面提示进行操作执行,界面结构设计简单,操作流程简洁明了,可提升用户操作体验。
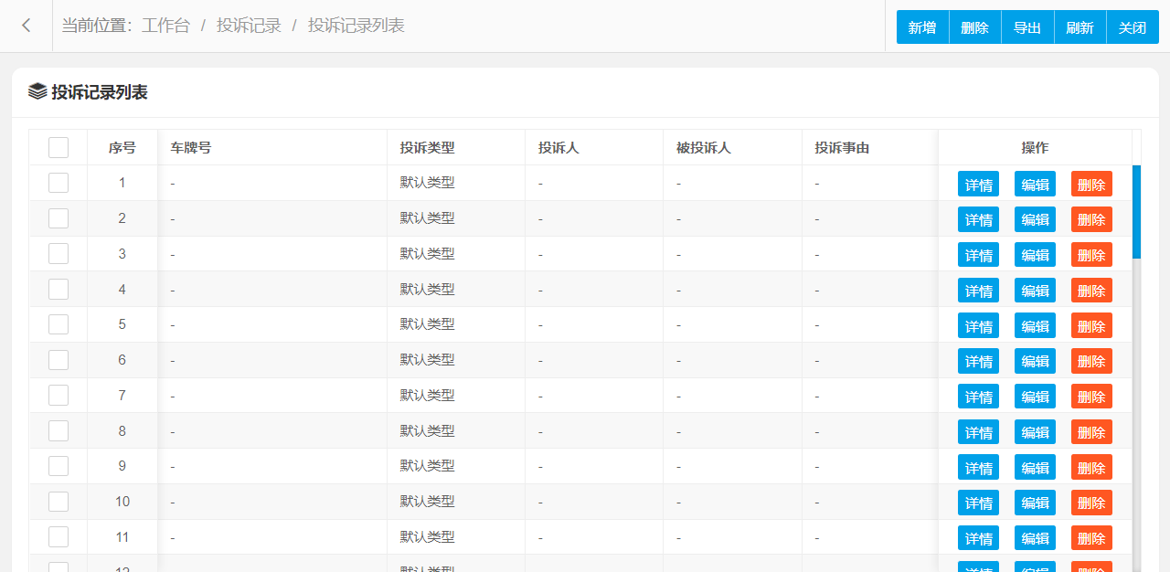
3.2.25、投诉记录

投诉记录管理功能主要字段信息包含:编码、车牌号、投诉类型、投诉人、被投诉人、投诉事由、投诉时间、联系电话、备注等。使用表格形式展示数据信息,方便用户查看和编辑。
投诉记录管理设置新增、编辑、删除、条件搜索、查看详情等操作,可按照页面提示进行操作执行,界面结构设计简单,操作流程简洁明了,可提升用户操作体验。
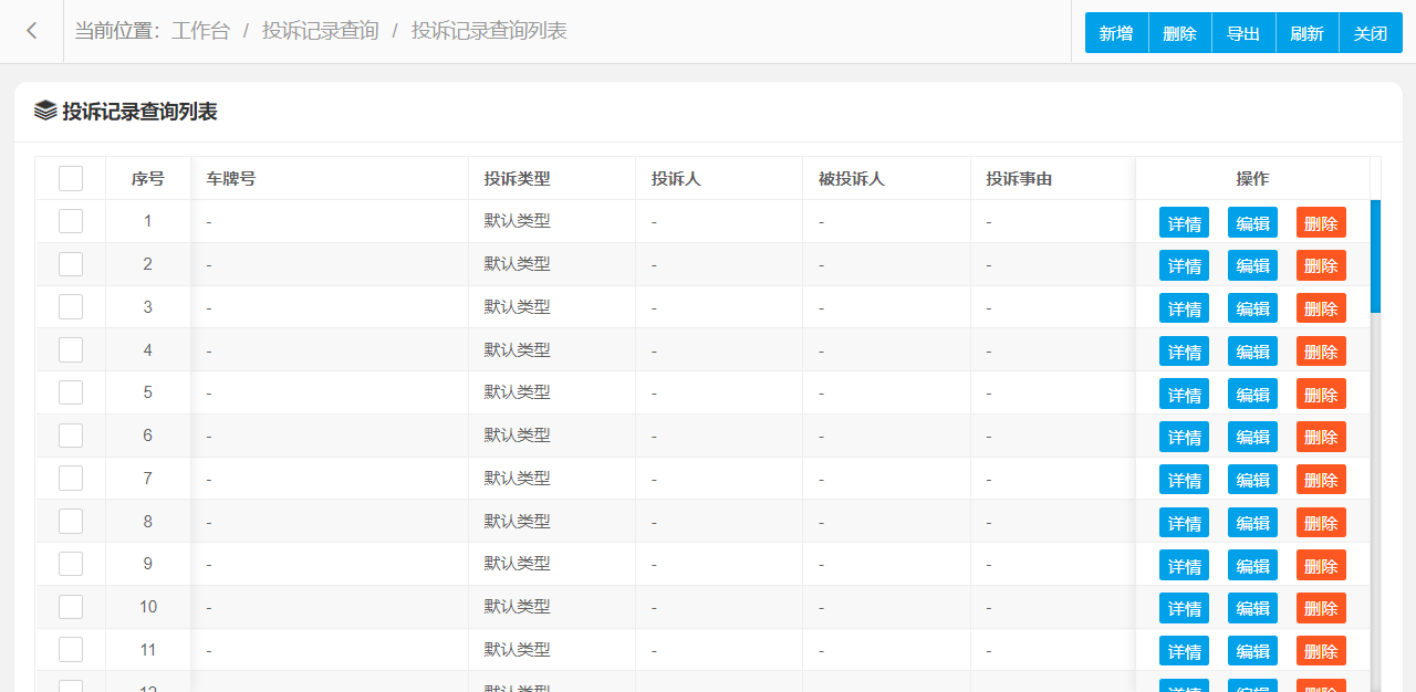
3.2.26、投诉记录查询

投诉记录查询管理功能主要字段信息包含:编码、车牌号、投诉类型、投诉人、被投诉人、投诉事由、投诉时间、联系电话、备注等。使用表格形式展示数据信息,方便用户查看和编辑。
投诉记录查询管理设置新增、编辑、删除、条件搜索、查看详情等操作,可按照页面提示进行操作执行,界面结构设计简单,操作流程简洁明了,可提升用户操作体验。
3.2.27、维修记录

维修记录管理功能主要字段信息包含:编码、车牌号、维修类型、维修时间、维修工时、维修记录、维修厂、维修金额、驾驶员、备注等。使用表格形式展示数据信息,方便用户查看和编辑。
维修记录管理设置新增、编辑、删除、条件搜索、查看详情等操作,可按照页面提示进行操作执行,界面结构设计简单,操作流程简洁明了,可提升用户操作体验。
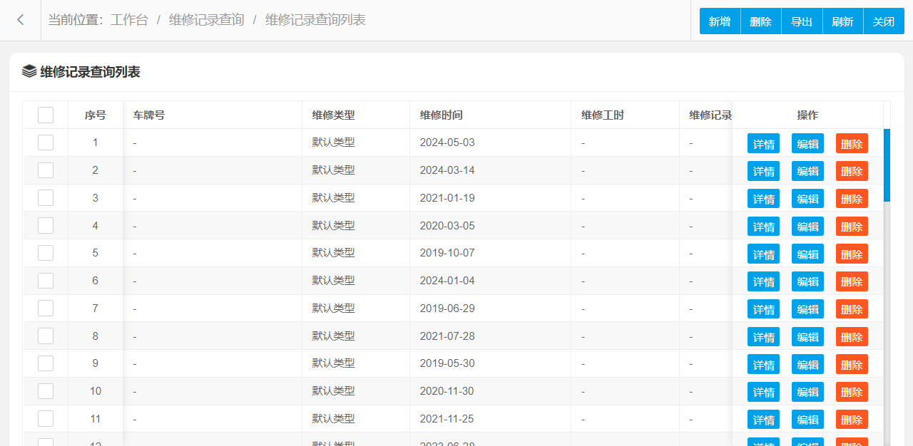
3.2.28、维修记录查询

维修记录查询管理功能主要字段信息包含:编码、车牌号、维修类型、维修时间、维修工时、维修记录、维修厂、维修金额、驾驶员、备注等。使用表格形式展示数据信息,方便用户查看和编辑。
维修记录查询管理设置新增、编辑、删除、条件搜索、查看详情等操作,可按照页面提示进行操作执行,界面结构设计简单,操作流程简洁明了,可提升用户操作体验。
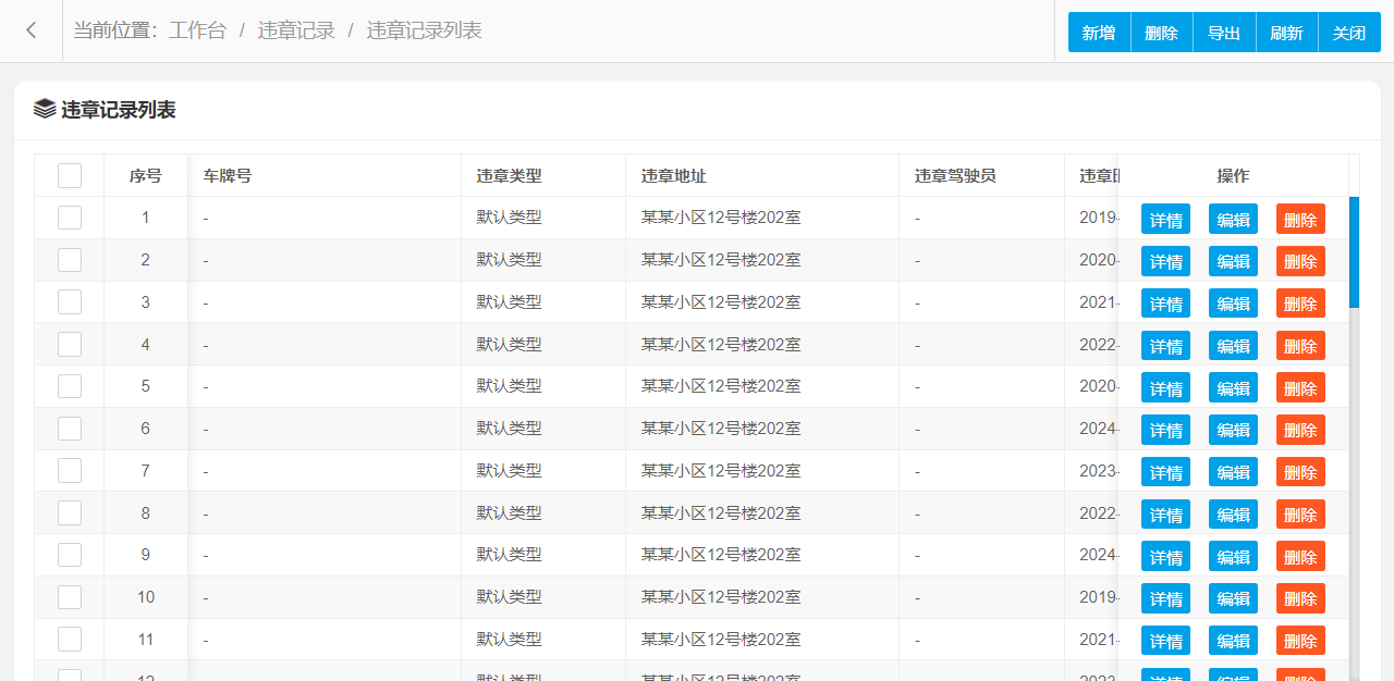
3.2.29、违章记录

违章记录管理功能主要字段信息包含:编码、车牌号、违章类型、违章地址、违章驾驶员、违章时间、罚款金额、备注等。使用表格形式展示数据信息,方便用户查看和编辑。
违章记录管理设置新增、编辑、删除、条件搜索、查看详情等操作,可按照页面提示进行操作执行,界面结构设计简单,操作流程简洁明了,可提升用户操作体验。
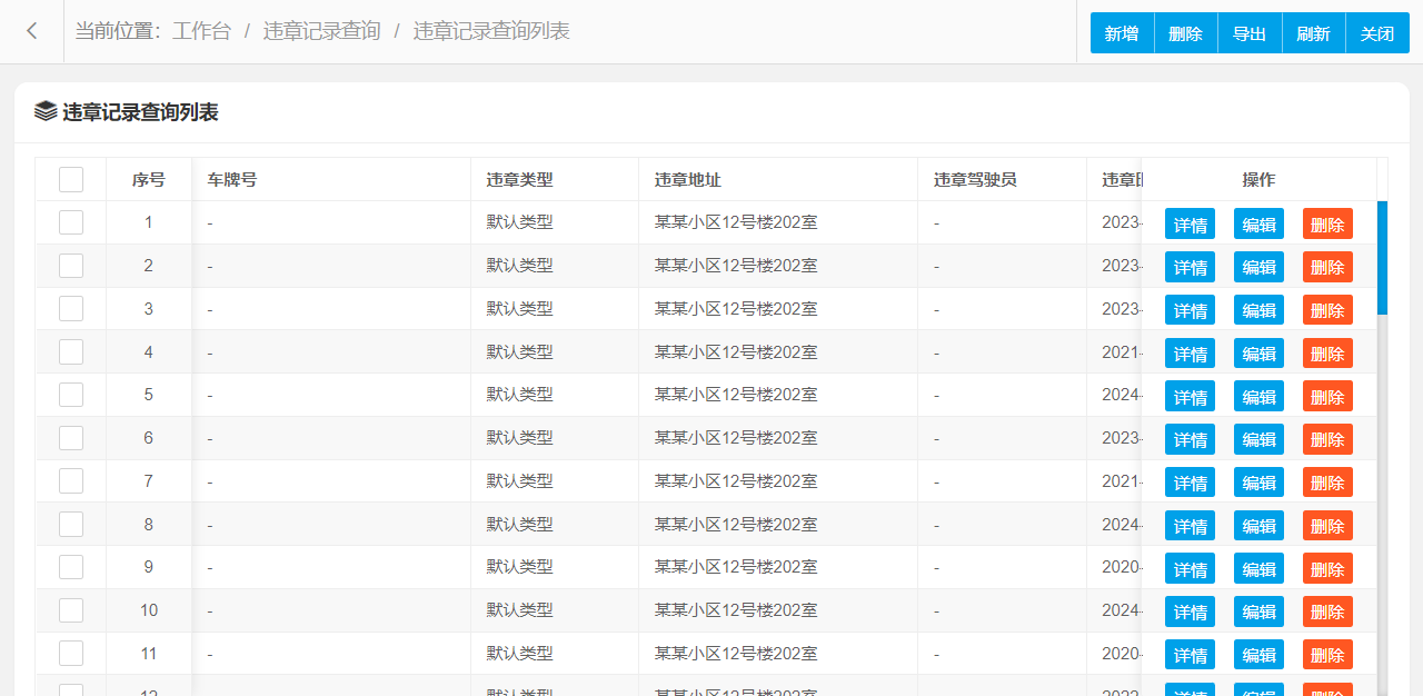
3.2.30、违章记录查询

违章记录查询管理功能主要字段信息包含:编码、车牌号、违章类型、违章地址、违章驾驶员、违章时间、罚款金额、备注等。使用表格形式展示数据信息,方便用户查看和编辑。
违章记录查询管理设置新增、编辑、删除、条件搜索、查看详情等操作,可按照页面提示进行操作执行,界面结构设计简单,操作流程简洁明了,可提升用户操作体验。
3.2.31、下班交款

下班交款管理功能主要字段信息包含:编码、流水号、公交线路、车牌号、售票员、下班时间、车票数量张、车票金额元、备注、是否月结等。使用表格形式展示数据信息,方便用户查看和编辑。
下班交款管理设置新增、编辑、删除、条件搜索、查看详情等操作,可按照页面提示进行操作执行,界面结构设计简单,操作流程简洁明了,可提升用户操作体验。
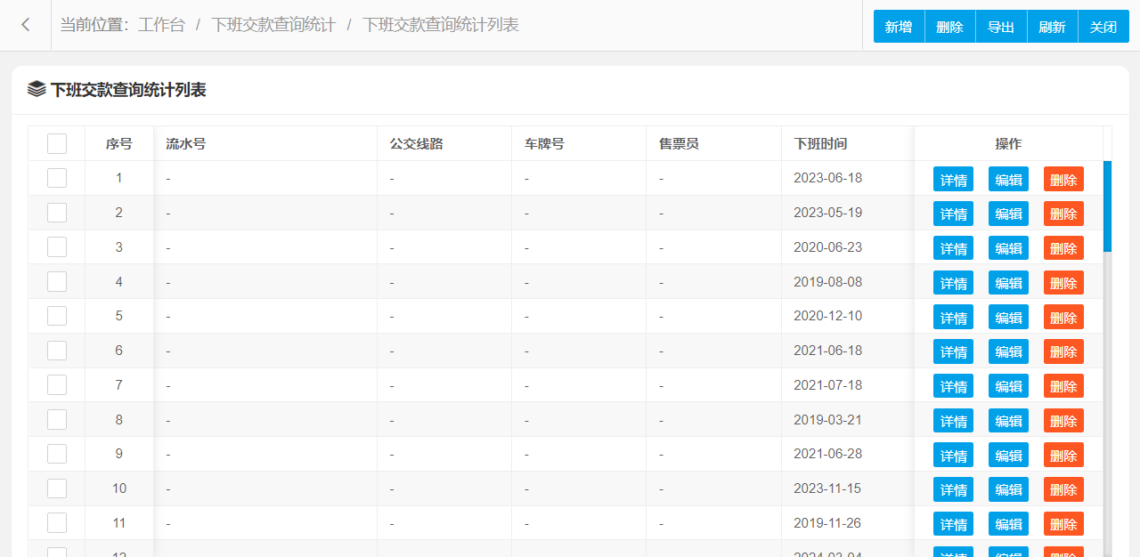
3.2.32、下班交款查询统计

下班交款查询统计管理功能主要字段信息包含:编码、流水号、公交线路、车牌号、售票员、下班时间、车票数量张、车票金额元、备注、是否月结等。使用表格形式展示数据信息,方便用户查看和编辑。
下班交款查询统计管理设置新增、编辑、删除、条件搜索、查看详情等操作,可按照页面提示进行操作执行,界面结构设计简单,操作流程简洁明了,可提升用户操作体验。
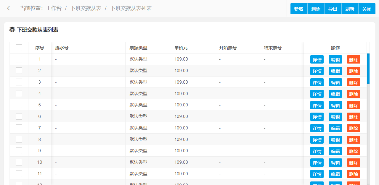
3.2.33、下班交款从表

下班交款从表管理功能主要字段信息包含:编码、流水号、票据类型、单价元、开始票号、结束票号、数量张、金额元、是否月结等。使用表格形式展示数据信息,方便用户查看和编辑。
下班交款从表管理设置新增、编辑、删除、条件搜索、查看详情等操作,可按照页面提示进行操作执行,界面结构设计简单,操作流程简洁明了,可提升用户操作体验。
3.2.34、员工记录查询

员工记录查询管理功能主要字段信息包含:编码、姓名、工号、性别、生日、身份证、籍贯、学历、电话、手机、邮件、部门、职务、地址、备注等。使用表格形式展示数据信息,方便用户查看和编辑。
员工记录查询管理设置新增、编辑、删除、条件搜索、查看详情等操作,可按照页面提示进行操作执行,界面结构设计简单,操作流程简洁明了,可提升用户操作体验。
3.2.35、月结交款查询统计

月结交款查询统计管理功能主要字段信息包含:编码、流水号、公交线路、车牌号、售票员、下班时间、车票数量张、车票金额元、备注、是否月结等。使用表格形式展示数据信息,方便用户查看和编辑。
月结交款查询统计管理设置新增、编辑、删除、条件搜索、查看详情等操作,可按照页面提示进行操作执行,界面结构设计简单,操作流程简洁明了,可提升用户操作体验。
3.2.36、月结拿票查询统计

月结拿票查询统计管理功能主要字段信息包含:编码、流水号、公交线路、车牌号、售票员、上班时间、车票数量张、车票金额元、备用金额、备注、是否月结等。使用表格形式展示数据信息,方便用户查看和编辑。
月结拿票查询统计管理设置新增、编辑、删除、条件搜索、查看详情等操作,可按照页面提示进行操作执行,界面结构设计简单,操作流程简洁明了,可提升用户操作体验。














暂无评论内容