
导读:本文将从养鸡场智慧管理系统的开发目的、开发背景、目标用户、系统设计、系统架构、主要功能模块等方面进行分析,软件主要功能包括:孵化报表、孵化报表汇总、孵化记录表、孵化记录表汇总、各项收入、各项收支汇总、各项支出、供应商信息、货品出库、货品出库汇总、货品出库明细、货品当前库存、货品入库、货品入库汇总、货品入库明细、货品信息、鸡蛋出库汇总、鸡蛋当前库存、鸡蛋入库汇总、鸡蛋入库明细、鸡蛋生产入库、鸡蛋销售出库、进鸡成本统计、进鸡登记、进鸡登记明细、鸡舍信息、客户欠款汇总、客户信息、配方信息、配方信息明细、期间采购查询、期间销售汇总、其他收入、其他收支汇总、其他支出、日常情况、日常情况汇总、售鸡登记明细、饲料出库、饲料出库汇总、饲料出库明细、饲料当前库存、饲料入库、饲料入库汇总、饲料入库明细、饲料信息、死亡记录、死亡记录汇总、饲养记录、饲养记录汇总、喂药记录、喂药记录汇总、销售登记、药品出库、药品出库汇总、药品出库明细、药品当前库存、药品入库、药品入库汇总、药品入库明细、药品失效提醒、药品信息、员工信息、原料出库、原料出库汇总、原料出库明细、原料当前库存、原料入库、原料入库汇总、原料入库明细、原料信息,全文约14254字,看完需要28分钟左右。感谢阅读,如有建议和意见欢迎评论交流。
一、简介
1.1、开发目的和背景

养鸡场智慧管理系统是为了满足现代化养鸡业对精细化管理的需求而设计的一款专业软件。随着科技的发展和农业产业的升级,传统的手工记录和管理方式已无法满足高效、准确和实时的数据跟踪需求。本软件旨在通过集成各种功能模块,帮助养鸡场主实现从鸡苗孵化、饲养管理、饲料控制到销售结算等全链条的智能化操作。
该系统的核心目标是提升养鸡场的运营效率和盈利能力,通过自动化数据处理,减少人工误差,节省时间和精力。例如,孵化报表和记录模块可以帮助管理者实时监控孵化过程,及时调整策略;收入和收支管理模块则有助于清晰掌握财务状况,进行精确的成本核算;而物资出入库管理则保证了库存的准确性和供应链的流畅。
此外,系统的死伤率跟踪、喂药记录以及药品信息管理,有利于预防疾病的发生,保障鸡只健康;员工信息管理和培训模块,有助于提升团队协作与知识传承。同时,通过数据可视化功能,让决策者能够快速获得关键指标,以便于制定科学的经营策略。
在当前竞争激烈的市场环境下,养鸡场智慧管理系统不仅有助于养鸡场降低成本,提高生产效率,还为农场的长期发展提供有力支持,使其在数字化转型的大潮中保持竞争优势。因此,这款软件的开发正是基于满足养鸡业现代化管理需求,推动传统行业向高效、智能的现代农业模式迈进的重要一步。
1.2、软件的目标用户

《养鸡场智慧管理系统》是一款专为现代化养鸡场设计的高效信息化管理工具。该系统旨在帮助农场主和管理者全面掌握并优化养殖流程,提升生产效率,降低运营成本,同时确保数据准确性和透明度。
1. 在孵化阶段,系统通过孵化器管理模块生成实时孵化报表,方便用户监控每批鸡蛋的孵化进度和健康状况。
2. 对于日常的饲料和药品管理,饲料出入库、库存以及喂药记录等功能,使管理人员能够科学调配资源,避免浪费。
3. 饲养和死亡记录模块,能追踪鸡只的生长发育情况,及时发现并处理健康问题,减少经济损失。
4. 销售管理方面,从鸡蛋入库、生产入库、销售出库到客户信息管理,实现了全程无缝对接,提高了交易效率。
5. 采购与财务模块,便于对进鸡成本、原料费用、药品费用等进行精确计算和汇总,帮助用户进行成本控制。
1. 农业专业人士:农场主、养殖经理或技术人员,他们需要一套全面的工具来管理和优化养鸡业务。
2. 初创养鸡场:这款系统可以帮助新入行者快速建立规范化管理体系,节省学习曲线。
3. 中大型养鸡企业:对于有复杂运营需求的企业,系统提供了丰富的报表和分析功能,以支持决策制定。
总的来说,《养鸡场智慧管理系统》是一款适合各种规模养鸡场的实用工具,它以用户为中心,提供了一站式的解决方案,让养鸡管理变得更加智能和高效。
二、软件总体设计
2.1、系统概述

“养鸡场智慧管理系统”是一款专为现代化养鸡场设计的全方位管理软件,它采用先进的Java技术开发,依托于SpringMVC框架构建,数据存储在可靠的MySQL数据库中。该系统的核心功能模块涵盖了养鸡生产的各个环节,从孵化管理到销售结算,旨在提升效率,优化资源利用。
1. 孵化管理:提供详细的孵化报表和记录,实时跟踪孵化过程,确保每一步骤准确无误。
2. 收入与财务:记录各项收入(如鸡蛋销售、其他收入等),并进行汇总,同时涵盖收支和支出明细,便于财务管理。
3. 物资管理:货品、饲料、药品、原料等出入库记录及库存动态,支持详细明细查询。
4. 鸡舍与进鸡:鸡舍信息管理,进鸡登记方便追踪饲养成本和健康状况。
5. 销售与采购:销售登记、配方信息、采购查询,助力市场分析和成本控制。
6. 日常运营:涵盖日常情况、饲养记录、喂药记录,以及药品失效提醒,确保养殖流程科学严谨。
7. 员工与客户:员工信息管理,客户欠款与信息记录,增强服务质量和关系维护。
通过整合这些模块,本系统不仅帮助养鸡场主实时掌握运营状态,还能进行数据分析,预测未来趋势,从而实现智能化决策。无论是数据可视化还是后台操作,都力求简洁易用,提高工作效率,降低运营成本,使养鸡业管理步入智能化的新时代。
2.2、系统架构

养鸡场智慧管理系统采用先进的B/S(Browser/Server)架构设计,其核心目标是提供高效、易用且全面的管理工具,以简化日常运营流程并提升数据精准度。系统由以下几个主要部分构成:
1. 前端界面:用户通过Web浏览器访问,采用HTML、CSS和JavaScript技术,设计直观的图形用户界面(GUI),提供各种模块的访问入口,如图表、列表和表格形式展示各项数据。
2. 业务逻辑层(Service Layer):基于Java编程语言,利用Spring MVC框架,实现了与数据库的交互和业务规则的处理。此层负责处理用户请求,调用持久层操作数据,并返回响应结果给前端。
3. 数据访问层(Data Access Layer):这部分使用JPA或Hibernate等ORM(Object-Relational Mapping)框架,与关系型数据库(如MySQL或Oracle)进行连接,执行SQL查询和更新操作,确保数据的安全存储和快速检索。
4. 数据库设计:采用关系数据库模式,根据业务需求精细划分多个表,如孵化记录表、鸡舍信息表、原料表等,以支持各种报表和查询功能。
5. 服务接口:通过RESTful API设计,使得其他系统或移动应用可以轻松集成,实现数据共享和跨平台操作。
6. 安全性设计:包含身份验证和授权机制,保护用户数据,防止未授权访问,并可能使用HTTPS加密通信以保证数据传输安全。
7. 缓存技术:在关键路径上使用缓存,提高数据访问速度,降低对数据库的压力。
8. 报警与通知:系统内置数据分析功能,能够识别异常情况并发送提醒,例如药品失效或库存不足。
9. 模块间协作:各功能模块之间通过消息队列或者事件驱动模型进行松耦合,确保系统的稳定性和可扩展性。
通过这样的设计,养鸡场智慧管理系统能有效整合各项业务流程,提高决策效率,同时降低运营成本,是现代化养殖业管理的理想选择。
三、软件功能操作
3.1、系统登录
在浏览器中输入系统网址,打开登录界面后输入登录账号、登录密码、验证码即可登录。

3.2、工作台
工作台包含:孵化报表、孵化报表汇总、孵化记录表、孵化记录表汇总、各项收入、各项收支汇总、各项支出、供应商信息、货品出库、货品出库汇总、货品出库明细、货品当前库存、货品入库、货品入库汇总、货品入库明细、货品信息、鸡蛋出库汇总、鸡蛋当前库存、鸡蛋入库汇总、鸡蛋入库明细、鸡蛋生产入库、鸡蛋销售出库、进鸡成本统计、进鸡登记、进鸡登记明细、鸡舍信息、客户欠款汇总、客户信息、配方信息、配方信息明细、期间采购查询、期间销售汇总、其他收入、其他收支汇总、其他支出、日常情况、日常情况汇总、售鸡登记明细、饲料出库、饲料出库汇总、饲料出库明细、饲料当前库存、饲料入库、饲料入库汇总、饲料入库明细、饲料信息、死亡记录、死亡记录汇总、饲养记录、饲养记录汇总、喂药记录、喂药记录汇总、销售登记、药品出库、药品出库汇总、药品出库明细、药品当前库存、药品入库、药品入库汇总、药品入库明细、药品失效提醒、药品信息、员工信息、原料出库、原料出库汇总、原料出库明细、原料当前库存、原料入库、原料入库汇总、原料入库明细、原料信息,根据不同角色权限菜单展示会有所区别。
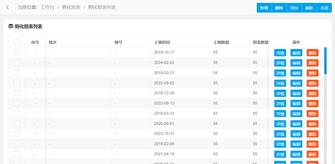
3.2.1、孵化报表

孵化报表管理功能主要字段信息包含:编码、批次、箱号、上箱时间、上箱数量、照蛋数量、受精率、预计出鸡、出鸡率、发鸡时间、备注等。使用表格形式展示数据信息,方便用户查看和编辑。
孵化报表管理设置新增、编辑、删除、条件搜索、查看详情等操作,可按照页面提示进行操作执行,界面结构设计简单,操作流程简洁明了,可提升用户操作体验。
3.2.2、孵化报表汇总

孵化报表汇总管理功能主要字段信息包含:编码、批次、箱号、上箱时间、上箱数量、照蛋数量、受精率、预计出鸡、出鸡率、发鸡时间、备注等。使用表格形式展示数据信息,方便用户查看和编辑。
孵化报表汇总管理设置新增、编辑、删除、条件搜索、查看详情等操作,可按照页面提示进行操作执行,界面结构设计简单,操作流程简洁明了,可提升用户操作体验。
3.2.3、孵化记录表

孵化记录表管理功能主要字段信息包含:编码、时间、温度、湿度、风门位置、翻单次数及位置、运转情况、机号、值班员、接班时间、备注等。使用表格形式展示数据信息,方便用户查看和编辑。
孵化记录表管理设置新增、编辑、删除、条件搜索、查看详情等操作,可按照页面提示进行操作执行,界面结构设计简单,操作流程简洁明了,可提升用户操作体验。
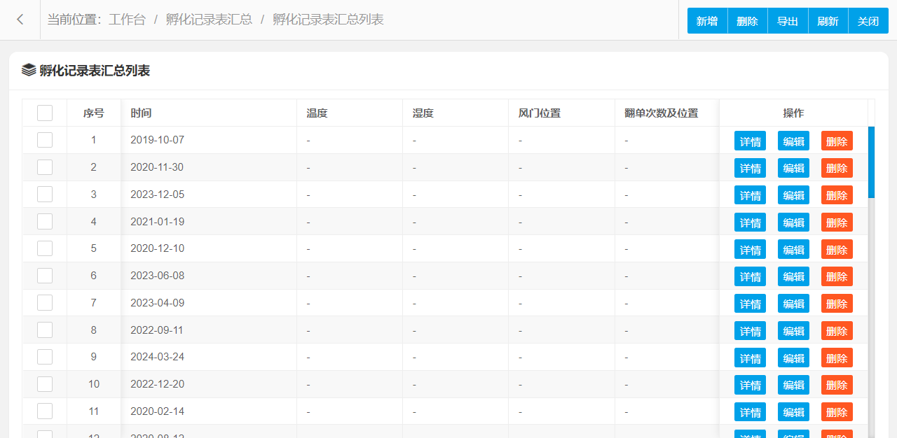
3.2.4、孵化记录表汇总

孵化记录表汇总管理功能主要字段信息包含:编码、时间、温度、湿度、风门位置、翻单次数及位置、运转情况、机号、值班员、接班时间、备注等。使用表格形式展示数据信息,方便用户查看和编辑。
孵化记录表汇总管理设置新增、编辑、删除、条件搜索、查看详情等操作,可按照页面提示进行操作执行,界面结构设计简单,操作流程简洁明了,可提升用户操作体验。
3.2.5、各项收入

各项收入管理功能主要字段信息包含:编码、收入类型、收入金额合计、开始日期、截止日期等。使用表格形式展示数据信息,方便用户查看和编辑。
各项收入管理设置新增、编辑、删除、条件搜索、查看详情等操作,可按照页面提示进行操作执行,界面结构设计简单,操作流程简洁明了,可提升用户操作体验。
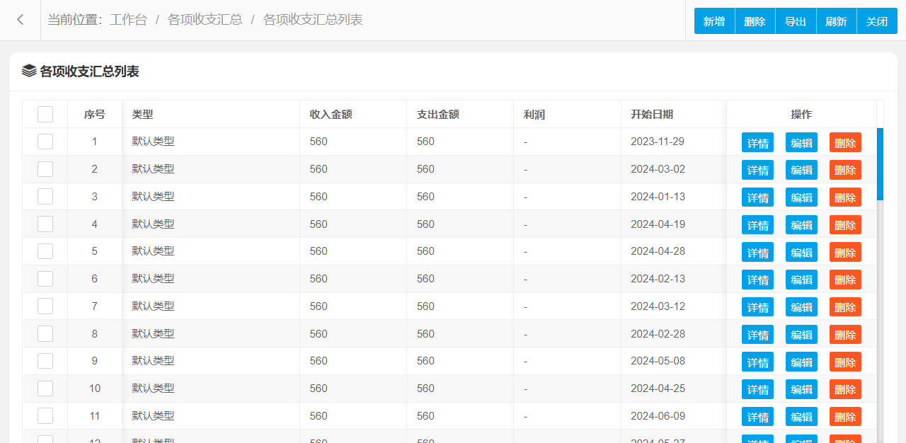
3.2.6、各项收支汇总

各项收支汇总管理功能主要字段信息包含:编码、类型、收入金额、支出金额、利润、开始日期、截止日期等。使用表格形式展示数据信息,方便用户查看和编辑。
各项收支汇总管理设置新增、编辑、删除、条件搜索、查看详情等操作,可按照页面提示进行操作执行,界面结构设计简单,操作流程简洁明了,可提升用户操作体验。
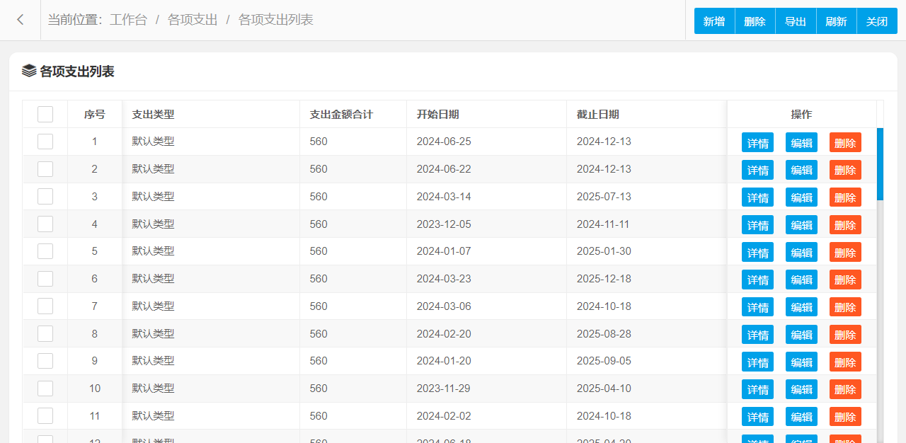
3.2.7、各项支出

各项支出管理功能主要字段信息包含:编码、支出类型、支出金额合计、开始日期、截止日期等。使用表格形式展示数据信息,方便用户查看和编辑。
各项支出管理设置新增、编辑、删除、条件搜索、查看详情等操作,可按照页面提示进行操作执行,界面结构设计简单,操作流程简洁明了,可提升用户操作体验。
3.2.8、供应商信息

供应商管理功能主要字段信息包含:供应商编码、供商编号、供商名称、类别、联系人、联系电话、传真、开户银行、银行账号、地址、备注等。使用表格形式展示数据信息,方便用户查看和编辑。
供应商管理设置新增、编辑、删除、条件搜索、查看详情等操作,可按照页面提示进行操作执行,界面结构设计简单,操作流程简洁明了,可提升用户操作体验。
3.2.9、货品出库

货品出库管理功能主要字段信息包含:编码、出库单号、出库日期、出库类型、客户编号、客户名称、经办人、应收金额、已收金额、未收金额、备注等。使用表格形式展示数据信息,方便用户查看和编辑。
货品出库管理设置新增、编辑、删除、条件搜索、查看详情等操作,可按照页面提示进行操作执行,界面结构设计简单,操作流程简洁明了,可提升用户操作体验。
3.2.10、货品出库汇总

货品出库汇总管理功能主要字段信息包含:编码、出库日期、出库单号、出库类型、客户名称、编号、名称、类别、规格、单位、数量、单价、金额等。使用表格形式展示数据信息,方便用户查看和编辑。
货品出库汇总管理设置新增、编辑、删除、条件搜索、查看详情等操作,可按照页面提示进行操作执行,界面结构设计简单,操作流程简洁明了,可提升用户操作体验。
3.2.11、货品出库明细

货品出库明细管理功能主要字段信息包含:编码、出库单号、编号、名称、类别、规格、单位、数量、单价、金额等。使用表格形式展示数据信息,方便用户查看和编辑。
货品出库明细管理设置新增、编辑、删除、条件搜索、查看详情等操作,可按照页面提示进行操作执行,界面结构设计简单,操作流程简洁明了,可提升用户操作体验。
3.2.12、货品当前库存

货品当前库存管理功能主要字段信息包含:编码、编号、名称、类别、规格、单价、计量单位、当前库存、累计入库、累计出库等。使用表格形式展示数据信息,方便用户查看和编辑。
货品当前库存管理设置新增、编辑、删除、条件搜索、查看详情等操作,可按照页面提示进行操作执行,界面结构设计简单,操作流程简洁明了,可提升用户操作体验。
3.2.13、货品入库

货品入库管理功能主要字段信息包含:编码、入库单号、入库日期、入库类型、供商编号、供商名称、经办人、应付金额、已付金额、未付金额、备注等。使用表格形式展示数据信息,方便用户查看和编辑。
货品入库管理设置新增、编辑、删除、条件搜索、查看详情等操作,可按照页面提示进行操作执行,界面结构设计简单,操作流程简洁明了,可提升用户操作体验。
3.2.14、货品入库汇总

货品入库汇总管理功能主要字段信息包含:编码、入库日期、入库单号、入库类型、供商名称、编号、名称、类别、规格、单位、数量、单价、金额等。使用表格形式展示数据信息,方便用户查看和编辑。
货品入库汇总管理设置新增、编辑、删除、条件搜索、查看详情等操作,可按照页面提示进行操作执行,界面结构设计简单,操作流程简洁明了,可提升用户操作体验。
3.2.15、货品入库明细

货品入库明细管理功能主要字段信息包含:编码、入库单号、编号、名称、类别、规格、单位、数量、单价、金额等。使用表格形式展示数据信息,方便用户查看和编辑。
货品入库明细管理设置新增、编辑、删除、条件搜索、查看详情等操作,可按照页面提示进行操作执行,界面结构设计简单,操作流程简洁明了,可提升用户操作体验。
3.2.16、货品信息

货品管理功能主要字段信息包含:货品编码、编号、名称、类别、规格、计量单位、单价、备注等。使用表格形式展示数据信息,方便用户查看和编辑。
货品管理设置新增、编辑、删除、条件搜索、查看详情等操作,可按照页面提示进行操作执行,界面结构设计简单,操作流程简洁明了,可提升用户操作体验。
3.2.17、鸡蛋出库汇总

鸡蛋出库汇总管理功能主要字段信息包含:编码、销售单号、销售日期、销售类型、客户编号、客户名称、经办人、鸡舍号、种类、销售数量、单价、应收金额、实收金额、欠收金额、备注等。使用表格形式展示数据信息,方便用户查看和编辑。
鸡蛋出库汇总管理设置新增、编辑、删除、条件搜索、查看详情等操作,可按照页面提示进行操作执行,界面结构设计简单,操作流程简洁明了,可提升用户操作体验。
3.2.18、鸡蛋当前库存

鸡蛋当前库存管理功能主要字段信息包含:编码、种类、当前库存、累计入库、累计出库等。使用表格形式展示数据信息,方便用户查看和编辑。
鸡蛋当前库存管理设置新增、编辑、删除、条件搜索、查看详情等操作,可按照页面提示进行操作执行,界面结构设计简单,操作流程简洁明了,可提升用户操作体验。
3.2.19、鸡蛋入库汇总

鸡蛋入库汇总管理功能主要字段信息包含:编码、单号、入库日期、鸡舍号、入库类型、经办人、种类、产蛋个数、产蛋重量、备注等。使用表格形式展示数据信息,方便用户查看和编辑。
鸡蛋入库汇总管理设置新增、编辑、删除、条件搜索、查看详情等操作,可按照页面提示进行操作执行,界面结构设计简单,操作流程简洁明了,可提升用户操作体验。
3.2.20、鸡蛋入库明细

鸡蛋入库明细管理功能主要字段信息包含:编码、单号、种类、产蛋个数、产蛋重量、备注等。使用表格形式展示数据信息,方便用户查看和编辑。
鸡蛋入库明细管理设置新增、编辑、删除、条件搜索、查看详情等操作,可按照页面提示进行操作执行,界面结构设计简单,操作流程简洁明了,可提升用户操作体验。
3.2.21、鸡蛋生产入库

鸡蛋生产入库管理功能主要字段信息包含:编码、单号、入库日期、鸡舍号、入库类型、经办人、备注等。使用表格形式展示数据信息,方便用户查看和编辑。
鸡蛋生产入库管理设置新增、编辑、删除、条件搜索、查看详情等操作,可按照页面提示进行操作执行,界面结构设计简单,操作流程简洁明了,可提升用户操作体验。
3.2.22、鸡蛋销售出库

鸡蛋销售出库管理功能主要字段信息包含:编码、销售单号、销售日期、销售类型、客户编号、客户名称、经办人、鸡舍号、种类、销售数量、单价、应收金额、实收金额、欠收金额、备注等。使用表格形式展示数据信息,方便用户查看和编辑。
鸡蛋销售出库管理设置新增、编辑、删除、条件搜索、查看详情等操作,可按照页面提示进行操作执行,界面结构设计简单,操作流程简洁明了,可提升用户操作体验。
3.2.23、进鸡成本统计

进鸡成本统计管理功能主要字段信息包含:编码、进鸡日期、品种、应付金额、已付金额、未付金额等。使用表格形式展示数据信息,方便用户查看和编辑。
进鸡成本统计管理设置新增、编辑、删除、条件搜索、查看详情等操作,可按照页面提示进行操作执行,界面结构设计简单,操作流程简洁明了,可提升用户操作体验。
3.2.24、进鸡登记

进鸡登记管理功能主要字段信息包含:编码、批次号、进鸡日期、供商编号、供商名称、品种、数量、单价、应付金额、已付金额、未付金额、成长天数、备注等。使用表格形式展示数据信息,方便用户查看和编辑。
进鸡登记管理设置新增、编辑、删除、条件搜索、查看详情等操作,可按照页面提示进行操作执行,界面结构设计简单,操作流程简洁明了,可提升用户操作体验。
3.2.25、进鸡登记明细

进鸡登记明细管理功能主要字段信息包含:编码、批次号、鸡舍号、存栏量、类别、备注等。使用表格形式展示数据信息,方便用户查看和编辑。
进鸡登记明细管理设置新增、编辑、删除、条件搜索、查看详情等操作,可按照页面提示进行操作执行,界面结构设计简单,操作流程简洁明了,可提升用户操作体验。
3.2.26、鸡舍信息

鸡舍管理功能主要字段信息包含:鸡舍编码、鸡舍号、类别、最大存栏量、位置、描述、状态、备注等。使用表格形式展示数据信息,方便用户查看和编辑。
鸡舍管理设置新增、编辑、删除、条件搜索、查看详情等操作,可按照页面提示进行操作执行,界面结构设计简单,操作流程简洁明了,可提升用户操作体验。
3.2.27、客户欠款汇总

客户欠款汇总管理功能主要字段信息包含:编码、客户编号、客户名称、应收金额、实收金额、欠收金额等。使用表格形式展示数据信息,方便用户查看和编辑。
客户欠款汇总管理设置新增、编辑、删除、条件搜索、查看详情等操作,可按照页面提示进行操作执行,界面结构设计简单,操作流程简洁明了,可提升用户操作体验。
3.2.28、客户信息

客户管理功能主要字段信息包含:客户编码、客户编号、客户名称、类别、联系人、联系电话、传真、开户银行、银行账号、地址、备注等。使用表格形式展示数据信息,方便用户查看和编辑。
客户管理设置新增、编辑、删除、条件搜索、查看详情等操作,可按照页面提示进行操作执行,界面结构设计简单,操作流程简洁明了,可提升用户操作体验。
3.2.29、配方信息

配方管理功能主要字段信息包含:配方编码、配方编号、配方名称、类别、配置规格、总金额、备注等。使用表格形式展示数据信息,方便用户查看和编辑。
配方管理设置新增、编辑、删除、条件搜索、查看详情等操作,可按照页面提示进行操作执行,界面结构设计简单,操作流程简洁明了,可提升用户操作体验。
3.2.30、配方信息明细

配方明细管理功能主要字段信息包含:配方明细编码、配方编号、原料编号、原料名称、配料量、计量单位、单价、金额等。使用表格形式展示数据信息,方便用户查看和编辑。
配方明细管理设置新增、编辑、删除、条件搜索、查看详情等操作,可按照页面提示进行操作执行,界面结构设计简单,操作流程简洁明了,可提升用户操作体验。
3.2.31、期间采购查询

期间采购查询管理功能主要字段信息包含:编码、批次号、进鸡日期、品种、供商名称、鸡舍号、存栏量、类别、备注等。使用表格形式展示数据信息,方便用户查看和编辑。
期间采购查询管理设置新增、编辑、删除、条件搜索、查看详情等操作,可按照页面提示进行操作执行,界面结构设计简单,操作流程简洁明了,可提升用户操作体验。
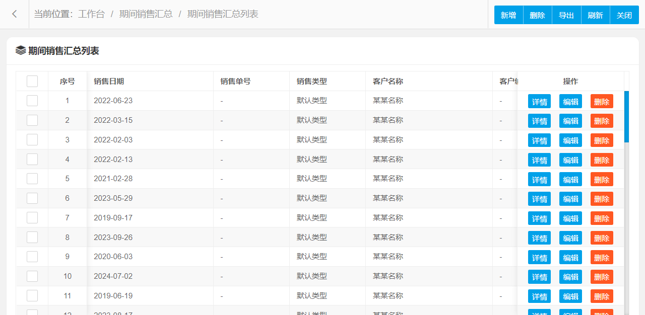
3.2.32、期间销售汇总

期间销售汇总管理功能主要字段信息包含:编码、销售日期、销售单号、销售类型、客户名称、客户编号、鸡舍号、类别、销售数量、总重量、销售单价、金额等。使用表格形式展示数据信息,方便用户查看和编辑。
期间销售汇总管理设置新增、编辑、删除、条件搜索、查看详情等操作,可按照页面提示进行操作执行,界面结构设计简单,操作流程简洁明了,可提升用户操作体验。
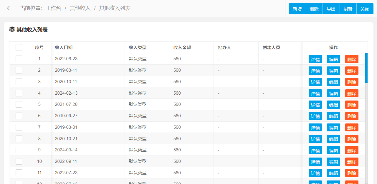
3.2.33、其他收入

其他收入管理功能主要字段信息包含:编码、收入日期、收入类型、收入金额、经办人、备注等。使用表格形式展示数据信息,方便用户查看和编辑。
其他收入管理设置新增、编辑、删除、条件搜索、查看详情等操作,可按照页面提示进行操作执行,界面结构设计简单,操作流程简洁明了,可提升用户操作体验。
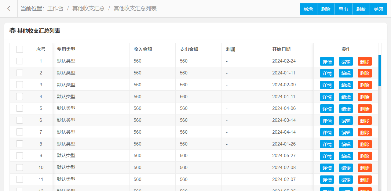
3.2.34、其他收支汇总

其他收支汇总管理功能主要字段信息包含:编码、费用类型、收入金额、支出金额、利润、开始日期、截止日期等。使用表格形式展示数据信息,方便用户查看和编辑。
其他收支汇总管理设置新增、编辑、删除、条件搜索、查看详情等操作,可按照页面提示进行操作执行,界面结构设计简单,操作流程简洁明了,可提升用户操作体验。
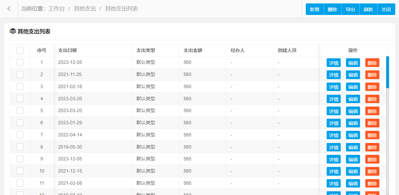
3.2.35、其他支出

其他支出管理功能主要字段信息包含:编码、支出日期、支出类型、支出金额、经办人、备注等。使用表格形式展示数据信息,方便用户查看和编辑。
其他支出管理设置新增、编辑、删除、条件搜索、查看详情等操作,可按照页面提示进行操作执行,界面结构设计简单,操作流程简洁明了,可提升用户操作体验。
3.2.36、日常情况

日常情况管理功能主要字段信息包含:编码、鸡舍名称、批次、日期、饲养员、日龄、存栏鸡数、死亡、淘汰、出售、转入、产蛋枚数、早温度、中温度、晚温度、早湿度、中湿度、晚湿度、防疫记录、用药记录、采食量、消毒、备注等。使用表格形式展示数据信息,方便用户查看和编辑。
日常情况管理设置新增、编辑、删除、条件搜索、查看详情等操作,可按照页面提示进行操作执行,界面结构设计简单,操作流程简洁明了,可提升用户操作体验。
3.2.37、日常情况汇总

日常情况汇总管理功能主要字段信息包含:编码、鸡舍名称、批次、日期、饲养员、日龄、存栏鸡数、死亡、淘汰、出售、转入、产蛋枚数、早温度、中温度、晚温度、早湿度、中湿度、晚湿度、防疫记录、用药记录、采食量、消毒、备注等。使用表格形式展示数据信息,方便用户查看和编辑。
日常情况汇总管理设置新增、编辑、删除、条件搜索、查看详情等操作,可按照页面提示进行操作执行,界面结构设计简单,操作流程简洁明了,可提升用户操作体验。
3.2.38、售鸡登记明细

售鸡登记明细管理功能主要字段信息包含:编码、销售单号、鸡舍号、类别、销售数量、总重量、销售单价、金额等。使用表格形式展示数据信息,方便用户查看和编辑。
售鸡登记明细管理设置新增、编辑、删除、条件搜索、查看详情等操作,可按照页面提示进行操作执行,界面结构设计简单,操作流程简洁明了,可提升用户操作体验。
3.2.39、饲料出库

饲料出库管理功能主要字段信息包含:编码、出库单号、出库日期、出库类型、客户编号、客户名称、经办人、应收金额、已收金额、未收金额、备注等。使用表格形式展示数据信息,方便用户查看和编辑。
饲料出库管理设置新增、编辑、删除、条件搜索、查看详情等操作,可按照页面提示进行操作执行,界面结构设计简单,操作流程简洁明了,可提升用户操作体验。
3.2.40、饲料出库汇总

饲料出库汇总管理功能主要字段信息包含:编码、出库日期、出库单号、出库类型、客户名称、编号、名称、类别、规格、单位、数量、单价、金额等。使用表格形式展示数据信息,方便用户查看和编辑。
饲料出库汇总管理设置新增、编辑、删除、条件搜索、查看详情等操作,可按照页面提示进行操作执行,界面结构设计简单,操作流程简洁明了,可提升用户操作体验。
3.2.41、饲料出库明细

饲料出库明细管理功能主要字段信息包含:编码、出库单号、编号、名称、类别、规格、单位、数量、单价、金额等。使用表格形式展示数据信息,方便用户查看和编辑。
饲料出库明细管理设置新增、编辑、删除、条件搜索、查看详情等操作,可按照页面提示进行操作执行,界面结构设计简单,操作流程简洁明了,可提升用户操作体验。
3.2.42、饲料当前库存

饲料当前库存管理功能主要字段信息包含:编码、编号、名称、类别、规格、单价、计量单位、当前库存、累计入库、累计出库等。使用表格形式展示数据信息,方便用户查看和编辑。
饲料当前库存管理设置新增、编辑、删除、条件搜索、查看详情等操作,可按照页面提示进行操作执行,界面结构设计简单,操作流程简洁明了,可提升用户操作体验。
3.2.43、饲料入库

饲料入库管理功能主要字段信息包含:编码、入库单号、入库日期、入库类型、供商编号、供商名称、经办人、应付金额、已付金额、未付金额、备注等。使用表格形式展示数据信息,方便用户查看和编辑。
饲料入库管理设置新增、编辑、删除、条件搜索、查看详情等操作,可按照页面提示进行操作执行,界面结构设计简单,操作流程简洁明了,可提升用户操作体验。
3.2.44、饲料入库汇总

饲料入库汇总管理功能主要字段信息包含:编码、入库日期、入库单号、入库类型、供商名称、编号、名称、类别、规格、单位、数量、单价、金额等。使用表格形式展示数据信息,方便用户查看和编辑。
饲料入库汇总管理设置新增、编辑、删除、条件搜索、查看详情等操作,可按照页面提示进行操作执行,界面结构设计简单,操作流程简洁明了,可提升用户操作体验。
3.2.45、饲料入库明细

饲料入库明细管理功能主要字段信息包含:编码、入库单号、编号、名称、类别、规格、单位、数量、单价、金额等。使用表格形式展示数据信息,方便用户查看和编辑。
饲料入库明细管理设置新增、编辑、删除、条件搜索、查看详情等操作,可按照页面提示进行操作执行,界面结构设计简单,操作流程简洁明了,可提升用户操作体验。
3.2.46、饲料信息

饲料管理功能主要字段信息包含:饲料编码、编号、名称、类别、规格、计量单位、单价、备注等。使用表格形式展示数据信息,方便用户查看和编辑。
饲料管理设置新增、编辑、删除、条件搜索、查看详情等操作,可按照页面提示进行操作执行,界面结构设计简单,操作流程简洁明了,可提升用户操作体验。
3.2.47、死亡记录

死亡记录管理功能主要字段信息包含:编码、鸡舍名称、类别、日期、死亡数量、死亡原因、备注、登记人等。使用表格形式展示数据信息,方便用户查看和编辑。
死亡记录管理设置新增、编辑、删除、条件搜索、查看详情等操作,可按照页面提示进行操作执行,界面结构设计简单,操作流程简洁明了,可提升用户操作体验。
3.2.48、死亡记录汇总

死亡记录汇总管理功能主要字段信息包含:编码、鸡舍名称、类别、日期、死亡数量、死亡原因、备注、登记人等。使用表格形式展示数据信息,方便用户查看和编辑。
死亡记录汇总管理设置新增、编辑、删除、条件搜索、查看详情等操作,可按照页面提示进行操作执行,界面结构设计简单,操作流程简洁明了,可提升用户操作体验。
3.2.49、饲养记录

饲养记录管理功能主要字段信息包含:编码、鸡舍名称、类别、日期、饲料名称、编号、规格、喂养量、计量单位、单价、金额、饲养员、备注等。使用表格形式展示数据信息,方便用户查看和编辑。
饲养记录管理设置新增、编辑、删除、条件搜索、查看详情等操作,可按照页面提示进行操作执行,界面结构设计简单,操作流程简洁明了,可提升用户操作体验。
3.2.50、饲养记录汇总

饲养记录汇总管理功能主要字段信息包含:编码、鸡舍名称、类别、日期、饲料名称、编号、规格、喂养量、计量单位、单价、金额、饲养员、备注等。使用表格形式展示数据信息,方便用户查看和编辑。
饲养记录汇总管理设置新增、编辑、删除、条件搜索、查看详情等操作,可按照页面提示进行操作执行,界面结构设计简单,操作流程简洁明了,可提升用户操作体验。
3.2.51、喂药记录

喂药记录管理功能主要字段信息包含:编码、鸡舍名称、类别、日期、药品名称、编号、规格、用药量、计量单位、单价、金额、饲养员、备注等。使用表格形式展示数据信息,方便用户查看和编辑。
喂药记录管理设置新增、编辑、删除、条件搜索、查看详情等操作,可按照页面提示进行操作执行,界面结构设计简单,操作流程简洁明了,可提升用户操作体验。
3.2.52、喂药记录汇总

喂药记录汇总管理功能主要字段信息包含:编码、鸡舍名称、类别、日期、药品名称、编号、规格、用药量、计量单位、单价、金额、饲养员、备注等。使用表格形式展示数据信息,方便用户查看和编辑。
喂药记录汇总管理设置新增、编辑、删除、条件搜索、查看详情等操作,可按照页面提示进行操作执行,界面结构设计简单,操作流程简洁明了,可提升用户操作体验。
3.2.53、销售登记

销售登记管理功能主要字段信息包含:编码、销售单号、销售日期、销售类型、客户编号、客户名称、经办人、应收金额、实收金额、欠收金额、备注等。使用表格形式展示数据信息,方便用户查看和编辑。
销售登记管理设置新增、编辑、删除、条件搜索、查看详情等操作,可按照页面提示进行操作执行,界面结构设计简单,操作流程简洁明了,可提升用户操作体验。
3.2.54、药品出库

药品出库管理功能主要字段信息包含:编码、出库单号、出库日期、出库类型、客户编号、客户名称、经办人、应收金额、已收金额、未收金额、备注等。使用表格形式展示数据信息,方便用户查看和编辑。
药品出库管理设置新增、编辑、删除、条件搜索、查看详情等操作,可按照页面提示进行操作执行,界面结构设计简单,操作流程简洁明了,可提升用户操作体验。
3.2.55、药品出库汇总

药品出库汇总管理功能主要字段信息包含:编码、出库日期、出库单号、出库类型、客户名称、编号、名称、类别、规格、单位、数量、单价、金额等。使用表格形式展示数据信息,方便用户查看和编辑。
药品出库汇总管理设置新增、编辑、删除、条件搜索、查看详情等操作,可按照页面提示进行操作执行,界面结构设计简单,操作流程简洁明了,可提升用户操作体验。
3.2.56、药品出库明细

药品出库明细管理功能主要字段信息包含:编码、出库单号、编号、名称、类别、规格、单位、数量、单价、金额等。使用表格形式展示数据信息,方便用户查看和编辑。
药品出库明细管理设置新增、编辑、删除、条件搜索、查看详情等操作,可按照页面提示进行操作执行,界面结构设计简单,操作流程简洁明了,可提升用户操作体验。
3.2.57、药品当前库存

药品当前库存管理功能主要字段信息包含:编码、编号、名称、类别、规格、单价、计量单位、当前库存、累计入库、累计出库、批准文号、生产厂家等。使用表格形式展示数据信息,方便用户查看和编辑。
药品当前库存管理设置新增、编辑、删除、条件搜索、查看详情等操作,可按照页面提示进行操作执行,界面结构设计简单,操作流程简洁明了,可提升用户操作体验。
3.2.58、药品入库

药品入库管理功能主要字段信息包含:编码、入库单号、入库日期、入库类型、供商编号、供商名称、经办人、应付金额、已付金额、未付金额、备注等。使用表格形式展示数据信息,方便用户查看和编辑。
药品入库管理设置新增、编辑、删除、条件搜索、查看详情等操作,可按照页面提示进行操作执行,界面结构设计简单,操作流程简洁明了,可提升用户操作体验。
3.2.59、药品入库汇总

药品入库汇总管理功能主要字段信息包含:编码、入库日期、入库单号、入库类型、供商名称、编号、名称、类别、规格、单位、数量、单价、金额、失效日期、备注等。使用表格形式展示数据信息,方便用户查看和编辑。
药品入库汇总管理设置新增、编辑、删除、条件搜索、查看详情等操作,可按照页面提示进行操作执行,界面结构设计简单,操作流程简洁明了,可提升用户操作体验。
3.2.60、药品入库明细

药品入库明细管理功能主要字段信息包含:编码、入库单号、编号、名称、类别、规格、单位、数量、单价、金额、失效日期、备注等。使用表格形式展示数据信息,方便用户查看和编辑。
药品入库明细管理设置新增、编辑、删除、条件搜索、查看详情等操作,可按照页面提示进行操作执行,界面结构设计简单,操作流程简洁明了,可提升用户操作体验。
3.2.61、药品失效提醒

药品失效提醒管理功能主要字段信息包含:编码、失效日期、入库单号、入库日期、入库类型、供商名称、编号、名称、类别、规格、单位、数量、单价、金额、备注等。使用表格形式展示数据信息,方便用户查看和编辑。
药品失效提醒管理设置新增、编辑、删除、条件搜索、查看详情等操作,可按照页面提示进行操作执行,界面结构设计简单,操作流程简洁明了,可提升用户操作体验。
3.2.62、药品信息

药品管理功能主要字段信息包含:药品编码、编号、名称、类别、规格、计量单位、单价、批准文号、用法用量、主要用途、生产厂家、备注等。使用表格形式展示数据信息,方便用户查看和编辑。
药品管理设置新增、编辑、删除、条件搜索、查看详情等操作,可按照页面提示进行操作执行,界面结构设计简单,操作流程简洁明了,可提升用户操作体验。
3.2.63、员工信息

员工管理功能主要字段信息包含:员工编码、编号、姓名、性别、联系方式、职务、负责鸡舍、入职日期、在职状态、备注等。使用表格形式展示数据信息,方便用户查看和编辑。
员工管理设置新增、编辑、删除、条件搜索、查看详情等操作,可按照页面提示进行操作执行,界面结构设计简单,操作流程简洁明了,可提升用户操作体验。
3.2.64、原料出库

原料出库管理功能主要字段信息包含:编码、出库单号、出库日期、出库类型、客户编号、客户名称、经办人、应收金额、已收金额、未收金额、备注等。使用表格形式展示数据信息,方便用户查看和编辑。
原料出库管理设置新增、编辑、删除、条件搜索、查看详情等操作,可按照页面提示进行操作执行,界面结构设计简单,操作流程简洁明了,可提升用户操作体验。
3.2.65、原料出库汇总

原料出库汇总管理功能主要字段信息包含:编码、出库日期、出库单号、出库类型、客户名称、编号、名称、类别、规格、单位、数量、单价、金额等。使用表格形式展示数据信息,方便用户查看和编辑。
原料出库汇总管理设置新增、编辑、删除、条件搜索、查看详情等操作,可按照页面提示进行操作执行,界面结构设计简单,操作流程简洁明了,可提升用户操作体验。
3.2.66、原料出库明细

原料出库明细管理功能主要字段信息包含:编码、出库单号、编号、名称、类别、规格、单位、数量、单价、金额等。使用表格形式展示数据信息,方便用户查看和编辑。
原料出库明细管理设置新增、编辑、删除、条件搜索、查看详情等操作,可按照页面提示进行操作执行,界面结构设计简单,操作流程简洁明了,可提升用户操作体验。
3.2.67、原料当前库存

原料当前库存管理功能主要字段信息包含:编码、编号、名称、类别、规格、单价、计量单位、当前库存、累计入库、累计出库等。使用表格形式展示数据信息,方便用户查看和编辑。
原料当前库存管理设置新增、编辑、删除、条件搜索、查看详情等操作,可按照页面提示进行操作执行,界面结构设计简单,操作流程简洁明了,可提升用户操作体验。
3.2.68、原料入库

原料入库管理功能主要字段信息包含:编码、入库单号、入库日期、入库类型、供商编号、供商名称、经办人、应付金额、已付金额、未付金额、备注等。使用表格形式展示数据信息,方便用户查看和编辑。
原料入库管理设置新增、编辑、删除、条件搜索、查看详情等操作,可按照页面提示进行操作执行,界面结构设计简单,操作流程简洁明了,可提升用户操作体验。
3.2.69、原料入库汇总

原料入库汇总管理功能主要字段信息包含:编码、入库日期、入库单号、入库类型、供商名称、编号、名称、类别、规格、单位、数量、单价、金额等。使用表格形式展示数据信息,方便用户查看和编辑。
原料入库汇总管理设置新增、编辑、删除、条件搜索、查看详情等操作,可按照页面提示进行操作执行,界面结构设计简单,操作流程简洁明了,可提升用户操作体验。
3.2.70、原料入库明细

原料入库明细管理功能主要字段信息包含:编码、入库单号、编号、名称、类别、规格、单位、数量、单价、金额等。使用表格形式展示数据信息,方便用户查看和编辑。
原料入库明细管理设置新增、编辑、删除、条件搜索、查看详情等操作,可按照页面提示进行操作执行,界面结构设计简单,操作流程简洁明了,可提升用户操作体验。
3.2.71、原料信息

原料管理功能主要字段信息包含:原料编码、编号、名称、类别、规格、计量单位、单价、备注等。使用表格形式展示数据信息,方便用户查看和编辑。
原料管理设置新增、编辑、删除、条件搜索、查看详情等操作,可按照页面提示进行操作执行,界面结构设计简单,操作流程简洁明了,可提升用户操作体验。





















暂无评论内容