
导读:本文将从养老服务监控智慧管理系统的开发目的、开发背景、目标用户、系统设计、系统架构、主要功能模块等方面进行分析,软件主要功能包括:安全监控管理、财务管理、床位管理、工作流程管理、环境卫生管理、健康检测、健身活动管理、家属关怀管理、老人信息管理、社交活动管理、物品管理、物业维修管理、行程安排、心理健康管理、医疗服务管理、饮食管理、用电量管理、用户管理、用水量管理、职工管理,全文约5726字,看完需要11分钟左右。感谢阅读,如有建议和意见欢迎评论交流。
一、引言
1.1、开发目的和背景

随着社会老龄化的加剧,养老服务的需求日益增长,传统的养老模式已经无法满足现代老年人多元化、个性化的服务需求。在此背景下,我们开发了这款”养老服务监控智慧管理系统”,旨在通过科技的力量,提升养老服务的质量和效率,为老年人创造一个更加舒适、安全、便捷的生活环境。
首先,安全监控管理模块确保了老人的生活安全,通过实时视频监控和智能报警系统,预防并及时处理潜在的安全风险。财务管理模块则实现了对养老机构资金的精确管理和透明化,保障财务健康运行。床位管理和工作流程管理则提高了运营效率,使得资源分配更加合理。
健康检测、环境卫生、心理健康等模块已关注老人的身体健康和精神状态,提供全方位的健康管理服务。社交活动和物品管理则注重提升老人的社交生活品质,减少孤独感。同时,物业服务管理、饮食管理以及水电用量管理,从日常生活的各个方面,保证了服务的细致入微。
用户管理和职工管理模块则确保了系统的高效运行,便于管理人员对各项数据进行追踪和分析,及时调整服务策略。而医疗服务管理和用电用水管理则是对紧急医疗情况和设施维护的重要支持。
总的来说,我们的目标是借助先进的信息技术,打造一个集智能化、个性化于一体的养老服务平台,以实现养老服务的现代化、标准化和人性化,真正让老年人享受到科技带来的便利,提升他们的生活质量,是我们研发此系统的初衷。
1.2、软件的目标用户

《养老服务监控智慧管理系统》应用说明书
养老服务监控智慧管理系统是一款专为养老机构设计的智能化管理平台,旨在通过科技手段提升养老服务的质量与效率。在现实生活中,它可以应用于各种规模的养老院、老年公寓或者社区养老服务中心。例如,当安全监控模块启动,摄像头会实时监控老人的生活区域,一旦发现异常如跌倒、走失等,系统会立即报警并通知相关人员;财务管理模块则用于精确记录和分析各项费用,确保资金使用透明化;健康检测部分配合智能设备,能定期监测老人的生理指标,提供健康管理建议。
我们的目标用户主要包括以下几个群体:1)养老机构管理者,他们可以通过系统全面掌握运营状况,进行有效决策;2)护理人员,该系统提供便捷的工作流程管理,提高工作效率;3)家属,通过家属关怀管理模块,可以实时了解老人在机构的生活情况,增强互信;4)社区工作人员,对于需要居家养老服务的老年人,可以通过远程监控和物品管理功能,提供必要的支持。
此外,医生、营养师、心理咨询师等专业人员也可通过相关模块,进行线上咨询和数据分析,实现养老服务的多元化、专业化。总的来说,养老服务监控智慧管理系统是连接养老机构、工作人员、家属和专业人士的一体化解决方案,旨在构建一个安全、舒适、便捷的数字化养老环境。
二、软件总体设计
2.1、系统概述

养老服务监控智慧管理系统是一款专为养老机构设计的全方位信息化管理平台,采用先进的Java技术,结合SpringMVC框架构建,确保了系统的稳定性和高效性。其核心功能涵盖了养老服务的多个关键领域:
1. 安全监控管理:通过智能摄像头实时监控老人生活区域,确保老人安全。
2. 财务管理:精确记录和管理财务收支,实现透明化资金操作。
3. 床位管理:电子化床铺预定与分配,便于快速查询和调整。
4. 工作流程管理:规范服务流程,提升员工工作效率。
5. 环境卫生管理:记录清洁记录,提醒定期维护,保证生活环境整洁。
6. 健康检测与健康管理:集成健康监测设备,跟踪老人身体状况,提供预警。
7. 社交与活动管理:组织多样化的活动,促进老人社交,丰富他们的生活。
8. 家属关怀管理:方便家属了解老人动态,增强沟通桥梁。
9. 老人信息管理:存储并保护每位老人的详细个人信息资料。
10. 物业维修与设施管理:自动化报修流程,及时处理设施问题。
此外,系统还已关注老年人的心理健康、医疗服务、饮食营养、水电用量等细节,充分体现了以人为本的服务理念。用户管理和职工管理模块则确保了权限控制和角色分工,使得整个运营过程更为有序。总之,养老服务监控智慧管理系统是一个全面、便捷、智能的养老管理解决方案。
2.2、系统架构

养老服务监控智慧管理系统是一款以用户为中心,集多种管理模块于一体的综合性智能化解决方案。该系统基于先进的B/S架构设计,即Browser/Server(浏览器/服务器)架构,充分利用互联网的优势,使得用户无论在任何地方,只要有网络连接,即可实时访问和操作系统。
核心开发技术选用Java和Spring MVC框架,Java作为后端开发的主要语言,以其强大的跨平台能力、丰富的类库和高度的可扩展性,确保了系统的稳定性和高性能。Spring MVC则提供了一种模型-视图-控制器(Model-View-Controller,MVC)的解耦设计模式,使得代码结构清晰,维护性优良,同时支持高效的业务逻辑处理。
系统架构主要包括以下几个部分:
1. 前端界面:采用HTML、CSS和JavaScript构建,提供直观、易用的图形化用户界面,用户可以方便地进行各项服务的操作和查询。
2. 业务逻辑层:由Spring MVC框架负责,处理来自前端的请求,调用数据访问层进行数据处理,并返回响应给前端。
3. 数据访问层:使用Java JDBC或JPA(Java Persistence API)与数据库交互,实现对各项业务数据的增删改查操作,我们选择了关系型数据库如MySQL或Oracle来存储数据。
4. 安全性模块:包含用户身份验证和授权机制,采用HTTPS协议保证数据传输的安全,同时有严格的权限控制,确保用户只能访问和操作他们被授权的内容。
5. 服务层:整合各种业务功能模块,如安全管理、财务管理等,将底层逻辑抽象,方便模块间的协调与集成。
6. 数据仓库与报告:对大量历史数据进行分析,生成报表,供决策者参考,如老人的健康状况趋势、财务收支情况等。
综上所述,养老服务监控智慧管理系统以用户友好、高效管理为目标,借助先进的技术架构,实现了养老服务的全方位智能化,旨在提升养老服务质量,满足多维度的管理和监管需求。
三、软件功能操作
3.1、系统登录
在浏览器中输入系统网址,打开登录界面后输入登录账号、登录密码、验证码即可登录。

3.2、工作台
工作台包含:安全监控管理、财务管理、床位管理、工作流程管理、环境卫生管理、健康检测、健身活动管理、家属关怀管理、老人信息管理、社交活动管理、物品管理、物业维修管理、行程安排、心理健康管理、医疗服务管理、饮食管理、用电量管理、用户管理、用水量管理、职工管理,根据不同角色权限菜单展示会有所区别。
3.2.1、安全监控管理

管理功能主要字段信息包含:管理编码、监控点名称、监控时间、监控录像、报警记录、报警处理记录等。使用表格形式展示数据信息,方便用户查看和编辑。
管理设置新增、编辑、删除、条件搜索、查看详情等操作,可按照页面提示进行操作执行,界面结构设计简单,操作流程简洁明了,可提升用户操作体验。
3.2.2、财务管理

管理功能主要字段信息包含:管理编码、账单编号、费用类型、金额、缴费时间、缴费方式、备注等。使用表格形式展示数据信息,方便用户查看和编辑。
管理设置新增、编辑、删除、条件搜索、查看详情等操作,可按照页面提示进行操作执行,界面结构设计简单,操作流程简洁明了,可提升用户操作体验。
3.2.3、床位管理

管理功能主要字段信息包含:管理编码、床位编号、占用情况、入住老人姓名、进出日期、备注等。使用表格形式展示数据信息,方便用户查看和编辑。
管理设置新增、编辑、删除、条件搜索、查看详情等操作,可按照页面提示进行操作执行,界面结构设计简单,操作流程简洁明了,可提升用户操作体验。
3.2.4、工作流程管理

管理功能主要字段信息包含:管理编码、任务名称、任务分配人、任务接收人、任务开始时间、任务截止时间、任务状态、备注等。使用表格形式展示数据信息,方便用户查看和编辑。
管理设置新增、编辑、删除、条件搜索、查看详情等操作,可按照页面提示进行操作执行,界面结构设计简单,操作流程简洁明了,可提升用户操作体验。
3.2.5、环境卫生管理

管理功能主要字段信息包含:管理编码、卫生评估结果、清洁记录、消毒记录、垃圾清理记录、环境检测记录、备注等。使用表格形式展示数据信息,方便用户查看和编辑。
管理设置新增、编辑、删除、条件搜索、查看详情等操作,可按照页面提示进行操作执行,界面结构设计简单,操作流程简洁明了,可提升用户操作体验。
3.2.6、健康检测

健康检测管理功能主要字段信息包含:编码、身高、体重、血压、血糖、体温、心率、备注等。使用表格形式展示数据信息,方便用户查看和编辑。
健康检测管理设置新增、编辑、删除、条件搜索、查看详情等操作,可按照页面提示进行操作执行,界面结构设计简单,操作流程简洁明了,可提升用户操作体验。
3.2.7、健身活动管理

管理功能主要字段信息包含:管理编码、活动名称、活动时间、活动地点、参加人员、活动评价等。使用表格形式展示数据信息,方便用户查看和编辑。
管理设置新增、编辑、删除、条件搜索、查看详情等操作,可按照页面提示进行操作执行,界面结构设计简单,操作流程简洁明了,可提升用户操作体验。
3.2.8、家属关怀管理

管理功能主要字段信息包含:管理编码、家属姓名、联系方式、关系、关怀内容、关怀时间、备注等。使用表格形式展示数据信息,方便用户查看和编辑。
管理设置新增、编辑、删除、条件搜索、查看详情等操作,可按照页面提示进行操作执行,界面结构设计简单,操作流程简洁明了,可提升用户操作体验。
3.2.9、老人信息管理

老人管理功能主要字段信息包含:老人管理编码、姓名、性别、出生日期、身份证号码、居住地址、健康状况、疾病史、过敏史、常用药物、联系电话、紧急联系人、紧急联系电话、入住时间、服务评价等。使用表格形式展示数据信息,方便用户查看和编辑。
老人管理设置新增、编辑、删除、条件搜索、查看详情等操作,可按照页面提示进行操作执行,界面结构设计简单,操作流程简洁明了,可提升用户操作体验。
3.2.10、社交活动管理

管理功能主要字段信息包含:管理编码、活动名称、活动时间、活动地点、活动内容、参加人员、评价等。使用表格形式展示数据信息,方便用户查看和编辑。
管理设置新增、编辑、删除、条件搜索、查看详情等操作,可按照页面提示进行操作执行,界面结构设计简单,操作流程简洁明了,可提升用户操作体验。
3.2.11、物品管理

管理功能主要字段信息包含:管理编码、物品名称、数量、存放位置、领取人、领取时间、归还时间、备注等。使用表格形式展示数据信息,方便用户查看和编辑。
管理设置新增、编辑、删除、条件搜索、查看详情等操作,可按照页面提示进行操作执行,界面结构设计简单,操作流程简洁明了,可提升用户操作体验。
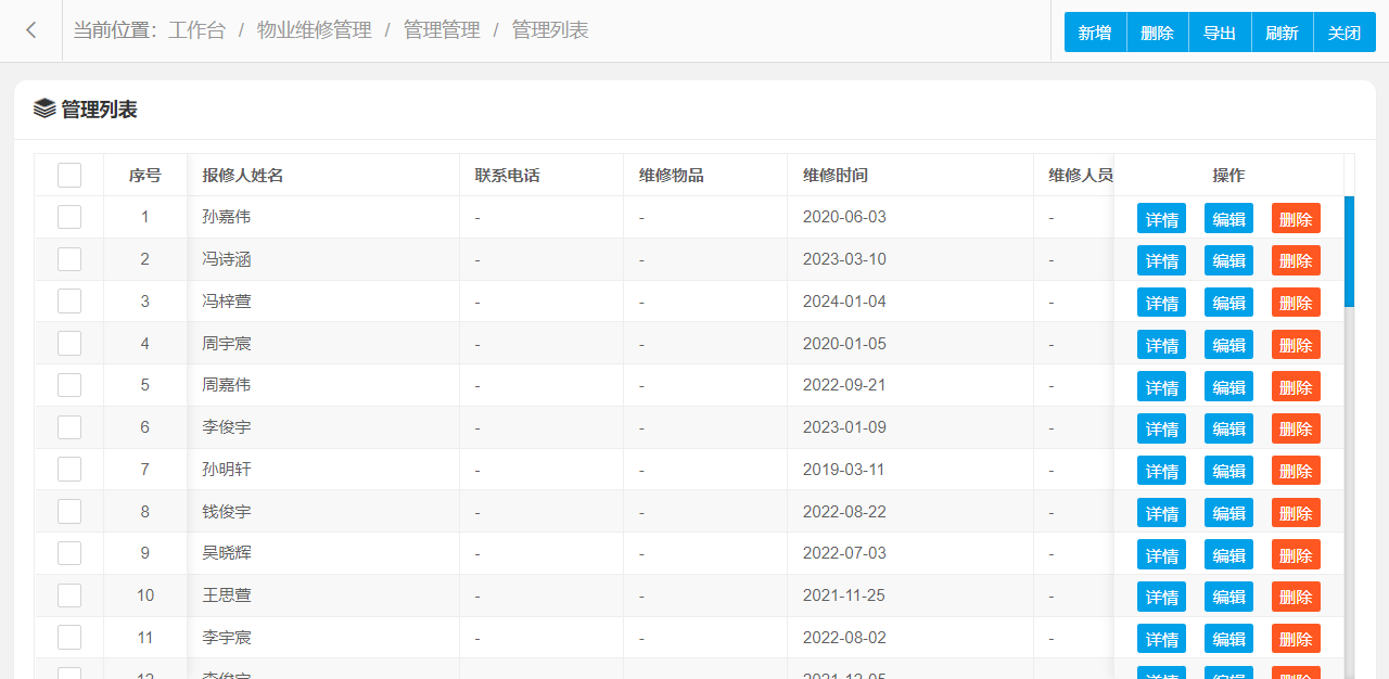
3.2.12、物业维修管理

管理功能主要字段信息包含:管理编码、报修人姓名、联系电话、维修物品、维修时间、维修人员、维修费用、维修评价等。使用表格形式展示数据信息,方便用户查看和编辑。
管理设置新增、编辑、删除、条件搜索、查看详情等操作,可按照页面提示进行操作执行,界面结构设计简单,操作流程简洁明了,可提升用户操作体验。
3.2.13、行程安排

行程安排管理功能主要字段信息包含:编码、日期、时间、地点、联系人、联系电话、备注等。使用表格形式展示数据信息,方便用户查看和编辑。
行程安排管理设置新增、编辑、删除、条件搜索、查看详情等操作,可按照页面提示进行操作执行,界面结构设计简单,操作流程简洁明了,可提升用户操作体验。
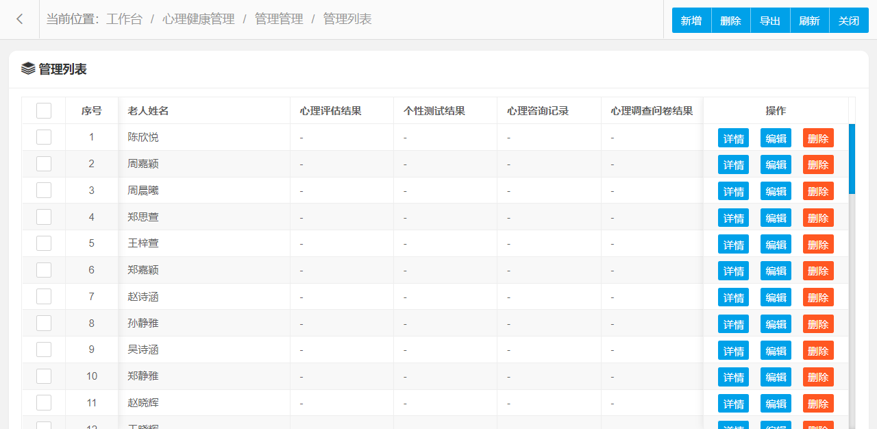
3.2.14、心理健康管理

管理功能主要字段信息包含:管理编码、老人姓名、心理评估结果、个性测试结果、心理咨询记录、心理调查问卷结果等。使用表格形式展示数据信息,方便用户查看和编辑。
管理设置新增、编辑、删除、条件搜索、查看详情等操作,可按照页面提示进行操作执行,界面结构设计简单,操作流程简洁明了,可提升用户操作体验。
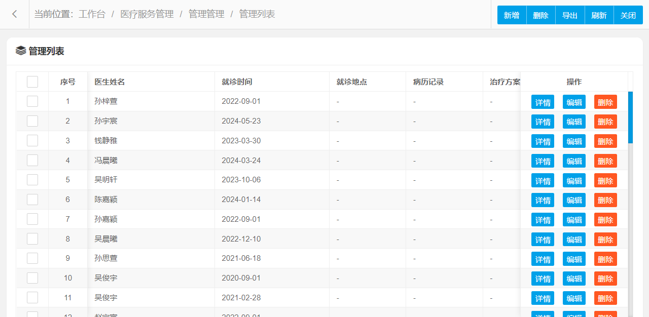
3.2.15、医疗服务管理

管理功能主要字段信息包含:管理编码、医生姓名、就诊时间、就诊地点、病历记录、治疗方案、药物处方、费用等。使用表格形式展示数据信息,方便用户查看和编辑。
管理设置新增、编辑、删除、条件搜索、查看详情等操作,可按照页面提示进行操作执行,界面结构设计简单,操作流程简洁明了,可提升用户操作体验。
3.2.16、饮食管理

管理功能主要字段信息包含:管理编码、菜品名称、食材、营养成分、价格、备注等。使用表格形式展示数据信息,方便用户查看和编辑。
管理设置新增、编辑、删除、条件搜索、查看详情等操作,可按照页面提示进行操作执行,界面结构设计简单,操作流程简洁明了,可提升用户操作体验。
3.2.17、用电量管理

管理功能主要字段信息包含:管理编码、用电量记录、费用记录、备注等。使用表格形式展示数据信息,方便用户查看和编辑。
管理设置新增、编辑、删除、条件搜索、查看详情等操作,可按照页面提示进行操作执行,界面结构设计简单,操作流程简洁明了,可提升用户操作体验。
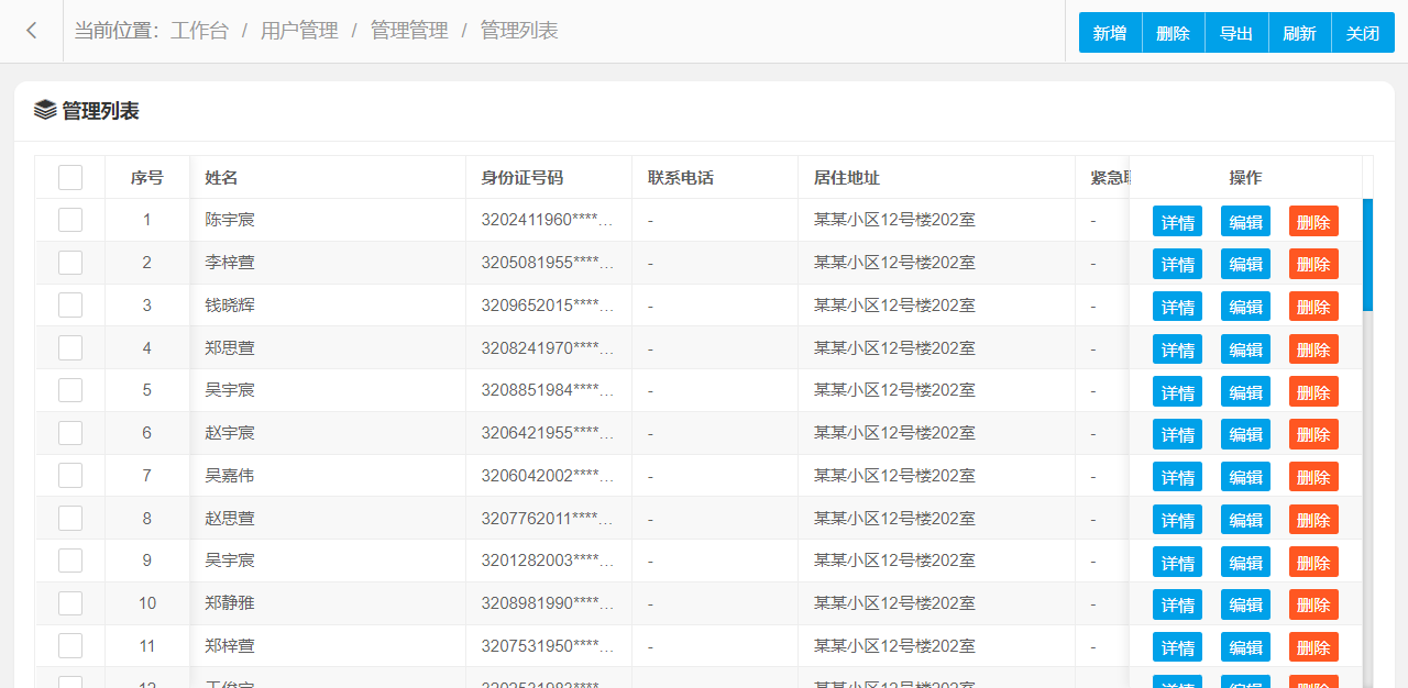
3.2.18、用户管理

管理功能主要字段信息包含:管理编码、姓名、身份证号码、联系电话、居住地址、紧急联系人、紧急联系电话、入住时间、服务评价等。使用表格形式展示数据信息,方便用户查看和编辑。
管理设置新增、编辑、删除、条件搜索、查看详情等操作,可按照页面提示进行操作执行,界面结构设计简单,操作流程简洁明了,可提升用户操作体验。
3.2.19、用水量管理

管理功能主要字段信息包含:管理编码、用水量记录、费用记录、备注等。使用表格形式展示数据信息,方便用户查看和编辑。
管理设置新增、编辑、删除、条件搜索、查看详情等操作,可按照页面提示进行操作执行,界面结构设计简单,操作流程简洁明了,可提升用户操作体验。
3.2.20、职工管理

管理功能主要字段信息包含:管理编码、姓名、性别、联系电话、职务、入职时间、工资、服务评价等。使用表格形式展示数据信息,方便用户查看和编辑。
管理设置新增、编辑、删除、条件搜索、查看详情等操作,可按照页面提示进行操作执行,界面结构设计简单,操作流程简洁明了,可提升用户操作体验。



















暂无评论内容